Zum Hauptinhalt springen Zur Suche springen Zur Hauptnavigation springen
Menü
efr
erf
rrrf
Schnell lieferbar
14 Tage Rückgaberecht
Schneller DPD Versand

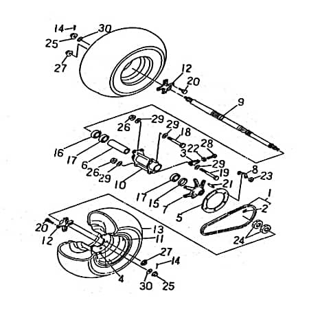
zu Artikel: Sechskantschraube 99597

Technik-Info

Sechskantschraube

Sechskantschraube, Sechskantschraube 96210-08055 B BOLT

Die Marke Rex ist eine der meistverkauften in Deutschland. Durch ständige Qualitätskontrollen vorort beim Hersteller ist ein hoher Standard gewährleistet.

Kostenloser Versand   Bei Ersatzteilen für jeden zusätzlichen Artikel mit den gleichen Versandkriterien, den Sie von uns kaufen.

Unsere Ersatzteile für ihren Roller bzw. Scooter oder auch Motorroller können Sie bequem online in unserem Shop kaufen. Egal ob sie Ihren Roller im Kaufhaus oder im Baumarkt gekauft haben, für alle gängigen Europa-, Taiwan-, oder China-Roller finden Sie bei uns passende Bauteile, insbesondere für die Motoren 50 cc, 125 cc, 250 ccm, 4takt, 2takt und für größere Leistungen. Speziell für die Motorentypen 125-4T6M ,1E40QMB, 1E40QMA ,152QMI, 157QMI ,150QMG ,164FML ,139QMB, 139QMA, JSD139QMB , GY6 ,139FMB ,153FMI, 156FMI ,157QMJ, 158MJ in kurzen und langen Versionen in den Normen Euro1, Euro2, Euro3 sowie die neuen Euro 4 Einspritzer-Motoren finden Sie Ersatzteile von hoher Qualität. Gerne können Sie auch per Email nach Ersatzteilen anfragen. Bei Bestellwerten über 100 Euro können Sie auch unseren Ratenkauf- bzw. Finanzierungs-Service nutzen. Beim Kauf von Fahrzeugen können wir Ihnen auch ein Leasing-Angebot unterbreiten, das bietet sich insbesondere für Firmen an, die Betriebsfahrzeuge anschaffen, oder ihren Mitarbeitern ein Fahrzeug zur Verfügung stellen. Wir freuen uns auf Ihre Anfrage.

Baugruppe: Rahmen

Ersatzteil: Lenker

Artikelposition in Explosionszeichnung: 28

Motorroller bequem online kaufen – von der Bestellung bis zur Lieferung


Mobiler Home Service – Bundesweit Inspektionen und Reparaturen


Motorroller.de – Über uns – Ihr Support vom Profi seit 1993

Ihr Finanzierungsplan**
Monate Rate mtl. Gesamt
6039,67 €2.380,49 €
12157,59 €1.891,14 €

Einfach im Bestellvorgang die Expokredit-Finanzierung als Zahlungsweise auswählen ...

  • Barossa Cheetah 250
  • Kreidler Mustang 170
  • Kreidler Mustang 200
  • Kreidler Mustang 250
  • Kreidler Mustang 50
  • Rex Quad 150
  • Rex Quad 250
  • Rex Quad 50
  • SMC STM Mustang 50
  • SMC STM Quad 150
  • SMC STM Quad 170
  • SMC STM Quad 200
  • SMC STM Quad 250
  • SMC STM Quad Aspen 50 mit Rückwärtsgang
  • SMC STM REX Quad 50
Produktgalerie überspringen

Kunden haben sich ebenfalls angesehen

Rabatt
Gummidichtung 7,5x13x1,2 mm Motorroller Kreidler Rex 704568
Gummidichtung 7,5x13x1,2 mm Motorroller Kreidler Rex 704568

zu Artikel: Gummidichtung 7,5x13x1,2 mm 704568 Technik-Info Gummidichtung Gummidichtung, Dichtung Gummi, Gummiabdichtung, Dichtung Kostenloser Versand   Bei Ersatzteilen für jeden zusätzlichen Artikel mit den gleichen Versandkriterien, den Sie von uns kaufen. Sie können unsere Ersatzteile für ihren Roller bzw. Motorroller oder auch Scooter bequem online in unserem Shop kaufen. Egal ob Kaufhaus-Roller oder im Baumarkt-Roller, für alle gängigen Europa-, China-, oder Taiwan-Roller finden Sie bei uns passende Bauteile. Speziell für die Motoren 50 cc, 125 cc, 250 ccm, 2takt, 4takt und für größere Leistungen. Speziell für die Motorentypen 139QMB, 139QMA, 1E40QMB, 152QMI, 157QMI, GY6, 125-4T6M, 139FMB, 153FMI, 156FMI, 157QMJ, 158MJ, 164FML, 1E40QMA, JSD139QMB, 150QMG in kurzen und langen Versionen in den Normen Euro1, Euro2, Euro3 sowie die neuen Euro 4 Einspritzer-Motoren finden Sie qualitativ hochwertige Ersatzteile. Gerne können Sie auch per Email nach Ersatzteilen anfragen. Ab Bestellwerten über 100 Euro bieten wir Ihnen unseren Finanzierungs- bzw. Ratenkauf-Service an. Beim Kauf von Fahrzeugen besteht die Möglichkeit der Finanzierung oder des Leasings. Speziell für Firmen, die Betriebsfahrzeuge anschaffen, oder ihren Mitarbeitern ein Fahrzeug zur Verfügung stellen, ist die eine interessante Alternative.

Verkaufspreis:
Nicht verfügbar
1,90 € Regulärer Preis: 2,19 €
Rabatt
Unterlegscheibe U-Scheibe Vergaser Motorroller 89323
Unterlegscheibe U-Scheibe Vergaser Motorroller 89323

zu Artikel: Unterlegscheibe 89323 Technik-InfoUnterlegscheibeZwischenscheibe, Distanzscheibe, Beilagscheibe, U-Scheibe, Unterlegscheibe, Distanz-Scheibe, Ausgleichsscheibe, Beilegscheibe, Unterlagscheibe, Washer, Distanzhalter Unterlegscheiben werden verwendet, um die Kraft des Schraubenkopfes einer Schraube oder Mutter auf eine größere Fläche zu verteilen. Sie finden aber auch Verwendung als Distanz- oder Abstands-Scheibe.Die Marke Rex ist eine der meistverkauften in Deutschland. Durch ständige Qualitätskontrollen vorort beim Hersteller ist ein hoher Standard gewährleistet.Kostenloser Versand   Bei Ersatzteilen für jeden zusätzlichen Artikel mit den gleichen Versandkriterien, den Sie von uns kaufen. Sie können unsere Ersatzteile für ihren Roller bzw. Motorroller oder auch Scooter bequem online in unserem Shop kaufen. Egal ob Kaufhaus-Roller oder im Baumarkt-Roller, für alle gängigen Europa-, China-, oder Taiwan-Roller finden Sie bei uns passende Bauteile. Speziell für die Motoren 50 cc, 125 cc, 250 ccm, 2takt, 4takt und für größere Leistungen. Speziell für die Motorentypen 139QMB, 139QMA, 1E40QMB, 152QMI, 157QMI, GY6, 125-4T6M, 139FMB, 153FMI, 156FMI, 157QMJ, 158MJ, 164FML, 1E40QMA, JSD139QMB, 150QMG in kurzen und langen Versionen in den Normen Euro1, Euro2, Euro3 sowie die neuen Euro 4 Einspritzer-Motoren finden Sie qualitativ hochwertige Ersatzteile. Gerne können Sie auch per Email nach Ersatzteilen anfragen. Ab Bestellwerten über 100 Euro bieten wir Ihnen unseren Finanzierungs- bzw. Ratenkauf-Service an. Beim Kauf von Fahrzeugen besteht die Möglichkeit der Finanzierung oder des Leasings. Speziell für Firmen, die Betriebsfahrzeuge anschaffen, oder ihren Mitarbeitern ein Fahrzeug zur Verfügung stellen, ist die eine interessante Alternative.

Verkaufspreis:
Nicht verfügbar
2,59 € Regulärer Preis: 2,98 €
Rabatt
Kronenmutter Rex Quad 150 Sicherungsmutter ATV 150ccm 4Takt Motorroller.de Sicherheitsmutter Kronensicherungsmutter 150ccm-4Takt UTV Ersatzteil
Kronenmutter Rex Quad 150 Sicherungsmutter ATV 150ccm 4Takt Motorroller.de Sicherheitsmutter Kronensicherungsmutter 150ccm-4Takt UTV Ersatzteil

zu Artikel: Kronenmutter 99596 Technik-InfoKronenmutterSicherungsmutter, Kronenmutter, Kronensicherungsmutter, Sicherheitsmutter Die Marke Rex ist eine der meistverkauften in Deutschland. Durch ständige Qualitätskontrollen vorort beim Hersteller ist ein hoher Standard gewährleistet.Kostenloser Versand   Bei Ersatzteilen für jeden zusätzlichen Artikel mit den gleichen Versandkriterien, den Sie von uns kaufen.Unsere Ersatzteile für ihren Roller bzw. Scooter oder auch Motorroller können Sie bequem online in unserem Shop kaufen. Egal ob sie Ihren Roller im Kaufhaus oder im Baumarkt gekauft haben, für alle gängigen Europa-, Taiwan-, oder China-Roller finden Sie bei uns passende Bauteile, insbesondere für die Motoren 50 cc, 125 cc, 250 ccm, 4takt, 2takt und für größere Leistungen. Speziell für die Motorentypen 125-4T6M ,153FMI, 156FMI ,157QMJ, 158MJ ,1E40QMB, 1E40QMA ,152QMI, 157QMI ,150QMG ,164FML ,139QMB, 139QMA, JSD139QMB , GY6 ,139FMB in kurzen und langen Versionen in den Normen Euro1, Euro2, Euro3 sowie die neuen Euro 4 Einspritzer-Motoren finden Sie hochqualitative Ersatzteile. Gerne können Sie auch per Email nach Ersatzteilen anfragen. Bei Bestellwerten über 100 Euro können Sie auch unseren Finanzierungs- bzw. Ratenkauf-Service nutzen. Beim Kauf von Fahrzeugen können wir Ihnen auch ein Leasing-Angebot unterbreiten, das bietet sich insbesondere für Firmen an, die Betriebsfahrzeuge anschaffen, oder ihren Mitarbeitern ein Fahrzeug zur Verfügung stellen. Wir freuen uns auf Ihre Anfrage.

Verkaufspreis:
Nicht verfügbar
3,60 € Regulärer Preis: 4,14 €
Rabatt
Adly Luftfilter GK 125 Luftfilterkasten Buggy 125ccm 4Takt Motorroller.de Luft-Filter Luftfiltergehäuse Luftfiltermatte Luftfilter-Kasten 152QMI
Adly Luftfilter GK 125 Luftfilterkasten Buggy 125ccm 4Takt Motorroller.de Luft-Filter Luftfiltergehäuse Luftfiltermatte Luftfilter-Kasten 152QMI

zu Artikel: LuftfiltergehäuseLuftfilterkastenLuftfilter, Luftfiltergehäuse, Luftfilterkasten, Luftfilter komplett, Filter, Luftfiltergehaeuse, Luftfiltermatte, Luftfiltereinlage, Luft-Filter, Luftfilter-Kasten, Filterkasten, Filter-Kasten, Luftfiltertrakt, Luftfiltersystem, Luftfilterbereich, Luftfilterapparat, Luftfilterkomplex, Luftfiltergefüge, Luftfilter-Trakt, Luftfilter-System, Luftfilter-Bereich, Luftfilter-Apparat, Luftfilter-Komplex, Luftfilter-GefügeUnser Ersatz-Luftfilterkasten hat nicht nur Erstausrüster-Qualität, sondern gleicht in der Verarbeitung sowie im Aufbau dem Originalteil. Dieser wird inkl. Luftfiltereinsatz ausgeliefert. Kosteneffektiver Ersatz, sofern das Original defekt ist. Beim Umrüsten auf Sportfilter wird sehr oft der Originalkasten verlegt oder weggeworfen. Die Anschaffung des Originalteils kann mitunter teuer werden, deswegen bieten wir diesen deutlich günstigeren Ersatz an.Einfach den neuen Artikel gegen das alte Teil austauschen. Wir liefern immer in der Qualität des Erstausrüsters, egal, ob es sich dabei um ein Originalelement oder einen Nachbau handelt.Alle gelieferten Teile dieses Fahrzeugproduzenten haben den Qualitätstest durch täglichen Einsatz im Straßenverkehr ausgezeichnet bestanden. Man kann sämtliche Bauelemente in unserem Onlineshop kaufen. Durch andauernden Austausch von Erfahrungen wird die Qualität fortlaufend optimiert.Kostenlose Beförderung bei Ersatzteilen für jedes zusätzlichen Teil mit denselben Versandvoraussetzungen, das Sie von uns kaufen.Es ist wirklich ganz einfach, unsere Komponenten für Ihren Roller, Scooter, 3-Rad-Roller [Dreirad-Roller] oder auch Elektroroller beziehungsweise E-Roller über unseren Onlineshop im Internet zu ordern. Sie finden bei uns alle entsprechenden Ersatzbauteile für Ihren Motorroller, ganz gleich ob Sie Ihren Motorroller im Baumarkt, Fachgeschäft oder Kaufhaus gekauft haben. Ein anderer Weg für Fragen in Bezug auf Bauteile, ist das Medium E-Mail. Die Bezahlung erfolgt im Prinzip per PayPal oder bei einem Kauf über Amazon per Bankeinzug.Bei Bestellwerten von mehr als 100 Euro können Sie den Kaufpreis auch finanzieren, das heißt, in Raten bezahlen. Ohne Frage machen wir ihnen auch gerne ein Leasing-Angebot. Dieser Weg wäre gewiss für Firmen interessant, die ihren Mitarbeitern ein motorisiertes Zweirad kaufen oder Betriebsfahrzeuge anschaffen möchten. Bitte fragen Sie uns - wir beraten Sie gerne.Dieser Artikel ist für folgende Fabrikate respektive Motoren geeignet:Dieser Artikel passt bei vielen Modellen, unter anderem für:bundesweiter Versand, gerne können Sie uns eine Email-Anfrage senden, Bitte vergleichen Sie mit ihren Fahrzeugpapieren, Adly GK 125, bundesweiter Home-Service, motorroller.de ihr Roller-Expertepassender Motor: 152QMI 125ccm 4TaktReparieren oder tauschen - was ist die bessere Option?Immer wieder stellt sich die Frage, ob ein defektes Teil am Roller getauscht oder instand gesetzt werden soll, ganz egal, ob sich um einen Motorroller, Dreirad-Roller oder Elektroroller beziehungsweise E-Roller handelt. Woran man ebenso denken sollte: Ein Ersatzbauteil ist nicht nur problemlos gewechselt, sondern macht den Motorroller auch beträchtlich funktionssicherer als eine Reparatur. Oft kann lediglich eine qualifizierte Fachwerkstatt den Defekt auf Anhieb orten. Alternativ hat man auch die Möglichkeit, sich für eines der einbaufertigen Komplett-Kits zu entscheiden, die wir für viele unterschiedliche Fabrikate anbieten. .Wir liefern ausnahmslos QualitätserzeugnisseDie Qualität unserer Ersatzteile braucht keine Mitbewerber auf dem Weltmarkt zu befürchten. Aus welchem Grund sind wir trotz der hohen Qualität unserer Produkte so günstig? Das liegt nicht nur an unserer Preiskalkulation, sondern vornehmlich daran, dass wir unsere Ersatzteile in großen Stückzahlen beziehen. Bei uns kriegen Sie darum sämtliche verfügbaren Bauteile für Ihren fahrbaren Untersatz nicht bloß in guter Qualität, sondern auch für einen bezahlbaren Preis.Sie suchen für einen Sundiro oder Eppella Roller ein Ersatzteil? Keine Panik, wir haben sie auf Lager.Klarerweise liefern wir auch die Originalteile für Ihr motorisiertes Zweirad, wenngleich unsere Nachbauten einen qualitativen Vergleich mit dem Erstausrüster-Produkt nicht scheuen müssen, aber prinzipiell erheblich billiger sind. Mit unseren Produkten können Sie die Instandsetzung Ihres Zweirads selbst ausführen oder auch von einem Fachmann ausführen lassen. Zu solch attraktiven Kosten und in Erstausrüster-Qualität werden Sie ohne Zweifel Ihr Zweirad nicht auf andere Weise wieder flott bekommen können.Eine gute Hilfe bei der Bestellung des passenden Zubehörs sind die jeweiligen ProduktbilderAuf unserer Seite finden Sie zahlreiches Bildmaterial, das Sie dabei unterstützt, Ihr defektes Austauschteil auf einfache Weise mit dem erhältlichen Ersatz zu vergleichen. In Folge dessen können Falsch- oder Fehllieferungen wegen fehlerhafter Bestellungen schon im Vorfeld verhindert werden. Wesentlich ist hierbei, dass Ihre Bestellung nicht nur optisch, sondern auch in den technischen Spezifikationen und Dimensionen mit der alten Komponente übereinstimmt. Ihre Vorteile:  Unser Lager umfasst Teile und Zubehör für ungefähr 250 Marken und 8500 Typen hundertprozentige Verkehrssicherheit des Zweirads, besonders bei den Bremsen Abhol- und Bringservice Roller-Ankauf zu fairen Preisen DIN-Norm gerechte und ISO-zertifizierte Präzisionsfertigung Unsere sämtlichen Erzeugnisse sind betriebssicher, gebrauchstauglich und kostengünstig Sie zahlen beim Ordern mehrerer Einbauelemente mit denselben Versandvoraussetzungen nur einmal den Versand Sie erhalten von uns ausschließlich die Erstausrüsterqualität - auch bei kostengünstigen Nachbauten Kurzfristige Lieferzeiten Kauf ohne Risiko durch "Geld zurück" - Garantie Egal, ob Sie einen Roller, einen Buggy, ein Quad oder ein Fun Fahrzeug kaufen wollen. Wir sind dafür das Fachgeschäft Ihres Vertrauens. Weshalb sind wir der richtige Partner für Sie? Weil wir die Meister-Qualifikation und das Know-how besitzen, die man für diesen Geschäftsbereich definitiv benötigt. Als Familienunternehmen betreiben wir nicht nur das Geschäft rund um die Motorroller, wir leben unser Geschäft regelrecht.Kaufen ist Vertrauenssache, dementsprechend ist es notwendig, sich seinen Lieferanten zuvor genau anzugucken. Unsere Geschäftspraktiken sind für den Kunden absolut nachvollziehbar! Weswegen kommen Sie nicht mal bei uns vorbei, um sich selber ein Bild zu machen?Das was Sie dort feststellen, wird Sie ohne Zweifel überzeugen.Ist Ihnen die Entfernung zu uns zu weit? Dann informieren Sie sich doch durch die unterschiedlichen Ebay Bewertungen und des Trustedshops-Siegels. Unsere Webseite Motorroller.de wird z.B. von Trustshops als "sehr gut" bewertet. Das betrifft sowohl unseren Internetshop als auch unsere Geschäftspraktiken. Über diese Einstufung sind wir zu Recht sehr Stolz. Was unsere Kundenbewertungen ebenso auf einem Niveau, das sich durchaus sehen lassen kann. Diese Ergebnisse belegen eines ganz offensichtlich: Wir geben in allen Belangen immer unser Bestes!Bedenken Sie aber: Wir sind auch bloß Menschen, die zuweilen Fehler machen. Wir wollen Sie darum bitten, uns auf jeden Fall eine Gelegenheit zur Verbesserung zu geben, falls mal etwas schief gelaufen ist.Unser Fachgeschäft hat für Sie geöffnet: jeden Tag von 8:00 - 18:00 Uhr, am Samstag von 9:00 - 13:00 Uhr.Wer wir sindBei uns ist der Kunde wirklich noch König. Das Fahrzeuggeschäft betreiben wir bereits über 25 Jahre mit Erfolg, wollen hierbei aber trotzdem erwähnen, dass wir schon mehr als 50 Jahre auf eine Erfolgsgeschichte auf dem Sektor Maschinenbau verweisen können. Wir haben uns zwischenzeitlich größtenteils auf das "Nice-to-have" für Motortuning, Einbauteile und Zubehör für die meist gefahrenen Roller festgelegt.Wir haben circa 500.000 Ersatzteile im AngebotUnter Motorroller.de finden Sie fast alle Zubehörteile und Roller aus Europa und Fernost. In unserem Auslieferungslager warten Artikel, passendes Zubehör und Einbauteile für zirka 250 Hersteller und 8500 Typen auf Ihre Bestellung. Yamaha, Kreidler, Jonway oder Adly gehören zum Beispiel zu unseren langjährigen Lieferanten. Es sind ungefähr 500.000 Produkte von diversen unterschiedlicher Produzenten, welche wir in unserem Hochregallager auf einer Fläche von über 1.000 m² im Programm haben. Alles was Sie als Fahrer eines Rollers benötigen, finden Sie in unserer Zubehörabteilung.Das beginnt bei den Nierengürteln, Handschuhen und Regensets, und geht bis hin zu den Windschildern über das Top Case und den Sturzhelmen.Selbst Tuningfans kommen bei uns auf ihre Kosten. Zum Tunen ihres Motorrollers finden sie in unserer Tuningabteilung alles was das Herz begehrt, wie z.B. Auspuffanlagen, Zylinder, Kolben und andere Dinge.Unmittelbar nach der ProduktionDurchgehende Qualitätsprüfungen sind das Steckenpferd unseres Unternehmens. Dies bedeutet, ehe ein Motorroller ausgeliefert beziehungsweise vom Kunden abgeholt wird, überprüfen wir ihn zum Schluss nochmals gründlich auf etwaige Fehler beziehungsweise Transportschäden. Nachdem die Fahrzeuge bei uns im Haus angekommen sind, wird jedes einzelne Zweirad ausgepackt und als erstes einer visuellen Prüfung beziehungsweise einem Probelauf auf unserem computergesteuerten Prüfstand unterzogen. Bei dem gelieferten Roller wird dann nach der Anlieferung beim Kunden schließlich erneut ein Funktionstest ausgeführt. Hierdurch ist ein korrekter Betrieb des Gefährts de facto gesichert.Wir legen Wert auf eine saubere UmweltDer Schutz unserer Umwelt liegt uns besonders am Herzen. Einerseits sind unsere Motorroller allgemein mit sparsamen Motoren ausgestattet. Ohne Frage nehmen wir im Sinne des Umweltschutzes jegliches Verpackungsmaterial wieder mit, das bei der Auslieferung unserer Fahrzeuge anfällt und führen es einer professionellen Entsorgung zu.Wir nehmen Ihren ausgedienten Motorroller in ZahlungNach dem Erwerb eines neuen Motorrollers aus unserem Fahrzeugangebot möchten Sie sich von Ihrem alten Zweirad trennen? Das ist überhaupt kein Ding! Lassen Sie das unsere Sorge sein, indem wir Ihren gebrauchten Roller ankaufen.Wir konnten Sie immer noch nicht begeistern?Dann geben Sie uns doch die Chance, Sie von unseren Leistungen zu überzeugen. Im Vergleich zu den billigen Onlineshops, die schnell wieder von der Bildfläche verschwinden, können wir eine jahrelange Firmentradition vorweisen. Die solide Basis für einen erfolgreichen Betrieb besteht darin, dass bloß hinsichtlich zeitgemäßer Innovationen und neuer Ideen ein nachhaltiges Wachstum gewährleistet werden kann. Deshalb stehen Anpassung an neue Technologien sowie fortwährendes Lernen in unserem stetig expandierenden Unternehmen fortwährend in der Rangordnung ganz oben. Überzeugen Sie sich selber von unserem ausgezeichneten Service und besuchen Sie uns doch einmal in unserem Unternehmen in Lindenfels-Eulsbach.Wo wir zu Hause sindLindenfels befindet sich im Regierungsbezirk Darmstadt, und zwar 40 km nordöstlich von Mannheim bzw. rund 60 km im Süden von Frankfurt/Main. Sie fahren am besten von Norden her über die A6, während Sie aus südlicher Richtung die A8 nehmen. Selbstverständlich kann man auf Grund der guten Verkehrsanbindung auch völlig bequem per Bahn hinfahren.Unsere TopmarkenUnsere TopmarkenHinweise zu: Luftfilter

Verkaufspreis:
Kurzfristig lieferbar
27,95 € Regulärer Preis: 32,14 €
Rabatt
Elektroroller Scoody E3 Trike Y2 25 km/h rot
Elektroroller Scoody E3 Trike Y2 25 km/h rot

Der Scoody E3 Trike 25 Y2 ist die Alternative für Alle, die sich aufgrund der Fahrstabilität nicht auf 2-Rädern fortbewegen möchten und alternativ dazu ein praktisches und cooles elektrisches Gefährt suchen. Es handelt es sich um einen Elektroroller mit 3-Rädern, der keine Emissionen verursacht und sehr günstig im Unterhalt ist. Das E-Trike ist bis zu 25 km/h schnell und verfügt über einen 1000 Watt Motor. Ausgestattet mit 60V-20AH Blei-Gel Akkus erreicht der E-Scooter eine Reichweite von ca. 50 km. Damit ist er ein ideales und kostengünstiges Beförderungsmittel für den Nahbereich. In dieser Version des Elektrodreirades ist der Elektroroller mit folgenden Features ausgestattet: Digitaler Tachometer USB-Ladebuchse 1000W Motor Koffer hinten Getränkehalterung Ablagefach vorne verstellbare Rückenlehne Stockhalter uvm. An dem gemütlichen Sitz mit klappbaren Ellenbogenstützen befindet sich auch ein Sicherungsgurt. Bei angelegtem Gurt darf das elektrische Dreirad auch ohne Helm gefahren werden. Das E-Trike verfügt konstruktionsbedingt über einen sehr kleinen Wendekreis, die Manövrierfähigkeit erhöht sich zusätzlich durch den vorhandenen Rückwärtsgang. Das Dreirad ist Ihre Mobilitätsgarantie für den Nahbereich und vereinbart Fahrsicherheit, Komfort und Fahrfreude auf einzigartige Weise zu einem überraschend günstigen Preis! Das E-Trike ist Versicherungs- und Kennzeichenpflichtig. Eine EU-Betriebserlaubnis (EEC) liegt dem Trike bei. Mit diesem Fahrzeugschein können Sie bei der Versicherung Ihrer Wahl ein Kennzeichen beziehen. Zum Betrieb wird ein Berechtigungsschein für das Führen von Mofas benötigt. Mindestalter 15 Jahre. Inhaber der Führerscheinklassen A, B und T benötigen keinen Berechtigungsschein. Personen die vor dem 01.04.1965 geboren sind, benötigen keinen Berechtigungsschein oder Führerschein. Nicht die gewünschte Farbe? Kein Problem! Auch die Farbe Blau steht zum Kauf.

Verkaufspreis:
Kurzfristig lieferbar
2.799,99 € Regulärer Preis: 3.049,99 €
Rabatt
AEON Gummiband Gummistreifen 90760-151-001
AEON Gummiband Gummistreifen 90760-151-001

zu Artikel: Gummiband 90760-151-001 GummibandTechnik-InfoGummibandGummiband ( Batterie ), Gummistreifen, Gummiband, Batterriehalteband Langjährige Erfahrung und stets einwandfreie Qualität haben diesen Hersteller ausgezeichnet.Kostenloser Versand   Bei Ersatzteilen für jeden zusätzlichen Artikel mit den gleichen Versandkriterien, den Sie von uns kaufen. Sie können unsere Ersatzteile für ihren Roller bzw. Motorroller oder auch Scooter bequem online in unserem Shop kaufen. Egal ob Kaufhaus-Roller oder im Baumarkt-Roller, für alle gängigen Europa-, China-, oder Taiwan-Roller finden Sie bei uns passende Bauteile. Speziell für die Motoren 50 cc, 125 cc, 250 ccm, 2takt, 4takt und für größere Leistungen. Speziell für die Motorentypen 139QMB, 139QMA, 1E40QMB, 152QMI, 157QMI, GY6, 125-4T6M, 139FMB, 153FMI, 156FMI, 157QMJ, 158MJ, 164FML, 1E40QMA, JSD139QMB, 150QMG in kurzen und langen Versionen in den Normen Euro1, Euro2, Euro3 sowie die neuen Euro 4 Einspritzer-Motoren finden Sie qualitativ hochwertige Ersatzteile. Gerne können Sie auch per Email nach Ersatzteilen anfragen. Ab Bestellwerten über 100 Euro bieten wir Ihnen unseren Finanzierungs- bzw. Ratenkauf-Service an. Beim Kauf von Fahrzeugen besteht die Möglichkeit der Finanzierung oder des Leasings. Speziell für Firmen, die Betriebsfahrzeuge anschaffen, oder ihren Mitarbeitern ein Fahrzeug zur Verfügung stellen, ist die eine interessante Alternative.

Verkaufspreis:
Kurzfristig lieferbar
2,59 € Regulärer Preis: 2,98 €