Zum Hauptinhalt springen Zur Suche springen Zur Hauptnavigation springen
Menü
efr
erf
rrrf
Schnell lieferbar
14 Tage Rückgaberecht
Schneller DPD Versand

zu Artikel: Radialkugellager 6007 2RS1

Kugellager

Technik-Info

Radialkugellager

Kugellager, Wälzlager, Waelzlager, Radialkugellager, Rillenkugellager, Rollenlager, Wellen-Kugel-Lager, Radiallager, Radialrillenkugellager, Nadellager, Kugellagerring, Kugellager 6003-2Z 6003, Kugel-Lager, Wellen-Lager, Lager, Wellenlager

Lager gewährleisten die Bewegung von Bauteilen und der Rollenbewegung. Sie verringern die Reibung. Nur durch den Einbau von hochwertigen Lagern arbeitet der Motor effizient und langlebig. Beim Einbau der Lager ist auf die Beschaffenheit und auf die entsprechende DIN-Norm zu achten.

Die Marke Rex ist eine der meistverkauften in Deutschland. Durch ständige Qualitätskontrollen vorort beim Hersteller ist ein hoher Standard gewährleistet.

Kostenloser Versand   Bei Ersatzteilen für jeden zusätzlichen Artikel mit den gleichen Versandkriterien, den Sie von uns kaufen.

Unsere Ersatzteile für ihren Scooter bzw. Roller oder auch Motorroller können Sie bequem online in unserem Shop kaufen. Egal ob sie Ihren Roller im Kaufhaus oder im Baumarkt gekauft haben, für alle gängigen Europa-, Taiwan-, oder China-Roller finden Sie bei uns passende Bauteile, insbesondere für die Motoren 50 cc, 125 cc, 250 ccm, 4takt, 2takt und für größere Leistungen. Speziell für die Motorentypen 164FML ,150QMG ,125-4T6M ,139QMB, 139QMA, JSD139QMB , GY6 ,139FMB ,153FMI, 156FMI ,157QMJ, 158MJ ,1E40QMB, 1E40QMA ,152QMI, 157QMI in kurzen und langen Versionen in den Normen Euro1, Euro2, Euro3 sowie die neuen Euro 4 Einspritzer-Motoren finden Sie Ersatzteile von hoher Güte. Gerne können Sie auch per Email nach Ersatzteilen anfragen. Bei Bestellwerten über 100 Euro können Sie auch unseren Ratenkauf- bzw. Finanzierungs-Service nutzen. Beim Kauf von Fahrzeugen können wir Ihnen auch ein Leasing-Angebot unterbreiten, das bietet sich insbesondere für Firmen an, die Betriebsfahrzeuge anschaffen, oder ihren Mitarbeitern ein Fahrzeug zur Verfügung stellen. Wir freuen uns auf Ihre Anfrage.

instand setzen oder austauschen?

Ganz gleich, ob jemand einen Elektroroller bzw. E-Roller, Motorroller oder 3-Rad Roller fährt, er stellt sich höchstwahrscheinlich häufig die Frage, ob sie ein kaputtes Teil austauschen oder reparieren lassen sollen. Woran man gleichermaßen denken sollte: Ein neues Element ist nicht nur problemlos gewechselt, sondern macht den Motorroller auch erheblich ausfallsicherer als eine Instandsetzung. Oftmals kann nur eine kompetente Fachwerkstatt den Mangel auf Anhieb ermitteln. Eine gute Alternative wäre es in diesem Fall, eines unserer einbaufertigen Ersatzteil-Kits, die wir für zahlreiche diverse Fabrikate anbieten, zu ordern. .

Für Ihren Motorroller - hochwertige Qualitätsteile

Die Komponenten, die wir auf Lager haben, entsprechen bezüglich der Qualität zu 100 Prozent dem Weltmarktniveau. Unsere Bauteile sind deshalb so günstig, da wir schon im Einkauf auf entsprechend große Produktmengen achten. Bei uns kriegen Sie deswegen sämtliche lieferbaren Komponenten für Ihr motorisiertes Zweirad nicht nur in guter Qualität, sondern auch zu einem bezahlbaren Preis.

Wir führen sogar für die allermeisten Roller, Quads und Buggys die Komponenten, welche gar nicht mehr gefertigt werden. Zum Beispiel haben wir alle Ersatzteile für die Marken Eppella und Sundiro nach wie vor auf Lager.

Wer darauf Wert legt, erhält bei uns klarerweise auch das Originalteil für sein Zweirad. Die meisten Kunden greifen aber aufgrund der guten Preise und der Erstausrüster-Qualität auf unsere Nachbauten zurück. Unsere Ersatzteile versetzen Sie in die Lage, einerseits die Instandsetzung Ihres Motorrollers selbst durchführen oder zum anderen auch in einer Fachwerkstatt ausführen zu lassen. Sie werden wahrscheinlich keine andere Alternative finden, um zu attraktiven Kosten Ihren Motorroller instand setzen zu können.

Abbildungen erleichtern die Bestellung der benötigten Bauteile

Anhand des anschaulichen Bildmaterials können Sie Ihr altes Teil ganz einfach mit dem lieferbaren Ersatz vergleichen, damit Sie auch garantiert das gewünschte Produkt erhalten. Hierbei reicht nicht nur eine augenscheinliche Übereinstimmung. Es müssen darüber hinaus sowohl die deklarierten Abmessungen als auch die angegebenen Spezifikationen passen.

Ihre Vorteile:

Teile und Artikel für zirka 250 Marken und 8500 Modelle auf LagerSie bekommen von uns ausschließlich die Erstausrüster-Qualität - auch bei kostengünstigen NachbautenPräzisionsfertigung nach DIN-NormWir kaufen Ihren Motorroller100-prozentige Verkehrssicherheit des Zweirads, besonders bei BremsanlagenAlle unsere Erzeugnisse sind kostengünstig, betriebssicher sowie gebrauchstauglichWir holen und bringen Ihren RollerMit unserer "Geld zurück" - Garantie kaufen Sie ohne RisikoUnsere Lieferungen erfolgen überwiegend kurzfristigSie zahlen bei Bestellung mehrerer Einbauelemente mit identischen Versandbedingungen nur einmal Versandkosten

Ganz gleich, ob Sie einen Motorroller, einen Straßenbuggy, ein Quad oder ein Fun Fahrzeug kaufen wollen. Wir sind hierfür das Fachgeschäft Ihres Vertrauens. Welchen Vorteil haben Sie von unserem Kundenservice? Da wir uns dank unserer Jahrzehnte langen praktischen Erfahrung das entsprechende Know-how für diesen Geschäftsbereich angeeignet haben, können wir Ihnen den bestmöglichen Service bieten. Für unseren Familien betrieb ist das Geschäft rund um die Motorroller der gesamte Lebensinhalt.

Es ist nicht unbedingt sinnvoll, seinen Motorroller bei irgendeinem x-beliebigen Händler zu kaufen. Aus dem Grund ist es notwendig, sich das ausgewählte Fachgeschäft zuerst genau anzusehen. Unsere Geschäftspraktiken sind für den Kunden hundertprozentig nachvollziehbar! Aus welchem Grund besuchen Sie uns nicht mal in unserem Ladengeschäft, um sich persönlich ein Bild zu machen?Den Beweis unserer guten Leistungen können Sie dann direkt vor Ort sehen.

Potentielle Käufer, denen die Entfernung zu uns zu weit ist, können sich von zu Hause aus durch das Trustedshops-Siegels und die unterschiedlichen Ebay Bewertungen über uns sachkundig machen. Unsere Verkaufsseite Motorroller.de wird z.B. von Trustshops als "sehr gut" eingestuft. Das betrifft sowohl unseren Internet-Shop als auch unsere Geschäftspraktiken. Über diese Einstufung sind wir zu Recht sehr Stolz. Der Bewertungsfaktor von zirka 99,9 Prozent bei Ebay in den Käuferbewertungen kann sich gleichermaßen sehen lassen. Was demonstrieren all diese Ergebnisse ganz offensichtlich? Dass wir uns auf allen Gebieten stets mächtig ins Zeug legen!

Denken Sie aber bitte daran, dass wir keine Maschinen sondern auch nur Menschen sind, denen ein Fehler unterlaufen kann. Falls also etwas nicht vollauf zu Ihrer Zufriedenheit ausfällt, bitten wir Sie, uns die Chance zu geben, die Angelegenheit in Ordnung zu bringen.

Unser Expertenteam steht Ihnen täglich zwischen 8:00 und 18:00 Uhr sowie am Samstag von 8:00 bis 13:00 Uhr zur Verfügung.

Wer wir sind

Bei uns ist der Kunde wirklich noch König. Die Geschäftstätigkeit unseres Unternehmens fing bereits vor über 50 Jahren mit dem Maschinenbau an. Das Geschäft mit motorisierten Zweirädern hingegen, betreiben wir zwischenzeitlich auch schon seit mehr als 25 Jahren mit Erfolg. Wir haben uns heute vorrangig auf das "Must have" für Motortuning, Zubehör und Ersatzelemente für die meist gefahrenen Roller fokussiert.

Unser Teilespektrum beinhaltet zirka 500.000 Komponenten

Bei Motorroller.de finden Sie nahezu alle Teile und motorisierte Zweiräder aus Asien und Europa. In unserem Lager befinden sich für etwa 8500 Ausführungen und 250 Fabrikate diverse Ersatzteile, passendes Zubehör und Artikel. Darunter sind beispielsweise Produzenten wie Adly, Jonway, Yamaha oder Kreidler zu finden. Im Großen und Ganzen haben wir auf einer Lagerfläche von über 1.000 m² mehr als 500.000 Produkte von zahlreichen Herstellern in unserem Hochregallager im Sortiment. Alles was Sie als Fahrer eines Motorrollers benötigen, finden Sie im Zubehörsegment.

Das beginnt bei den Nierengürteln, Regensets und Handschuhen, und geht bis hin zu den Sturzhelmen über die Windschilder und dem Top Case.Auch Tuningfans kommen bei uns nicht zu kurz. Zum Tunen ihres Rollers finden sie in unserer Tuningabteilung alles was das Herz begehrt, wie zum Beispiel Auspuffanlagen, Zylinder, Kolben und dergleichen Dinge.

Was passiert nach erfolgter Produktion?

Keine Ware verlässt unser Unternehmen, bevor sie nicht auf einwandfreie Qualität geprüft worden ist. Das heißt, dass sämtliche Roller, die vom Werk des Herstellers bei uns ankommen, nochmals in unserem Betrieb einer eingehenden Überprüfung auf eventuelle Mängel respektive Transportschäden unterzogen werden. Erst dann liefern wir sie an unsere Kunden aus. Das erste Mal geschieht dies vor dem Versand, indem wir jeden Motorroller auspacken und auf unserem Zweirad-Prüfstand einem Testlauf respektive einer Übergabeinspektion unterziehen. Ein allerletzter Funktionscheck erfolgt dann bei der Übergabe an den Käufer. So ist sichergestellt, dass das Fahrzeug sich tatsächlich in einem korrekten Zustand befindet und den Kunden vollends zufriedenstellt.

Umweltschutz wir bei uns groß geschrieben

Der Schutz unserer Umwelt liegt uns sehr am Herzen. Einerseits sind unsere Zweiräder grundsätzlich mit effizienten Verbrennungsmotoren bestückt. Um die Umwelt des Weiteren zu schonen und eine professionelle Entsorgung zu garantieren, nehmen wir das Verpackungsmaterial wieder mit, welches bei der Anlieferung unserer Motorroller anfällt.

Roller-Ankauf

Sie wollen sich bei uns einen neuen Motorroller kaufen und suchen für Ihr altes Zweirad einen neuen Besitzer? Zerbrechen Sie sich über diese Sache nicht den Kopf! Wir nehmen Ihren ausgedienten Roller gerne in Zahlung.

Wir konnten Ihre Zweifel trotz allem nicht ausräumen?

Dann geben Sie uns bitte die Chance, Sie von unseren Leistungen zu überzeugen. Wir sind kein billiger Onlineshop, welcher heute kommt und morgen schon wieder unauffindbar ist. Die solide Ausgangsbasis für ein erfolgreiches Unternehmen besteht darin, dass lediglich auf Grund neuer Ideen und fortschrittlicher Innovationen ein nachhaltiges Wachstum gewährleistet werden kann. Folglich stehen Anpassung an neue Technologien sowie ständiges Lernen in unserem stetig wachsenden Betrieb fortwährend an der ersten Stelle. Besuchen Sie uns doch mal in unserem Betrieb in Lindenfels-Eulsbach und überzeugen Sie sich selber von unserem vortrefflichen Kundenservice.

Wie finden Sie unser Unternehmen?

Circa 60 km im Süden von Frankfurt am Main liegt Lindenfels im Regierungsbezirk Darmstadt. Falls Sie mit dem Auto anreisen, erreichen Sie den Ort per Autobahn entweder von Norden über Frankfurt/Main (A6) oder von Süden über Stuttgart, Karlsruhe und Mannheim (A8). Es gibt auch eine gute Verkehrsanbindung per Bahn.

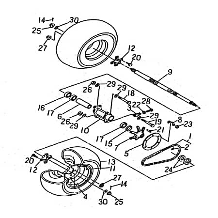
Baugruppe: Rahmen

Artikelposition in Explosionszeichnung: 17

Ersatzteil: Hinterrad

Motorroller bequem online kaufen – von der Bestellung bis zur Lieferung


Mobiler Home Service – Bundesweit Inspektionen und Reparaturen


Motorroller.de – Über uns – Ihr Support vom Profi seit 1993

Ihr Finanzierungsplan**
Monate Rate mtl. Gesamt
6039,67 €2.380,49 €
12157,59 €1.891,14 €

Einfach im Bestellvorgang die Expokredit-Finanzierung als Zahlungsweise auswählen ...

  • Barossa Cheetah 250
  • Kreidler Mustang 170
  • Kreidler Mustang 200
  • Kreidler Mustang 250
  • Rex Quad 150
  • Rex Quad 150ccm (1-Zyl.)
  • Rex Quad 250
  • Rex Quad 250ccm (2-Zyl.)
  • SMC STM Quad 150
  • SMC STM Quad 170
  • SMC STM Quad 200
  • SMC STM Quad 250
Produktgalerie überspringen

Kunden haben sich ebenfalls angesehen

Rabatt
Dekorsatz Radabdeckung ab Mod. 04 Frontverkleidungen 75730
Dekorsatz Radabdeckung ab Mod. 04 Frontverkleidungen 75730

zu Artikel: Dekor REX QUAD 150/250 75730 Dekor REX QUAD 150/250Technik-InfoDekorDeko-Sticker, Dekor, Deko-Aufkleber, Aufkleber, Deko, Sticker Deko-Kits geben dem Fahrzeug ein eleganteres in individuelleres aussehen. Das Abringen ist in der Regel einfach, und somit auch für technisch geschickten Laien kein ProblemDie Marke Rex ist eine der meistverkauften in Deutschland. Durch ständige Qualitätskontrollen vorort beim Hersteller ist ein hoher Standard gewährleistet.Geprüfte Erstausrüsterqualität beste Verarbeitung Best. Ware günstiger Preis Direktimport Kauf 100% ohne Risiko vom TopsellerUnsere Ersatzteile für ihren Scooter bzw. Motorroller oder auch Roller können Sie bequem online in unserem Shop kaufen. Egal ob sie Ihren Roller im Baumarkt oder im Kaufhaus gekauft haben, für alle gängigen Taiwan-, Europa-, oder China-Roller finden Sie bei uns passende Bauteile, insbesondere für die Motoren 50 cc, 125 cc, 250 ccm, 2takt, 4takt und für größere Leistungen. Speziell für die Motorentypen 164FML ,157QMJ, 158MJ , GY6 ,125-4T6M ,139QMB, 139QMA, JSD139QMB ,153FMI, 156FMI ,139FMB ,152QMI, 157QMI ,150QMG ,1E40QMB, 1E40QMA in kurzen und langen Versionen in den Normen Euro1, Euro2, Euro3 sowie die neuen Euro 4 Einspritzer-Motoren finden Sie Ersatzteile von erstklassiger Qualität. Gerne können Sie auch per Email nach Ersatzteilen anfragen. Bei Bestellwerten über 100 Euro können Sie auch unseren Ratenkauf- bzw. Finanzierungs-Service nutzen. Beim Kauf von Fahrzeugen können wir Ihnen auch ein Leasing-Angebot unterbreiten, das bietet sich insbesondere für Firmen an, die Betriebsfahrzeuge anschaffen, oder ihren Mitarbeitern ein Fahrzeug zur Verfügung stellen. Wir freuen uns auf Ihre Anfrage.

Verkaufspreis:
Verfügbar
12,90 € Regulärer Preis: 14,84 €
Rabatt
Rex Quad 50 Hinweise Altersbeschränkung 50ccm 2Takt 94324 Motorroller.de Hinweisschild Altersbeschränkungen Führerscheinregelung ATV SMC UTV Service
Rex Quad 50 Hinweise Altersbeschränkung 50ccm 2Takt 94324 Motorroller.de Hinweisschild Altersbeschränkungen Führerscheinregelung ATV SMC UTV Service

Hinweise Altersbeschränkungen Technik-Info Hinweise Altersbeschränkung Schild Altersbeschränkungen, Hinweisschild Altersbeschränkung, Hinweis Führerscheinregelung Dieser Artikel passt bei vielen Modellen, unter anderem für: motorroller.de ihr Roller-Experte, gerne können Sie uns eine Email-Anfrage senden, Bitte vergleichen Sie mit ihren Fahrzeugpapieren, Kreidler Mustang 50 Die Marke Rex ist eine der meistverkauften in Deutschland. Durch ständige Qualitätskontrollen vorort beim Hersteller ist ein hoher Standard gewährleistet. Kostenloser Versand   Bei Ersatzteilen für jeden zusätzlichen Artikel mit den gleichen Versandkriterien, den Sie von uns kaufen. Unsere Ersatzteile für ihren Roller bzw. Motorroller oder auch Scooter können Sie bequem online in unserem Shop kaufen. Egal ob sie Ihren Roller im Baumarkt oder im Kaufhaus gekauft haben, für alle gängigen Europa-, China-, oder Taiwan-Roller finden Sie bei uns passende Bauteile, insbesondere für die Motoren 50 cc, 125 cc, 250 ccm, 2takt, 4takt und für größere Leistungen. Speziell für die Motorentypen 139QMB, 139QMA, JSD139QMB ,1E40QMB, 1E40QMA , GY6 ,152QMI, 157QMI ,125-4T6M ,153FMI, 156FMI ,157QMJ, 158MJ ,139FMB ,164FML ,150QMG in kurzen und langen Versionen in den Normen Euro1, Euro2, Euro3 sowie die neuen Euro 4 Einspritzer-Motoren finden Sie qualitativ erstklassige Ersatzteile. Gerne können Sie auch per Email nach Ersatzteilen anfragen. Bei Bestellwerten über 100 Euro können Sie auch unseren Finanzierungs- bzw. Ratenkauf-Service nutzen. Beim Kauf von Fahrzeugen können wir Ihnen auch ein Leasing-Angebot unterbreiten, das bietet sich insbesondere für Firmen an, die Betriebsfahrzeuge anschaffen, oder ihren Mitarbeitern ein Fahrzeug zur Verfügung stellen. Bitte fragen Sie an.

Verkaufspreis:
Kurzfristig lieferbar
5,59 € Regulärer Preis: 6,43 €
Rabatt
Kreidler Vabene 50 Sitzbank Sattel Roller 730605 Motorroller.de Fahrersitz Sitz-Bank Original Ersatzteil
Kreidler Vabene 50 Sitzbank Sattel Roller 730605 Motorroller.de Fahrersitz Sitz-Bank Original Ersatzteil

zu Artikel: Sitzbank komplett 730605Die Sitzbank Technik-InfoSitzbank Einzelsitzbank, Sitz, Sattel, Doppelsitzbank, Sitzbank, Doppelsitz, Einzelsitz, Sitz-Bank, Fahrersitz Kostenloser Versand   Bei Ersatzteilen für jeden zusätzlichen Artikel mit den gleichen Versandkriterien, den Sie von uns kaufen. Unsere Ersatzteile für ihren Scooter bzw. Roller oder auch Motorroller können Sie bequem online in unserem Shop kaufen. Egal ob sie Ihren Roller im Kaufhaus oder im Baumarkt gekauft haben, für alle gängigen Taiwan-, Europa-, oder China-Roller finden Sie bei uns passende Bauteile, insbesondere für die Motoren 50 cc, 125 cc, 250 ccm, 2takt, 4takt und für größere Leistungen. Speziell für die Motorentypen 1E40QMB, 1E40QMA ,153FMI, 156FMI ,164FML ,139QMB, 139QMA, JSD139QMB ,152QMI, 157QMI ,125-4T6M ,157QMJ, 158MJ , GY6 ,139FMB ,150QMG in kurzen und langen Versionen in den Normen Euro1, Euro2, Euro3 sowie die neuen Euro 4 Einspritzer-Motoren finden Sie Ersatzteile von hoher Güte. Gerne können Sie auch per Email nach Ersatzteilen anfragen. Bei Bestellwerten über 100 Euro können Sie auch unseren Finanzierungs- bzw. Ratenkauf-Service nutzen. Beim Kauf von Fahrzeugen können wir Ihnen auch ein Leasing-Angebot unterbreiten, das bietet sich insbesondere für Firmen an, die Betriebsfahrzeuge anschaffen, oder ihren Mitarbeitern ein Fahrzeug zur Verfügung stellen. Wir freuen uns auf Ihre Anfrage. Austauschen oder reparieren?Wird mal irgendetwas am Roller schadhaft, dann hat man im Regelfall die Wahl zwischen austauschen oder reparieren lassen. Ein neues Bauteil, welches vergleichsweise rasch ausgetauscht werden kann, ist nicht nur preisgünstiger, sondern bietet im Übrigen eine beträchtlich größere Funktionssicherheit als bei einer Instandsetzung des Motorrollers. Häufig kann man einen nicht sogleich selber ermitteln und eine kompetente Fachwerkstatt muss feststellen, wieso der Roller nicht richtig läuft. In dem Fall wäre es sinnvoller, über unseren Shop eines der einbaufertigen Ersatzteil-Kits zu ordern, die wir in vielen unterschiedlichen Ausführungen im Sortiment haben. .Qualitativ hochklassige Roller-ErsatzteileGroßes Augenmerk legen wir auf preiswerte Produkte von hoher Qualität. Unsere Produkte sind deshalb so attraktiv, da wir bereits im Einkauf auf entsprechend große Produktmengen achten. Bei uns kriegen Sie demnach sämtliche verfügbaren Bauteile für Ihren fahrbaren Untersatz nicht lediglich in hervorragend Qualität, sondern auch für einen erschwinglichen Preis. Einige Rollermarken wie Eppella und Sundiro werden schon seit langem nicht mehr produziert. Dennoch führen wir dafür noch die Komponenten.Sie bekommen bei uns klarerweise auch die Originalteile vom Fahrzeughersteller. Wenn Sie andererseits Geld sparen möchten [und wer möchte das nicht], sollten Sie auch unsere Nachbauten in Erwägung ziehen, welche nebenbei bemerkt, einen qualitativen Vergleich zum Erstausrüster- Produkt nicht zu scheuen brauchen, obgleich sie prinzipiell wesentlich billiger sind. Ganz gleich, ob Sie die Reparatur an Ihrem Zweirad selbst ausführen wollen oder besser in einer Werkstatt ausführen lassen möchten, mit Sicherheit liegen Sie mit unseren Komponenten vollkommen richtig. Zu solch bezahlbaren Kosten werden Sie ohne Zweifel Ihr Zweirad nicht auf andere Weise reparieren können.Es ist denkbar leicht, mittels der Bilder das gewünschte Austauschteil zu bestellenDamit Sie auch wirklich den passenden Artikel erhalten, existiert auf unserer Seite eine Menge von entsprechendem Bildmaterial, durch das Sie Ihre defekte Komponente mit dem verfügbaren Ersatz vergleichen können. Entscheidend hierbei ist, dass Ihre Bestellung nicht nur visuell, sondern auch in den technischen Spezifikationen und Maßen mit dem alten Bauteil zusammenpasst. Auf welche Weise Sie davon profitieren:Alle unsere Produkte sind langlebig, preisgünstig und gebrauchstauglichhundertprozentige Verkehrssicherheit des Zweirads, vor allem bei BremsanlagenTeile und Artikel für circa 250 Marken und 8500 Typen auf LagerSie bekommen von uns ohne Ausnahme die Erstausrüsterqualität - auch bei kostengünstigen NachbautenKurze LieferzeitenRoller-Ankauf zu fairen PreisenKauf ohne Risiko durch "Geld zurück" - GarantieAbhol- und BringserviceSie bezahlen beim Ordern mehrerer Einbauelemente mit denselben Versandbedingungen nur einmal den VersandPräzisionsfertigung nach DIN-NormWir sind die erste Adresse, für den Fall, dass es um die Anschaffung von einem Motorroller, Fun Fahrzeug, Quad oder Straßenbuggy geht. Wozu sollten Sie sich an uns wenden? Weil wir für dieses Geschäftsfeld die Meister-Qualifikation und das entsprechende Know-how besitzen, welche hierfür unbedingt benötigt wird. Für unser familiär geführtes Unternehmen ist das Geschäft in Verbindung mit den Motorrollern der vollständige Lebensinhalt. Es ist wesentlich, sich das Fachgeschäft daher zuvor genau anzugucken, ehe man sich für einen Kauf entscheidet. Bei uns ist alles zu 100 Prozent nachvollziehbar! Gerne können Sie uns einen Besuch abstatten, um sich über uns eigenhändig ein Bild zu machen.Den Nachweis unserer vorzüglichen Leistungen sehen Sie dann direkt vor Ort.Wenn Ihnen die Anfahrt zu uns zu weit ist, können Sie sich auch durch die verschiedenen Ebay Bewertungen und des Trustedshops-Siegels kundig machen. Die Benotungen von Trustedshops sind im Prinzip nicht nur überaus aussagekräftig, sondern auch gänzlich wertneutral. Sowohl der Online-Shop auf unserer Homepage Motorroller.de als auch unsere Geschäftspraxis wurden von dieser Einrichtung bis jetzt durchgehend mit "sehr gut" bewertet. Der Wert von circa 99,9 Prozent bei Ebay in den Käuferrezensionen kann sich ebenso sehen lassen. Demonstrieren diese Ergebnisse nicht klar und deutlich, dass unsere Kunden bestens bei uns aufgehoben sind? Denken Sie aber bitte daran, dass dort wo gearbeitet wird, auch Fehler passieren. Wir wollen Sie darum bitten, uns definitiv eine Chance zur Verbesserung zu geben, sofern mal etwas schief gelaufen ist.Unser Fachgeschäft hat für Sie geöffnet: täglich von 8:00 - 18:00 Uhr, am Samstag von 9:00 - 13:00 Uhr.Unsere UnternehmensphilosophieEs liegt uns eine Menge an der Zufriedenstellung unserer Kundschaft. Die Geschäftstätigkeit unseres Unternehmens begann schon vor über 50 Jahren mit dem Bau von Maschinen. Den Handel mit Zweirädern dagegen, betreiben wir gegenwärtig auch schon seit mehr als 25 Jahren äußerst erfolgreich. Unser Fokus ist zwischenzeitlich auf die Vermarktung von Einbauteilen, Zubehör und das "Nice-to-have" zur Leistungssteigerung für die meisten Roller ausgerichtet.Unsere Produktauswahl umfasst zirka 500.000 TeileBei Motorroller.de finden Sie fast alle Einbauteile und motorisierte Zweiräder aus Fernost und Europa. In unserem Lager befinden sich für zirka 8500 Modelle und 250 Marken verschiedene Artikel, passendes Zubehör und Einbaukomponenten. Darunter sind z.B. Lieferanten wie Yamaha, Jonway, Kreidler oder Adly zu finden. Es sind mehr als 500.000 Produkte von zahlreichen zahlreicher Anbieter, die wir in unseren Hochregalen auf einer Lagerfläche von über 1.000 m² sofort lieferbar haben. Unsere Zubehörabteilung bietet folglich alles, was Sie als Rollerfahrer für Ihren fahrbaren Untersatz brauchen. Das beginnt bei den Nierengürteln, Handschuhen und Regensets, und geht bis hin zu den Sturzhelmen über die Windschilder und dem Top Case.In unserer Tuningabteilung halten wir für alle, die es gerne sportlich mögen ebenso einige ausgesuchte Produkte bereit. Dazu gehören z.B. Zylinder, Kolben, Auspuffanlagen und andere Dinge.Was passiert im Anschluss an die Produktion?Regelmäßige Qualitätskontrollen sind die Passion unseres Hauses. Dies bedeutet, bevor ein Fahrzeug ausgeliefert beziehungsweise vom Kunden abgeholt wird, überprüfen wir es abschließend nochmals auf Herz und Nieren. Das erste Mal geschieht das vor dem Versand, indem wir jeden Roller auspacken und auf unserem computergesteuerten Prüfstand einem Probelauf beziehungsweise einer Übergabekontrolle unterziehen. Ein abschließender Funktionscheck erfolgt dann bei der Übergabe an den Käufer. So ist sichergestellt, dass der Motorroller sich de facto in einem tadellosen Zustand befindet und den Kunden vollauf zufriedenstellt.Umweltschutz wir bei uns groß geschriebenWir sind besonders um den Umweltschutz bemüht. Das sagen wir nicht bloß, weil unsere Fahrzeuge prinzipiell mit wirtschaftlichen Verbrennungsmotoren bestückt sind. Um unsere Umwelt darüber hinaus zu entlasten und eine fachgerechte Abfallentsorgung zu gewährleisten, nehmen wir die Transportverpackung wieder mit, welche bei der Auslieferung unserer Roller anfällt.Ihren Motorroller kaufen wir gerne anNach dem Kauf eines neuen Motorrollers aus unserem Sortiment möchten Sie sich von Ihrem alten Fahrzeug trennen? Seien Sie deswegen unbesorgt! Lassen Sie das unser Problem sein, denn wir nehmen Ihren gebrauchten Roller in Zahlung.Wir konnten noch nicht sämtliche Zweifel ausräumen?Dann würden wir uns darüber sehr freuen, wenn wir von Ihnen die Chance bekämen, unsere Leistungen unter Beweis stellen zu dürfen. Wir sind kein billiger Online-Shop, welcher heute kommt und morgen schon wieder von der Bildfläche verschwunden ist. In unserem stetig wachsenden Unternehmen steht Fleiß und fortwährendes Lernen an der ersten Stelle, weil wir verstanden haben, dass sich lediglich durch neue Ideen und zeitgemäße Innovationen das Know-how für eine gut fundierte geschäftliche Basis bilden lässt. Überzeugen Sie sich persönlich von unserem herausragenden Service und besuchen Sie uns in unserem Betrieb in Lindenfels-Eulsbach.So sind wir zu findenLindenfels liegt im Regierungsbezirk Darmstadt, und zwar 40 km nordöstlich von Mannheim bzw. rund 60 km im Süden von Frankfurt/Main. Sie fahren am besten von Norden her über die A6, während Sie aus südlicher Richtung die A8 nehmen. Ohne Frage kann man aufgrund der guten Verkehrsanbindung auch sehr bequem mit der Bahn hinfahren.Unsere TopmarkenUnsere TopmarkenHinweise zu: Zweiersitzbank

Verkaufspreis:
Verfügbar
91,58 € Regulärer Preis: 105,32 €
Rabatt
PGO Ölkühler X-RIDER 150 Quad 150ccm 4Takt C5083010000 Motorroller.de
PGO Ölkühler X-RIDER 150 Quad 150ccm 4Takt C5083010000 Motorroller.de

zu Artikel: Ölkühler Komplett C5083010000 Ölkühler Komplett Technik-Info Ölkühler Kuehler, Öl-Kühler, Oel-Kuehler, Öl-Radiator, Oel-Radiator, Öl-Wärmetauscher, Oel-Waermetauscher, Kühler, Ölkühler, Oelkuehler Dieser Artikel passt bei vielen Modellen, unter anderem für: PGO Burgrider 150, PGO Burgrider 200, PGO G-Max, PGO G-Max 125, PGO G-Max 150, PGO G-Max 250, PGO G-Max 50 Naked, PGO T-Rex 150, PGO X-RIDER 150 Erstausrüsterqualität beste Verarbeitung Lagerware günstiger Preis Direktimport sofort versandbereit Kauf vom Großvertreiber Unsere Ersatzteile für ihren Scooter bzw. Motorroller oder auch Roller können Sie bequem online in unserem Shop kaufen. Egal ob sie Ihren Roller im Kaufhaus oder im Baumarkt gekauft haben, für alle gängigen China-, Europa-, oder Taiwan-Roller finden Sie bei uns passende Bauteile, insbesondere für die Motoren 50 cc, 125 cc, 250 ccm, 2takt, 4takt und für größere Leistungen. Speziell für die Motorentypen 125-4T6M ,150QMG ,164FML ,139QMB, 139QMA, JSD139QMB , GY6 ,139FMB ,153FMI, 156FMI ,157QMJ, 158MJ ,1E40QMB, 1E40QMA ,152QMI, 157QMI in kurzen und langen Versionen in den Normen Euro1, Euro2, Euro3 sowie die neuen Euro 4 Einspritzer-Motoren finden Sie qualitativ erstklassige Ersatzteile. Gerne können Sie auch per Email nach Ersatzteilen anfragen. Bei Bestellwerten über 100 Euro können Sie auch unseren Ratenkauf- bzw. Finanzierungs-Service nutzen. Beim Kauf von Fahrzeugen können wir Ihnen auch ein Leasing-Angebot unterbreiten, das bietet sich insbesondere für Firmen an, die Betriebsfahrzeuge anschaffen, oder ihren Mitarbeitern ein Fahrzeug zur Verfügung stellen. Ihre Anfrage nehmen wir gerne entgegen

Verkaufspreis:
Verfügbar
149,90 € Regulärer Preis: 172,39 €
Rabatt
PGO Ölschlauch Ligero 50 Ölleitung Öl-Schlauch 50ccm 2Takt Motorroller.de Öl-leitung Ölrohr Ausgangsschlauch Eingangschlauch PGO 50ccm-2Takt Scooter
PGO Ölschlauch Ligero 50 Ölleitung Öl-Schlauch 50ccm 2Takt Motorroller.de Öl-leitung Ölrohr Ausgangsschlauch Eingangschlauch PGO 50ccm-2Takt Scooter

zu Artikel: Ölschlauch P65225210002 ÖlschlauchTechnik-InfoÖlschlauchOelleitung, Schlauch, Öl-Schlauch, Oel-Schlauch, Öl-leitung, Oel-leitung, Ölrohr, Oelrohr, Eingangsschlauch, Oelschlauch, Ölschlauch, Ausgangsschlauch, ÖlleitungSchläuche dienen meist der Durchleitung von Ölen oder Treibstoff, oft auch zur Entlüftung oder Abgasrückführung. Der Werkstoff muss daher chemisch beständig sein und wechselnden Drücken standhalten. Schläuche sollten alle 2.Jahre gewechselt werden, weil sie durch die Beanspruchung hart und porös werden.Dieser Artikel passt bei vielen Modellen, unter anderem für: PGO Ligero RS 50, gerne können Sie uns eine Email-Anfrage senden, PGO Ligero 50, Bitte vergleichen Sie mit ihren Fahrzeugpapieren, Dieser Hersteller ist seit vielen Jahren erfolgreich auf dem internationalen Markt. Er hat sich durch Zuverlässigkeit seiner Produkte einen Namen gemacht.Geprüfte Erstausrüsterqualität top Verarbeitung Lagerware günstiger Preis Direktimport sofort versandbereit Kauf vom GroßvertreiberUnsere Ersatzteile für ihren Roller bzw. Motorroller oder auch Scooter können Sie bequem online in unserem Shop kaufen. Egal ob sie Ihren Roller im Kaufhaus oder im Baumarkt gekauft haben, für alle gängigen Europa-, Taiwan-, oder China-Roller finden Sie bei uns passende Bauteile, insbesondere für die Motoren 50 cc, 125 cc, 250 ccm, 2takt, 4takt und für größere Leistungen. Speziell für die Motorentypen 125-4T6M ,1E40QMB, 1E40QMA , GY6 ,152QMI, 157QMI ,164FML ,139QMB, 139QMA, JSD139QMB ,157QMJ, 158MJ ,139FMB ,150QMG ,153FMI, 156FMI in kurzen und langen Versionen in den Normen Euro1, Euro2, Euro3 sowie die neuen Euro 4 Einspritzer-Motoren finden Sie Ersatzteile von hoher Güte. Gerne können Sie auch per Email nach Ersatzteilen anfragen. Bei Bestellwerten über 100 Euro können Sie auch unseren Finanzierungs- bzw. Ratenkauf-Service nutzen. Beim Kauf von Fahrzeugen können wir Ihnen auch ein Leasing-Angebot unterbreiten, das bietet sich insbesondere für Firmen an, die Betriebsfahrzeuge anschaffen, oder ihren Mitarbeitern ein Fahrzeug zur Verfügung stellen. Wir freuen uns auf Ihre Anfrage.

Verkaufspreis:
Verfügbar
14,48 € Regulärer Preis: 16,65 €
Rabatt
Dichtung Luftfilter Quad ATV 499ccm 4Takt 13452-CGV-00
Dichtung Luftfilter Quad ATV 499ccm 4Takt 13452-CGV-00

zu Artikel: Dichtung Luftfilter 13452-CGV-00 Technik-InfoDichtung Luftfilterauch zu finden unter: Dichtung Luftfilter, Dichtung Luftfiltergehäusedeckel, Dichtung Luftfiltergehaeusedeckel, Dichtung Luftfilterkasten, Dichtung Filtergehäuse, Dichtung FiltergehaeuseOb Einzeldichtung oder Dichtsatz, bei uns erhalten Sie stets die Qualitätsstufe wie beim Original-Hersteller. Wenn Sie etwas an der Variomatik arbeiten oder auch nur wenn der Deckel geöffnet wird, sollte die Dichtung immer getauscht werden Kostenloser Versand   Bei Ersatzteilen für jeden zusätzlichen Artikel mit den gleichen Versandkriterien, den Sie von uns kaufen.Unsere Ersatzteile für ihren Motorroller bzw. Roller oder auch Scooter können Sie bequem online in unserem Shop kaufen. Egal ob sie Ihren Roller im Kaufhaus oder im Baumarkt gekauft haben, für alle gängigen China-, Europa-, oder Taiwan-Roller finden Sie bei uns passende Bauteile, insbesondere für die Motoren 50 cc, 125 cc, 250 ccm, 2-Takt, 4-Takt und für größere Leistungen. Speziell für die Motorentypen GY6 ,139FMB ,157QMJ, 158MJ ,164FML ,1E40QMB, 1E40QMA ,139QMB, 139QMA, JSD139QMB ,153FMI, 156FMI ,125-4T6M ,152QMI, 157QMI ,150QMG in kurzen und langen Versionen in den Normen Euro1, Euro2, Euro3 sowie die neuen Euro 4 Einspritzer-Motoren finden Sie Ersatzteile von bewährter Qualität. Gerne können Sie auch per Email nach Ersatzteilen anfragen. Bei Bestellwerten über 100 Euro können Sie auch unseren Finanzierungs- bzw. Ratenkauf-Service nutzen. Beim Kauf von Fahrzeugen können wir Ihnen auch ein Leasing-Angebot unterbreiten, das bietet sich insbesondere für Firmen an, die Betriebsfahrzeuge anschaffen, oder ihren Mitarbeitern ein Fahrzeug zur Verfügung stellen. Wir freuen uns auf Ihre Anfrage.

Verkaufspreis:
Nicht verfügbar
8,64 € Regulärer Preis: 9,94 €