Zum Hauptinhalt springen Zur Suche springen Zur Hauptnavigation springen
Menü
efr
erf
rrrf
Schnell lieferbar
14 Tage Rückgaberecht
Schneller DPD Versand

zu Artikel: O-Ring Dichtring Gummiring Dichtung Gummi 740321

Technik-Info

O-Ring

O-Ring, Dichtring, Oring, OR-Dichtung, Gummiring, Gummi-Ring, Dicht-Ring, Motorölablassdichtung, Steuerkettenspanner, Dichtung, Dichtung Gummi, Gummidichtung, Gummidichtring, Ring, Ringstück

Dichtringe, O-Ringe oder Null-Ringe sind ringförmige Dichtungselemente. Der Name leitet sich vom O-förmigen Querschnitt ab. Alle unsere Dichtringe sind in Erstausrüster-Qualität.

Die Marke Rex ist eine der meistverkauften in Deutschland. Durch ständige Qualitätskontrollen vorort beim Hersteller ist ein hoher Standard gewährleistet.

Kostenloser Versand   Bei Ersatzteilen für jeden zusätzlichen Artikel mit den gleichen Versandkriterien, den Sie von uns kaufen.

Sie können unsere Ersatzteile für ihren Roller bzw. Motorroller oder auch Scooter bequem online in unserem Shop kaufen. Egal ob Kaufhaus-Roller oder im Baumarkt-Roller, für alle gängigen Europa-, China-, oder Taiwan-Roller finden Sie bei uns passende Bauteile. Speziell für die Motoren 50 cc, 125 cc, 250 ccm, 2takt, 4takt und für größere Leistungen. Speziell für die Motorentypen 139QMB, 139QMA, 1E40QMB, 152QMI, 157QMI, GY6, 125-4T6M, 139FMB, 153FMI, 156FMI, 157QMJ, 158MJ, 164FML, 1E40QMA, JSD139QMB, 150QMG in kurzen und langen Versionen in den Normen Euro1, Euro2, Euro3 sowie die neuen Euro 4 Einspritzer-Motoren finden Sie qualitativ hochwertige Ersatzteile. Emailanfragen nach speziellen Ersatzteilen beantworten wir Ihnen gerne. Wenn sie für mehr als 100 Euro bestellen, können wir Ihnen auch Finanzierungs- bzw. Ratenkauf anbieten. Beim Kauf von Fahrzeugen haben Sie auch die Möglichkeit zu finanzieren oder zu leasen. Letzteres bietet sich besonders für Firmen an, die Betriebsfahrzeuge anschaffen, oder ihren Mitarbeitern ein Fahrzeug zur Verfügung stellen. Bitte fragen Sie an.

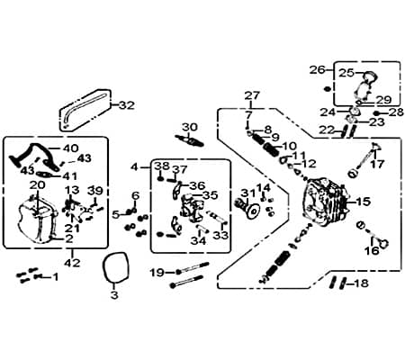
Baugruppe: Motor

Artikelposition in Explosionszeichnung: 29

Ersatzteil: Nockenwelle & Ventile

Motorroller bequem online kaufen – von der Bestellung bis zur Lieferung


Mobiler Home Service – Bundesweit Inspektionen und Reparaturen


Motorroller.de – Über uns – Ihr Support vom Profi seit 1993

Ihr Finanzierungsplan**
Monate Rate mtl. Gesamt
6039,67 €2.380,49 €
12157,59 €1.891,14 €

Einfach im Bestellvorgang die Expokredit-Finanzierung als Zahlungsweise auswählen ...

  • Jonway Bergamo 50
  • Jonway Florett 2.0 50 City
  • Jonway Flory Classic 50
  • Kreidler Flory 50 Classic Roller
  • Kreidler Flory 50 Classic WK1CA
  • Kreidler MONZA 50 Race / Urban (Fin: WS1 od. L8Y)
  • Rex Bergamo 50
  • Rex Genua 50
  • Rex Palermo
Produktgalerie überspringen

Kunden haben sich ebenfalls angesehen

Rabatt
Kreidler DICE GS/SM 125i Pro Bremssattel vorn silber CBS 781018 Bremsanlage Bremszange Motorrad Ersatzteil Original
Kreidler DICE GS/SM 125i Pro Bremssattel vorn silber CBS 781018 Bremsanlage Bremszange Motorrad Ersatzteil Original

zu Artikel: Bremssattel vorn silber CBS 781018Technik-InfoBremssattelauch zu finden unter: Bremssattel, Bremszange, Brems-Zange, Brems-Sattel, Bremshalterung, Bremsblock, Brems-Block, Bremsvorrichung, Brems-Halterung, Brems-VorrichtungKostenloser Versand Bei Ersatzteilen für jeden zusätzlichen Artikel mit den gleichen Versandkriterien, den Sie von uns kaufen. Hinweise zu: Bremssattel

Verkaufspreis:
Verfügbar
189,90 € Regulärer Preis: 218,39 €
Rabatt
CPI Oliver 50 City Schlosssatz Roller 50ccm 2Takt 730568 Motorroller.de Tankverschluss Tank-Verschluss Tank-Deckel Schloss-Set Zünd-Schloss Scooter
CPI Oliver 50 City Schlosssatz Roller 50ccm 2Takt 730568 Motorroller.de Tankverschluss Tank-Verschluss Tank-Deckel Schloss-Set Zünd-Schloss Scooter

zu Artikel: Schlosssatz komplettDer Schlosssatz Technik-InfoSchlosssatz Schlössersatz, Zündschlosssatz, Schlosssatz, Zuendschlosssatz, Schlossgarnitur, Schloessersatz, Zündschloss, Zuendschloss, Schlossset, Tankdeckel, Tankverschluss, Zündschloss-Satz, Zuendschloss-Satz, Schloss-Garnitur, Schlösser-Satz, Schloesser-Satz, Schloss-Satz, Zünd-Schloss, Zuend-Schloss, Schloss-Set, Tank-Deckel, Tank-Verschluss, Zündschlosskit, Zuendschlosskit, Schlosskit, Schlosssatz Schlosssatz , auch Schlössersatz, oder Zündschloss genannt besteht komplett in Erstausrüster-Qualität. Die preiswerte Alternative, wenn Schlüssel verlorengegangen/abgebrochen, oder Zünd-/Sitzbankschloss defekt sind. Egal was zutrifft, ein neuer Schlosssatz ist oft günstiger als eine Reparatur. Alle Gründe sprechen für einen neuen Schlosssatz, da die Originalteile oft sehr viel teurer sind um nur das defekte Einzelschloss auszutauschen. Das führt dann oft auch zu vielen verschiedenen Schlüsseln und bringt nur unnötige Komplikationen mit sich. Unsere Schlossätze entsprechen einem Schließsystem für alle im Fahrzeug befindlichen Schlösser, mit zwei neuen Schlüsseln. In der Regel kann das Schlosssystem ohne Anpassungsarbeiten ausgetauscht werden. Vor der Bestellung bitte Ihr altes System mit dem abgebildeten, angebotenen neuen Schlosssatzsystem vergleichen. Lieferumfang wie abgebildet. Änderungen auf Herstellerseite vorbehalten. Die Marke Rex ist eine der meistverkauften in Deutschland. Durch ständige Qualitätskontrollen vorort beim Hersteller ist ein hoher Standard gewährleistet. Kostenloser Versand   Bei Ersatzteilen für jeden zusätzlichen Artikel mit den gleichen Versandkriterien, den Sie von uns kaufen. Unsere Ersatzteile für ihren Scooter bzw. Roller oder auch Motorroller können Sie bequem online in unserem Shop kaufen. Egal ob sie Ihren Roller im Kaufhaus oder im Baumarkt gekauft haben, für alle gängigen Europa-, Taiwan-, oder China-Roller finden Sie bei uns passende Bauteile, insbesondere für die Motoren 50 cc, 125 cc, 250 ccm, 2takt, 4takt und für größere Leistungen. Speziell für die Motorentypen 152QMI, 157QMI ,150QMG ,153FMI, 156FMI ,1E40QMB, 1E40QMA , GY6 ,164FML ,125-4T6M ,139QMB, 139QMA, JSD139QMB ,157QMJ, 158MJ ,139FMB in kurzen und langen Versionen in den Normen Euro1, Euro2, Euro3 sowie die neuen Euro 4 Einspritzer-Motoren finden Sie Ersatzteile von hoher Qualität. Gerne können Sie auch per Email nach Ersatzteilen anfragen. Bei Bestellwerten über 100 Euro können Sie auch unseren Finanzierungs- bzw. Ratenkauf-Service nutzen. Beim Kauf von Fahrzeugen können wir Ihnen auch ein Leasing-Angebot unterbreiten, das bietet sich insbesondere für Firmen an, die Betriebsfahrzeuge anschaffen, oder ihren Mitarbeitern ein Fahrzeug zur Verfügung stellen. Wir freuen uns auf Ihre Anfrage. Ein Teil ist defekt - soll es instand gesetzt oder getauscht werden?Immer wieder stellt sich die Frage, ob ein kaputtes Element am Roller getauscht oder besser repariert werden soll, gleichgültig, ob sich um einen Dreirad-Roller, Elektroroller bzw. E-Roller oder Motorroller dreht. Ein neues Element, welches verhältnismäßig schnell ersetzt werden kann, ist nicht nur günstiger, sondern bietet auch eine deutlich höhere Ausfallsicherheit als nach einer Instandsetzung. Oftmals kann man einen nicht sofort selbst ermitteln und eine qualifizierte Werkstatt muss feststellen, weswegen der Roller Probleme macht. In dem Fall wäre es sinnvoller, über unserer Internetseite eines der einbaufertigen Ersatzteil-Kits zu bestellen, die wir in zahlreichen diversen Ausführungen anbieten. .Bei uns stimmen Qualität und PreisDie Qualität unserer Produkte braucht auf dem Weltmarkt keine Mitbewerber zu fürchten. Wieso sind wir trotz hoher Qualität so günstig? Das liegt nicht allein an unserer Preisgestaltung, sondern in erster Linie daran, dass wir unsere Produkte in großen Einkaufsmengen beziehen. Sämtliche lieferbaren Komponenten für Ihren fahrbaren Untersatz kriegen Sie bei uns sowohl in guter Qualität als auch zu einem Preis, der Ihnen ein Lächeln ins Gesicht zaubert. Sie suchen für einen Sundiro oder Eppella Roller ein Ersatzteil? Keine Panik, wir haben sie vorrätig.Wer möchte, bekommt bei uns klarerweise auch das Originalteil für sein motorisiertes Zweirad. Die meisten fassen jedoch wegen der guten Preise und der Erstausrüster-Qualität unsere Nachbauten ins Auge. Sie werden ohne Zweifel keine bessere Alternative finden, um zu attraktiven Kosten Ihr Zweirad wieder flott bekommen zu können.Bilder erleichtern das Auffinden der gewünschten KomponentenIn Verbindung mit den Erläuterungen finden Sie in unserem Online-Shop auch anschauliches Bildmaterial. Dadurch können Sie sofort Ihr altes Bauteil mit dem erhältlichen Ersatz vergleichen und gehen somit sicher, dass Sie dann auch de facto den passenden Artikel bekommen. Von Bedeutung dabei ist, dass Ihre Bestellung nicht nur optisch, sondern auch in den Spezifikationen und Abmessungen mit dem alten Teil übereinstimmt. Auf welche Weise Sie davon profitieren:Kurzfristige LieferzeitenKauf ohne Risiko dank "Geld zurück" - GarantieAbsolute Verkehrssicherheit des Zweirads, besonders bei BremsanlagenPräzisionsfertigung nach DIN-NormSie bezahlen bei Bestellung mehrerer Komponenten mit denselben Versandkriterien nur einmal VersandkostenSie erhalten von uns ausschließlich die Erstausrüsterqualität - auch bei preisgünstigen NachbautenAlle unsere Erzeugnisse sind gebrauchstauglich, preisgünstig sowie betriebssicherAbhol- und BringserviceRoller-AnkaufUnser Lager umfasst Einbauelemente und Zubehör für circa 250 Marken und 8500 ModelleEgal, ob Sie einen Motorroller, ein Fun-Fahrzeug, einen Buggy oder ein Quad kaufen wollen. Wir sind für solche Fälle das Fachgeschäft Ihres Vertrauens. Weshalb sollten Sie sich an uns wenden? Weil wir dank unserer Jahrzehnte langen praktischen Erfahrung das nötige Know-how für dieses Geschäftsfeld besitzen, können wir Ihnen den bestmöglichen Service bieten. Unsere Passion ist nicht nur die Vermarktung der Roller, sondern unsere Kunden auch hinterher zu betreuen sowie einen optimalen Fahrzeugservice zu bewerkstelligen. Für unser Familienunternehmen ist das Geschäft rund um die Motorroller der vollständige Lebensinhalt. Zumal Kaufen auch Vertrauenssache ist, sollte man sich dementsprechend den bevorzugten Fachhändler im Vorfeld genau angucken, bei dem man vorhat ein motorisiertes Zweirad zu erwerben. Bei uns ist alles rund um unseren Fachhandel transparent! Sie dürfen gerne jederzeit bei uns vorbeikommen und sich persönlich ein Bild machen.Das was Sie dort sehen, wird Sie auf jeden Fall überzeugen.Wenn Ihnen der Weg zu uns zu weit ist, können Sie sich auch durch das Trustedshops-Siegels und die zahlreichen Ebay Bewertungen kundig machen. Die Beurteilungen von Trustedshops sind prinzipiell nicht nur gänzlich wertneutral sondern auch überaus aussagekräftig. Sowohl der Verkaufsshop auf unserer Internetseite Motorroller.de als auch unsere Geschäftspraxis wurden von dieser Einrichtung bisher durchgehend mit "sehr gut" eingestuft. Unsere Kundenbewertungen bei Ebay liegen mit einem Wert von zirka 99,9 % gleichermaßen in einem hervorragenden Bereich. Was beweisen all diese Ergebnisse ganz offensichtlich? Dass wir auf allen Gebieten stets geben!! Denken Sie aber bitte daran, dass wir keine Maschinen sondern auch nur Menschen sind, denen ein Fehler passieren kann. Für den Fall, dass also etwas nicht vollständig zu Ihrer Zufriedenheit ausfällt, bitten wir Sie, uns die Gelegenheit zu geben, die Sache in Ordnung zu bringen.Unser kompetentes Mitarbeiterteam steht Ihnen täglich zwischen 8:00 und 18:00 Uhr sowie am Samstag von 8:00 bis 13:00 Uhr zur Verfügung.Wer wir sindEs liegt uns sehr viel an der Zufriedenheit unserer Kunden. Die Geschäftstätigkeit unseres Unternehmens fing bereits vor über fünfzig Jahren mit dem Bau von Maschinen an. Den Handel mit motorisierten Zweirädern wiederum, betreiben wir inzwischen auch schon seit mehr als 25 Jahren ausgesprochen erfolgreich. Unser Schwerpunkt ist gegenwärtig auf den Vertrieb von Fahrzeugzubehör, das "Must have" zur Steigerung der Leistung und Einbauteile für die häufigsten Roller ausgerichtet.Unsere Artikelauswahl umfasst circa 500.000 KomponentenBei uns finden Sie unter Motorroller.de nahezu sämtliche Teile und motorisierte Zweiräder aus Fernost und Europa. Wir haben Artikel, Ersatzteile und passendes Zubehör für ca. 8500 Typen und 250 Fabrikate auf Lager. Darunter sind z.B. Lieferanten wie Jonway, Kreidler, Yamaha oder Adly zu finden. Wir haben Summa summarum mehr als 500.000 Produkte von zahlreichen Anbietern im Ersatzteil-Programm, welche auf einer Fläche von über 1.000 m² in unseren Hochregalen auf Lager liegen. Alles was Sie als Fahrer eines Rollers brauchen, finden Sie im Zubehörsegment. Das beginnt bei den Schutzhelmen über das Top Case und den Windschildern, und geht bis hin zu Handschuhen, Regensets und Nierengürteln.Damit die Tuningfreaks nicht zu kurz kommen, haben wir für sie ausgesuchte Artikel wie Auspuffanlagen, Kolben, Zylinder und weitere Dinge im Produktsortiment.Direkt nach der ProduktionKein Artikel verlässt unser Haus, ehe er nicht auf tadellose Qualität geprüft worden ist. Mit anderen Worten, alle Fahrzeuge, welche den Hersteller verlassen haben und bei uns angeliefert werden, überprüften wir nochmals umfassend auf etwaige Fehler respektive Transportschäden, ehe wir sie in die Hände unserer Kunden übergeben. Wir packen zuallererst jeden Roller nach der Ankunft in unserem Haus aus und unterziehen es auf unserem Zweirad-Prüfstand einem Testlauf. Bei dem gelieferten Motorroller wird nach der Lieferung zum Käufer am Ende erneut ein Funktionstest ausgeführt. So ist eine einwandfreie Nutzung des Gefährts de facto gesichert.UmweltschutzWas uns sehr am Herzen liegt, ist ein effektiver Umweltschutz. Zur Erhaltung der Luftreinheit haben unsere Fahrzeuge im Prinzip Motoren, welche überaus wirtschaftlich sind. Die Transportverpackung, die bei der Anlieferung Roller anfällt, nehmen wir natürlich wieder mit, um sie einer fachgerechten Müllentsorgung zuzuführen - auch das ist für uns ein Beitrag zum Umweltschutz.Ihren Roller kaufen wir gerne anNach dem Kauf eines neuen Motorrollers aus unserem Zweiradprogramm wollen Sie sich von Ihrem ausgedienten Modell trennen? Kein Problem! Wir nehmen Ihren alten Roller gerne in Zahlung.Haben Sie immer noch Zweifel?Geben Sie uns doch die Gelegenheit, unsere fachliche Kompetenz zu beweisen. Man darf uns nicht mit den zahlreichen billigen Internetshops, welche heute kommen und morgen schon wieder weg sind, auf eine Stufe stellen. Ausschließlich hinsichtlich zeitgemäßer Innovationen und neuer Ideen lässt sich eine gut fundierte geschäftliche Basis schaffen. Darum steht in unserem stetig wachsenden Betrieb Fleiß und ständiges Lernen stets an erster Stelle. Überzeugen Sie sich persönlich von unserem vortrefflichen Service und besuchen Sie uns in unserem Unternehmen in Lindenfels-Eulsbach.So sind wir zu findenUngefähr 60 km südlich von Frankfurt am Main liegt Lindenfels im Regierungsbezirk Darmstadt. Falls Sie mit dem Auto anreisen, erreichen Sie den Ort per Autobahn von Norden über Frankfurt/Main (A6) bzw. von Süden über Stuttgart, Karlsruhe und Mannheim (A8). Es besteht auch eine gute Verkehrsanbindung per Bahn.Unsere TopmarkenUnsere TopmarkenHinweise zu: Schlosssatz

Verkaufspreis:
Nicht verfügbar
68,99 € Regulärer Preis: 79,34 €
Rabatt
Schaltstange lang Tongjian Schaltwelle Buggy 250ccm 4Takt Motorroller.de Schaltstern Schalthebelwelle komplett 250ccm-4Takt Strassenbuggy 250 Sport
Schaltstange lang Tongjian Schaltwelle Buggy 250ccm 4Takt Motorroller.de Schaltstern Schalthebelwelle komplett 250ccm-4Takt Strassenbuggy 250 Sport

zu Artikel: Schaltstange lang 6.000.233Schaltstange langTechnik-InfoSchaltstangeSchaltstange, Schaltstern, Schalthebelwelle, Schalthebelwelle komplett, SchaltwelleDieser Artikel passt bei vielen Modellen, unter anderem für: Eppella ECM BUGGY 250, Straßenbuggy 250 I+II, Straßenbuggy 250 III, Straßenbuggy 250, Straßenbuggy 250 Sport, Kasea BUGGY 250, Straßenbuggy 250, Straßenbuggy 250 I+II, Straßenbuggy 250 III, Straßenbuggy 250 Sport, TBM BUGGY 250, Straßenbuggy 250, Straßenbuggy 250 I+II, Straßenbuggy 250 III, Straßenbuggy 250 Sport, Tongian BUGGY 250, Straßenbuggy 250, Straßenbuggy 250 I+II, Straßenbuggy 250 III, Straßenbuggy 250 Sport, Twister Hammerhead 250, Hammerhead 250 I+II, Hammerhead 250 III, Hammerhead 250 Sport, WangYe BUGGY 250, Straßenbuggy 250, Straßenbuggy 250 I+II, Straßenbuggy 250 III, Straßenbuggy 250 SportSeit Jahrzehnten hat sich dieser Hersteller im internationalen Markt etabliert.Kostenloser Versand   Bei Ersatzteilen für jeden zusätzlichen Artikel mit den gleichen Versandkriterien, den Sie von uns kaufen.Unsere Ersatzteile für ihren Scooter bzw. Roller oder auch Motorroller können Sie bequem online in unserem Shop kaufen. Egal ob sie Ihren Roller im Kaufhaus oder im Baumarkt gekauft haben, für alle gängigen Europa-, China-, oder Taiwan-Roller finden Sie bei uns passende Bauteile, insbesondere für die Motoren 50 cc, 125 cc, 250 ccm, 4-Takt, 2-Takt und für größere Leistungen. Speziell für die Motorentypen 139QMB, 139QMA, JSD139QMB ,139FMB , GY6 ,152QMI, 157QMI ,1E40QMB, 1E40QMA ,153FMI, 156FMI ,157QMJ, 158MJ ,125-4T6M ,164FML ,150QMG in kurzen und langen Versionen in den Normen Euro1, Euro2, Euro3 sowie die neuen Euro 4 Einspritzer-Motoren finden Sie Ersatzteile von bewährter Qualität. Gerne können Sie auch per Email nach Ersatzteilen anfragen. Bei Bestellwerten über 100 Euro können Sie auch unseren Finanzierungs- bzw. Ratenkauf-Service nutzen. Beim Kauf von Fahrzeugen können wir Ihnen auch ein Leasing-Angebot unterbreiten, das bietet sich insbesondere für Firmen an, die Betriebsfahrzeuge anschaffen, oder ihren Mitarbeitern ein Fahrzeug zur Verfügung stellen. Ihre Anfrage nehmen wir gerne entgegen

Verkaufspreis:
Verfügbar
11,76 € Regulärer Preis: 13,52 €
Rabatt
Ansaugstutzen Luftfilter 125ccm 4Takt Kreidler Scooter 750255 Motorroller.de Ansaugkrümmer Ansaugrohr Luftansaugrohr Ansauggummi Anschlussbogen Qingqi
Ansaugstutzen Luftfilter 125ccm 4Takt Kreidler Scooter 750255 Motorroller.de Ansaugkrümmer Ansaugrohr Luftansaugrohr Ansauggummi Anschlussbogen Qingqi

Ansaugstutzen 125ccm 4Takt LuftfilterAnsaugstutzen Ansaugstutzen, Ansaugkrümmer, Ansaugrohr, Ansaugkruemmer, Luftansaugrohr, Ansaugschlauch, Ausaugleitung, Ansaugstück, Ansaugstueck, Ansaugtrakt, Ansaugeinheit, Ansaugteil, Ansaug-Stutzen, Ansaug-Krümmer, Ansaug-Kruemmer, Ansaug-Rohr, Ansaug-Schlauch, Ansaug-Leitung, Ansaug-Trakt, Ansaug-Einheit, Luftfiltereinlassbogen, Ansauggummi, Verbindungsstück, Verbindungsstueck, Ansaug, Ansaugbogen, Ansaugwinkel, Anschlussbogen, Anschlusswinkel Der Ansaugstutzen ist von hoher Qualität und geeignet für nahezu alle 110 ccm 2-Takt Motoren.Unsere gelieferten Artikel haben immer Erstausrüsterqualität, ganz egal, ob Sie einen preiswerteren Nachbau oder das Originalelement vom Fahrzeughersteller bestellen.Dank eines jahrelangen Einsatzes haben sich die Teile dieses Motorrollerherstellers bestens bewährt. Man kann alle Bauelemente in unserem Onlineshop kaufen. Dazu kommt, dass durch dauerhaften Erfahrungsaustausch die Qualität kontinuierlich gesteigert werden konnte.Jedes extra Teil mit denselben Versandvoraussetzungen, das Sie bei uns bestellen, wird von uns kostenlos ausgeliefert.Es ist wirklich easy, unsere Zubehörteile für Ihren Roller, Elektroroller beziehungsweise E-Roller, Scooter oder auch 3-Rad-Roller [Dreirad-Roller] über unseren Online Shop im Internet zu ordern. Wo Sie Ihr motorisiertes Zweirad gekauft haben, es ist ganz egal. Ob im Baumarkt, Kaufhaus oder Fachgeschäft, Sie finden bei uns für nahezu alle gängigen Zweiräder aus China, Taiwan oder Europa passenden Ersatzteile. Ein anderer Weg für Fragen in Bezug auf Komponenten, ist das Medium Email. Bei einer Bestellung über unseren Online Shop erfolgt die Bezahlung in der Regel über das sichere PayPal. Über Amazon können Sie andererseits bequem per Bankabbuchung die Bestellung bezahlen.Bei Bestellwerten über 100 Euro können Sie den Kaufpreis auch auf Raten zurückzahlen. Auch ein Fahrzeugleasing wäre ohne weiteres denkbar. Dieser Weg wäre mit Sicherheit für Unternehmen interessant, die ihren Arbeitnehmern ein Zweirad kaufen oder Betriebsfahrzeuge anschaffen wollen. Fragen Sie uns einfach.Dieses Teil passt zu folgenden Zweiräder beziehungsweise Motoren:passender Motor: 125ccm-4Takt Das kaputte Teil besser gleich auswechseln oder instand setzen lassen? Wird mal irgendetwas am Roller fehlerhaft, dann hat man in aller Regel die Wahl zwischen instand setzen oder Austauschen. Da ist es unerheblich, ob es sich dabei um einen gleichgültig, ob sich um einen Dreirad-Roller, Elektroroller bzw. E-Roller oder Motorroller dreht. Nicht immer ist eine solche Entscheidung einfach zu treffen. Normalerweise ist es allerdings günstiger, das defekte Element gleich auszutauschen, statt zu reparieren. Darüber hinaus bietet ein Ersatzteil eine bedeutend höhere Funktionssicherheit als eine Reparatur des Motorrollers. Ein versteckter Fehler lässt sich oft nur von einem Fachmann mittels Spezialwerkszeugen finden. In einem solchen Fall wäre es vorteilhafter, über unserer Internetseite eines der einbaufertigen Komplett-Kits zu bestellen, welche wir für zahlreiche unterschiedliche Komponenten anbieten. Es ist in der Tat deutlich kostengünstiger und auch leichter, gleich die ganze Baugruppe zu ersetzen als viel Geld für die Fehlerbeseitigung auszugeben. Bauteile von exzellenter Qualität Die Qualität unserer Komponenten braucht keine Konkurrenz auf dem Weltmarkt zu scheuen. Weswegen sind wir trotz hoher Qualität so günstig? Wir kalkulieren nicht lediglich unsere Preise äußerst moderat, sondern wir kaufen auch in wirtschaftlich vernünftigen Produktmengen ein. Falls Ihr Motorroller einmal neues Teil braucht, wenden Sie sich vertrauensvoll an uns. Sie bekommen bei uns ausnahmslos beste Qualität zu einem attraktiven Preis. Auch für Motorroller, Quads und Buggys, die nicht mehr hergestellt werden, haben wir generell die Zubehörteile vorrätig. So z.B. für die Marken Eppella und Sundiro.Natürlich liefern wir auch Originalteile vom Fahrzeughersteller, obwohl unsere Nachbauten einen qualitativen Vergleich mit dem Erstausrüster-Produkt nicht scheuen müssen, aber grundsätzlich wesentlich kostengünstiger sind. Sie können mit unseren Ersatzteilen die Instandsetzung Ihres fahrbaren Untersatzes entweder selbst ausführen oder von einem Fachmann ausführen lassen. Sie können, wie bereits erwähnt, eine Menge Geld sparen, ohne Einbußen in der Qualität befürchten zu müssen, für den Fall, dass Sie auf preiswerte Nachbauten ausweichen. Zu solch günstigen Kosten und in Erstausrüster-Qualität werden Sie voraussichtlich Ihren fahrbaren Untersatz nicht auf andere Art instand setzen können. Eine große Hilfe beim Auffinden der benötigten Bauteile sind die jeweiligen Produktbilder Auf unserer Seite gibt es zahlreiches Bildmaterial, das Sie dabei unterstützt, Ihr altes Teil auf einfache Weise mit dem verfügbaren Ersatz zu vergleichen. In Folge dessen können Falsch- oder Fehllieferungen wegen inkorrekter Bestellungen bereits im Vorhinein ausgeschlossen werden. Hierbei ist es entscheidend, dass das Element, welches Sie austauschen wollen, nicht nur augenscheinlich, sondern auch in den technischen Angaben und Dimensionen mit Ihrer Bestellung zusammenpasst. Zehn Vorteile aus denen Sie Nutzen ziehen:"Geld zurück" - Garantie, daher Kauf ohne RisikoAuch bei preiswerten Nachbauten bekommen Sie von uns stets die ErstausrüsterqualitätISO-zertifizierte PräzisionsfertigungAbsolute Verkehrssicherheit des Motorrollers, speziell bei BremsanlagenEinbauteile und Artikel für zirka 250 Marken und 8500 Modelle auf LagerAbhol- und BringserviceWir kaufen Ihr FahrzeugSie zahlen nur einmal Versandkosten beim Ordern mehrerer Teile mit denselben VersandkriterienKurze LieferzeitenUnsere sämtlichen Komponenten sind kostengünstig, zuverlässig und betriebssicherWir sind die erste Adresse, für den Fall, dass es um den Kauf von einem Roller, Fun Fahrzeug, Straßenbuggy oder Quad geht. Weswegen sind wir der optimale Partner für Sie? Weil wir die Meister-Qualifikation und das entsprechende Know-how besitzen, welche man für dieses Geschäftsfeld unter allen Umständen benötigt. Unsere Leidenschaft ist nicht bloß die Vermarktung der Roller, sondern den Käufer auch danach zu betreuen sowie einen optimalen Fahrzeugservice durchzuführen. Als Familienbetrieb betreiben wir nicht lediglich das Geschäft rund um die Motorroller, wir leben das Geschäft förmlich. Weil Kaufen auch Vertrauenssache ist, sollte man sich dementsprechend das ausgewählte Fachgeschäft vorab genau angucken, bei dem man vorhat ein Zweirad zu erwerben. in unserem Betrieb ist alles hundertprozentig nachvollziehbar! Sie dürfen gerne jederzeit bei uns vorbeikommen und sich selber ein Bild machen.Sie sehen dann die Bestätigung unserer Qualität quasi mit eigenen Augen.Potentielle Kunden, denen die Strecke zu uns zu weit ist, können sich von zu Hause aus durch die verschiedenen Ebay Bewertungen und des Trustedshops-Siegels über uns sachkundig machen. Zum Beispiel wird sowohl unser Shop als auch unsere Geschäftspraxis mit dem Trustedshops Gütesiegel "sehr gut" beurteilt, was uns zu Recht mit Stolz erfüllt. Auch bei Ebay liegen wir mit dem Bewertungsfaktor 99,9 % optimal im Rennen. Was beweisen all diese Resultate ganz eindeutig? Dass wir auf allen Gebieten stets geben!! Bitte denken Sie daran, dass dort wo gearbeitet wird, auch mal Fehler passieren. Für den Fall, dass also etwas nicht zu Ihrer Zufriedenheit ausfällt, bitten wir Sie, uns die Gelegenheit zu geben, die Sache in Ordnung zu bringen.Wann wir Ihnen zu Diensten stehen? Täglich von 8:00 bis 18:00 Uhr und am Samstag von 8:00 bis 13:00 Uhr. Unser Unternehmen stellt sich vor Wir haben uns die Zufriedenheit unserer Kundschaft auf die Fahne geschrieben. Mehr als 25 Jahre sind wir äußerst erfolgreich im Geschäft mit Zweirädern im Einsatz, wobei wir uns indes bereits vor über 50 Jahren auf dem Gebiet des Maschinenbaus Erfolg versprechend etabliert haben. Heute haben wir uns neben der Vermarktung von Motorrollern, auf Zubehör, das "Must have" für Tuning und Einbauteile spezialisiert. Wir haben etwa 500.000 Ersatzteile auf Lager Wenn Sie zu Ihrem Roller ein Zubehörteil suchen, werden Sie auf unserer Internetseite unter Motorroller.de bestimmt fündig. In unserem Versandlager befinden sich für ungefähr 8500 Ausführungen und 250 Fabrikate diverse Einbauteile, passendes Zubehör und Artikel. Zu unseren Lieferanten zählen beispielsweise Lieferanten wie Adly, Jonway, Yamaha oder Kreidler. Summa summarum haben wir auf einer Lagerfläche von über 1.000 m² mehr als 500.000 Produkte von unterschiedlichen Produzenten in unseren Hochregalen lieferbar. Alles was Sie als Fahrer eines Rollers brauchen, finden Sie im Zubehörsegment. Das beginnt beim Top Case über die Schutzhelme und den Windschildern, und geht bis hin zu Regensets, Handschuhen und Nierengürteln.Auch für die Tuningfans, welche es gerne sportlich mögen, bieten wir ausgesuchte Artikel an, wie beispielsweise Kolben, Auspuffanlagen, Zylinder und weitere Dinge Zylinder, Kolben, Auspuffanlagen und andere Dinge. Unmittelbar nach der Produktion Fortlaufende Qualitätskontrolle ist unsere Passion. Mit anderen Worten heißt das, dass sämtliche Roller, die vom Herstellerwerk bei uns eintreffen, von unseren geschulten Mitarbeitern nochmals einer eingehenden Überprüfung auf eventuelle Fehler respektive Transportschäden unterzogen werden. Erst dann übergeben wir sie an unsere Kunden. Wir packen erstmal jeden Roller nach der Ankunft in unserem Haus aus und unterziehen es auf unserem Zweirad-Prüfstand einem Probelauf. Bei dem gelieferten Motorroller wird dann nach der Anlieferung beim Kunden schließlich noch einmal ein Funktionstest ausgeführt. Hierdurch ist eine problemlose Nutzung des Gefährts de facto garantiert. Wir legen Wert auf eine saubere Umwelt Wir tragen zum Umweltschutz bei. Auf der einen Seite sind unsere Zweiräder allesamt mit wirtschaftlichen Verbrennungsmotoren ausgestattet. Logischerweise nehmen wir im Sinne einer sauberen Umwelt das Verpackungsmaterial wieder mit, das bei der Auslieferung unserer Roller anfällt und führen es einer fachgerechten Abfallentsorgung zu. Ihren ausgedienten Roller kaufen wir gerne an Ihr alter Motorroller ist in die Jahre gekommen und Sie haben vor, bei uns ein neues Modell zu kaufen. Aber was tun mit dem alten Fahrzeug? Seien Sie deswegen unbesorgt! Lassen Sie das unser Problem sein, indem wir Ihren ausgedienten Roller ankaufen. Sie sind immer noch nicht überzeugt? Falls wir von Ihnen die Chance dazu erhalten, können wir die Qualität unserer Leistungen auch unter Beweis stellen. Man darf uns nicht mit den billigen Internet-Shops verwechseln, die heute kommen und nach kurzer Zeit wieder weg sind. Es ist uns bekannt, dass sich ausschließlich dank fortschrittlicher Innovationen und neuer Ideen die Ausgangsbasis für eine erfolgreiche geschäftliche Tätigkeit legen lässt. Überzeugen Sie sich selbst von unserem herausragenden Kundenservice und besuchen Sie uns doch mal in unserem Betrieb in Lindenfels-Eulsbach. Wie finden Sie unser Unternehmen? Lindenfels liegt rund 60 km im Süden von Frankfurt/Main und 40 km nordöstlich von Mannheim im Odenwald (Regierungsbezirk Darmstadt). Optional ist es selbstverständlich auch möglich, mit der Bahn zu fahren. Unsere TopmarkenUnsere Topmarken

Verkaufspreis:
Nicht verfügbar
18,55 € Regulärer Preis: 21,33 €
Rabatt
Daifo Gasarmatur Gasdrehgriff Adly Cat 50 Roller TB07A-141010 Motorroller.de 22-24mm Länge=140mm Lenkergriff Lenker-Griffe Gasgriffhülse Gas-Griff
Daifo Gasarmatur Gasdrehgriff Adly Cat 50 Roller TB07A-141010 Motorroller.de 22-24mm Länge=140mm Lenkergriff Lenker-Griffe Gasgriffhülse Gas-Griff

zu Artikel: Gasdrehgriff TB07A-141010 GasdrehgriffTechnik-InfoGasdrehgriffDrehgriff, Gasdrehgriff, Gasgriffhülse, Gasgriffhuelse, Gasgriff, Griffgummi, Haltegriff, Lenkergriff, Handgriff, Lenker-Griffe, Hand-Griffe, Griff-Gummi, Gas-Griff, Dreh-Griff, Halte-Griff, Gasarmatur, Gasgebeeinheit, Gasgriffarmatur, Gasdrehgriffgehäuse, GasdrehgriffgehaeuseUnsere Griffe sind so gestaltet, dass sie gut in der Hand liegen und guten Grip bieten. Sie sind alle in Erstausrüsterqualität.Dieser Artikel passt bei vielen Modellen, unter anderem für: Adly Cat 50, Adly JET 50, Adly Silver Fox SF 50, Adly Thunder Bike TB 50, Aprilia Gulliver 50 AC, Aprilia Rally 50 AC, Aprilia Scarabeo 50 AC, Aprilia Sonic 50 AC, Aprilia SR 50 LC ZD4MZ Minarelli, ATU Explorer Kallio 50, Kostenloser Versand   Bei Ersatzteilen für jeden zusätzlichen Artikel mit den gleichen Versandkriterien, den Sie von uns kaufen.Unsere Ersatzteile für ihren Motorroller bzw. Roller oder auch Scooter können Sie bequem online in unserem Shop kaufen. Egal ob sie Ihren Roller im Kaufhaus oder im Baumarkt gekauft haben, für alle gängigen China-, Europa-, oder Taiwan-Roller finden Sie bei uns passende Bauteile, insbesondere für die Motoren 50 cc, 125 cc, 250 ccm, 2takt, 4takt und für größere Leistungen. Speziell für die Motorentypen 152QMI, 157QMI ,139FMB ,139QMB, 139QMA, JSD139QMB ,150QMG ,1E40QMB, 1E40QMA ,157QMJ, 158MJ , GY6 ,125-4T6M ,164FML ,153FMI, 156FMI in kurzen und langen Versionen in den Normen Euro1, Euro2, Euro3 sowie die neuen Euro 4 Einspritzer-Motoren finden Sie qualitativ hochwertige Ersatzteile. Gerne können Sie auch per Email nach Ersatzteilen anfragen. Bei Bestellwerten über 100 Euro können Sie auch unseren Finanzierungs- bzw. Ratenkauf-Service nutzen. Beim Kauf von Fahrzeugen können wir Ihnen auch ein Leasing-Angebot unterbreiten, das bietet sich insbesondere für Firmen an, die Betriebsfahrzeuge anschaffen, oder ihren Mitarbeitern ein Fahrzeug zur Verfügung stellen. Bitte fragen Sie an.

Verkaufspreis:
Verfügbar
14,95 € Regulärer Preis: 17,19 €
Roller Daco Cat 50 125 ccm 2Takt 4Takt Vorort Service Home Mobil Motorroller.de Kundendienst Werkstatt Reparatur Wartung Wagen Inspektion Ersatzteil
Roller Daco Cat 50 125 ccm 2Takt 4Takt Vorort Service Home Mobil Motorroller.de Kundendienst Werkstatt Reparatur Wartung Wagen Inspektion Ersatzteil

zu Artikel: Roller Mobil Service Inspektion und Reparatur Unser Vorort Service bietet Ihnen eine Menge Vorteile und Sie können Ihre Inspektion oder Reparatur ganz bequem über unseren Shop bestellen. Wir kommen mit einer vollfunktions tüchtigen Werkstatt zu Ihnen nach Hause oder zu Ihrer Arbeitsstelle. Es führen ausschließlich Fachkräfte die Inspektionen und Reparaturen an Ihrem Motorroller durch. Inspektion Folgende Leistungen sind im angebotenen Preis enthalten: 1/2 Stunde Arbeitszeit Anfahrt zu Ihnen deutschlandweit (ohne Inseln) Die Inspektionen können wir an den meisten taiwanesischen und chinesischen Hersteller-Modellen durchführen, vorzugsweise: Adly, AEON, AGM, ATU, Baumarktroller, Baotian, Benzhou, Chinaroller, Eppella, Generic, Jack Fox, Jonway, Kreidler, Nova Motors, PGO, Quinqi, Rex, SI Zweirad, SMC, STM, Znen oder an Folgende Motorentypen 1E40QMB 2 Takter 50ccm, 139 QMA, 139 QMB 4 Takter 50ccm, 152 QMI 4 Takter 125ccm, 157 QMI 4 Takter 150ccm, andere Modelle auf Anfrage. Bei anderen Herstellern bitten wir Sie die Ersatz- oder Zubehörteile nach dem beantragen der Inspektion in unserem Onlineshop zu bestellen, damit diese bei Ihnen Vorort zum Einbauen bereit sind. Reparatur: Folgende Leistungen sind im angebotenen Preis enthalten: 1/2 Stunde Arbeitszeit Anfahrt zu Ihnen deutschlandweit Mehraufwand und zusätzliche Ersatzteile werden extra berechnet und müssen direkt beim Monteur bar bezahlt werden. Wenn durch einen Unfallschaden Ersatz- oder Zubehörteile benötigt und verbaut werden sollen, bestellen Sie diese bitte vor dem beantragen der Reparatur in unserem Onlineshop, damit diese durch unseren Moteur Vorort eingebaut werden können. Nie mehr zur Werkstatt, denn wir kommen zu Ihnen nach Hause oder zu Ihrer Arbeitsstelle. Nutzen Sie unseren deutschlandweiten Heimservice. Ablauf:Nach Bestellung erhalten Sie eine Bestellbestätigung per E-Mail, bitte antworten Sie darauf und senden Sie uns Bilder des Fahrzeugs, sowie der Fahrzeugpapiere/COC-Papiere (Vorder- und Rückseite) zu. Schreiben Sie bitte dazu was am Fahrzeug gemacht werden soll (Inspektion oder Reparatur), geben Sie den aktuellen Kilometerstand an und beschreiben Sie Fehler, die auftreten und was Sie ggf. bereits dagegen unternommen haben. Nach Eingang der Fahrzeuginformationen und dem Zahlungseingang, bekommen Sie schnellstmöglich einen Termin für Ihren Service/Ihre Reparatur von uns per E-Mail mitgeteilt. Diesen stimmen wir dann mit Ihnen ab und wenn der Termin feststeht, planen wir Sie sofort in die nächste Tour ein. Die Vorlaufzeit für diesen Service beträgt nach Zahlungseingang ca. 14 Tage.

Regulärer Preis:
Kurzfristig lieferbar
134,40 €