Zum Hauptinhalt springen Zur Suche springen Zur Hauptnavigation springen
Menü
efr
erf
rrrf
Schnell lieferbar
14 Tage Rückgaberecht
Schneller DPD Versand

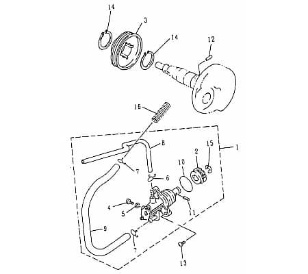
zu Artikel: Kraftstoffbehälter Kraftstoffbehaelter 43110-PAF-00

Technik-Info

Kraftstoffbehälter

Tank, Spritbehälter, Kraftstoffbehaelter, Kraftstoffbehälter, Benzintank

Seit vielen Jahren arbeiten wir mit diesem Hersteller erfolgreich und zuverlässig zusammen. Die Teile haben sich in der Praxis stets bewährt.

Kostenloser Versand   Bei Ersatzteilen für jeden zusätzlichen Artikel mit den gleichen Versandkriterien, den Sie von uns kaufen.

Unsere Ersatzteile für ihren Scooter bzw. Roller oder auch Motorroller können Sie bequem online in unserem Shop kaufen. Egal ob sie Ihren Roller im Kaufhaus oder im Baumarkt gekauft haben, für alle gängigen China-, Europa-, oder Taiwan-Roller finden Sie bei uns passende Bauteile, insbesondere für die Motoren 50 cc, 125 cc, 250 ccm, 4-Takt, 2-Takt und für größere Leistungen. Speziell für die Motorentypen 139FMB ,157QMJ, 158MJ , GY6 ,125-4T6M ,150QMG ,153FMI, 156FMI ,164FML ,139QMB, 139QMA, JSD139QMB ,152QMI, 157QMI ,1E40QMB, 1E40QMA in kurzen und langen Versionen in den Normen Euro1, Euro2, Euro3 sowie die neuen Euro 4 Einspritzer-Motoren finden Sie hochqualitative Ersatzteile. Gerne können Sie auch per Email nach Ersatzteilen anfragen. Bei Bestellwerten über 100 Euro können Sie auch unseren Ratenkauf- bzw. Finanzierungs-Service nutzen. Beim Kauf von Fahrzeugen können wir Ihnen auch ein Leasing-Angebot unterbreiten, das bietet sich insbesondere für Firmen an, die Betriebsfahrzeuge anschaffen, oder ihren Mitarbeitern ein Fahrzeug zur Verfügung stellen. Ihre Anfrage nehmen wir gerne entgegen

Baugruppe: Rahmen

Artikelposition in Explosionszeichnung: 2

Ersatzteil: Benzintank

Motorroller bequem online kaufen – von der Bestellung bis zur Lieferung


Mobiler Home Service – Bundesweit Inspektionen und Reparaturen


Motorroller.de – Über uns – Ihr Support vom Profi seit 1993

Ihr Finanzierungsplan**
Monate Rate mtl. Gesamt
6039,67 €2.380,49 €
12157,59 €1.891,14 €

Einfach im Bestellvorgang die Expokredit-Finanzierung als Zahlungsweise auswählen ...

  • Rex Flash 50
Produktgalerie überspringen

Kunden haben sich ebenfalls angesehen

Rabatt
Stellschraube Jonway Monza 50 Race Urban Feder 2010915-6 Motorroller.de Einstellschraube 50ccm-4Takt Scooter REX Monaco 50 Race/Urban Moped Ersatzteil
Stellschraube Jonway Monza 50 Race Urban Feder 2010915-6 Motorroller.de Einstellschraube 50ccm-4Takt Scooter REX Monaco 50 Race/Urban Moped Ersatzteil

zu Artikel: Stellschraube komplett Stellschraube 2010915-6 Technik-Info Stellschraube Einstellschraube, Stellschraube Feder, Stellschraube, Justierschraube Seit vielen Jahren beziehen wir Teile von diesem Herstellers, und die Teile haben sich täglichen Einsatz bewährt. Es ist uns gelungen durch beständigen Erfahrungsaustausch die Qualität auf ein Maximum anzuheben. Kostenloser Versand   Bei Ersatzteilen für jeden zusätzlichen Artikel mit den gleichen Versandkriterien, den Sie von uns kaufen. Sie können unsere Ersatzteile für ihren Roller bzw. Motorroller oder auch Scooter bequem online in unserem Shop kaufen. Egal ob Kaufhaus-Roller oder im Baumarkt-Roller, für alle gängigen Europa-, China-, oder Taiwan-Roller finden Sie bei uns passende Bauteile. Speziell für die Motoren 50 cc, 125 cc, 250 ccm, 2takt, 4takt und für größere Leistungen. Speziell für die Motorentypen 139QMB, 139QMA, 1E40QMB, 152QMI, 157QMI, GY6, 125-4T6M, 139FMB, 153FMI, 156FMI, 157QMJ, 158MJ, 164FML, 1E40QMA, JSD139QMB, 150QMG in kurzen und langen Versionen in den Normen Euro1, Euro2, Euro3 sowie die neuen Euro 4 Einspritzer-Motoren finden Sie qualitativ hochwertige Ersatzteile. Gerne können Sie auch per Email nach Ersatzteilen anfragen. Ab Bestellwerten über 100 Euro bieten wir Ihnen unseren Finanzierungs- bzw. Ratenkauf-Service an. Beim Kauf von Fahrzeugen besteht die Möglichkeit der Finanzierung oder des Leasings. Speziell für Firmen, die Betriebsfahrzeuge anschaffen, oder ihren Mitarbeitern ein Fahrzeug zur Verfügung stellen, ist die eine interessante Alternative.

Verkaufspreis:
Nicht verfügbar
2,99 € Regulärer Preis: 3,44 €
Rabatt
Adly Hitzeschutz schwarz Scoody 50 2 Hitzeschild 50ccm 2Takt Motorroller.de Hitzeblech Hitze-Schutz Hitze-Blech Hitze-Schild Minarelli stehend Scooter
Adly Hitzeschutz schwarz Scoody 50 2 Hitzeschild 50ccm 2Takt Motorroller.de Hitzeblech Hitze-Schutz Hitze-Blech Hitze-Schild Minarelli stehend Scooter

Hitzeblech schwarz Technik-Info Hitzeschutz Hitzeschild, Hitzeblech, Hitze-Schutz, Hitze-Schild, Hitze-Blech, Hitzeschutz Auspuffblende, Mittelblech, Blende genannt. Diese in Carbon Optik gemachte Verkleidung, wurden speziell für die Vespa GTS Super entwickelt, um dem Fahrzeug einen noch sportlicheren Look zu verschaffen. Die Abdeckung kann flott und einfach gegen das Originalersatzteil getauscht werden. Dieser Artikel passt bei vielen Modellen, unter anderem für: Adly AT 50 2, gerne können Sie uns eine Email-Anfrage senden, Adly Scoody 50 2, Bitte vergleichen Sie mit ihren Fahrzeugpapieren, Quer über den Globus hat dieser Hersteller einen guten Namen bezüglich Qualität. Geprüfte beste Erstausrüsterqualität sehr gute Verarbeitung Lagerware günstiger Preis da Direktimport sofort versandbereit Unsere Ersatzteile für ihren Scooter bzw. Motorroller oder auch Roller können Sie bequem online in unserem Shop kaufen. Egal ob sie Ihren Roller im Kaufhaus oder im Baumarkt gekauft haben, für alle gängigen Europa-, Taiwan-, oder China-Roller finden Sie bei uns passende Bauteile, insbesondere für die Motoren 50 cc, 125 cc, 250 ccm, 2takt, 4takt und für größere Leistungen. Speziell für die Motorentypen 139FMB ,152QMI, 157QMI ,1E40QMB, 1E40QMA ,157QMJ, 158MJ , GY6 ,125-4T6M ,150QMG ,153FMI, 156FMI ,164FML ,139QMB, 139QMA, JSD139QMB in kurzen und langen Versionen in den Normen Euro1, Euro2, Euro3 sowie die neuen Euro 4 Einspritzer-Motoren finden Sie Ersatzteile von erstklassiger Qualität. Gerne können Sie auch per Email nach Ersatzteilen anfragen. Bei Bestellwerten über 100 Euro können Sie auch unseren Ratenkauf- bzw. Finanzierungs-Service nutzen. Beim Kauf von Fahrzeugen können wir Ihnen auch ein Leasing-Angebot unterbreiten, das bietet sich insbesondere für Firmen an, die Betriebsfahrzeuge anschaffen, oder ihren Mitarbeitern ein Fahrzeug zur Verfügung stellen. Wir freuen uns auf Ihre Anfrage.

Verkaufspreis:
Verfügbar
10,44 € Regulärer Preis: 12,01 €
Rabatt
PGO Kupplungsbelag Star 50 Kupplungsbeläge Roller 50ccm 2Takt Motorroller.de Kupplungsbacke PGO 50ccm-2Takt Scooter Star 50 2 Ersatzteil Service
PGO Kupplungsbelag Star 50 Kupplungsbeläge Roller 50ccm 2Takt Motorroller.de Kupplungsbacke PGO 50ccm-2Takt Scooter Star 50 2 Ersatzteil Service

zu Artikel: Kupplungsbacke 1 Stück B3000014965 Kupplungsbacke 1 Stück (Satz besteht aus 3 Stück)Technik-InfoKupplungsbelagKupplungsbackensatz, Kupplungsbeläge, Kupplungsbelaege, Kupplungsbelag-Satz, Kupplungsbacke, KupplungsbelagDieser Artikel passt bei vielen Modellen, unter anderem für: Bitte vergleichen Sie mit ihren Fahrzeugpapieren, PGO Star 50 2, PGO Star 50 2, PGO Star 50Geprüfte Erstausrüsterqualität beste Verarbeitung Lagerware günstiger Preis Direktimport sofort versandbereitUnsere Ersatzteile für ihren Motorroller bzw. Scooter oder auch Roller können Sie bequem online in unserem Shop kaufen. Egal ob sie Ihren Roller im Kaufhaus oder im Baumarkt gekauft haben, für alle gängigen Europa-, Taiwan-, oder China-Roller finden Sie bei uns passende Bauteile, insbesondere für die Motoren 50 cc, 125 cc, 250 ccm, 2-Takt, 4-Takt und für größere Leistungen. Speziell für die Motorentypen 139QMB, 139QMA, JSD139QMB ,139FMB ,157QMJ, 158MJ , GY6 ,1E40QMB, 1E40QMA ,150QMG ,153FMI, 156FMI ,125-4T6M ,164FML ,152QMI, 157QMI in kurzen und langen Versionen in den Normen Euro1, Euro2, Euro3 sowie die neuen Euro 4 Einspritzer-Motoren finden Sie Ersatzteile von hoher Güte. Gerne können Sie auch per Email nach Ersatzteilen anfragen. Bei Bestellwerten über 100 Euro können Sie auch unseren Finanzierungs- bzw. Ratenkauf-Service nutzen. Beim Kauf von Fahrzeugen können wir Ihnen auch ein Leasing-Angebot unterbreiten, das bietet sich insbesondere für Firmen an, die Betriebsfahrzeuge anschaffen, oder ihren Mitarbeitern ein Fahrzeug zur Verfügung stellen. Wir freuen uns auf Ihre Anfrage.

Verkaufspreis:
Verfügbar
19,95 € Regulärer Preis: 22,94 €
Rabatt
PGO Kolbenbolzen T-Rex 125 Piston-Pins Roller 125ccm 4Takt Motorroller.de Kolben-Bolzen Pleuelbolzen Pleuel-Bolzen Pistonpin Pistonpins Kolben-Pin
PGO Kolbenbolzen T-Rex 125 Piston-Pins Roller 125ccm 4Takt Motorroller.de Kolben-Bolzen Pleuelbolzen Pleuel-Bolzen Pistonpin Pistonpins Kolben-Pin

zu Artikel: Kolbenbolzen C1067110000 KolbenbolzenTechnik-InfoKolbenbolzenPleuel-Bolzen, Piston-Pin, Pistonpin, Piston-Pins, Pistonpins, Kolben-Pin, Kolben-Pins, Pleuel-Pin, Pleuelpin, Pleuelpins, Pleuel-Pins, Pleuelbolzen, Bolzen, Kolben-Bolzen, KolbenbolzenDer Kolbenbolzen gehört zu den mechanisch hoch belasteten Motorteilen. Bei einem Kolbenwechsel sollte dieser immer mit erneuert werden. Unsere Bolzen sind aus hochwertigem Material und entsprechen alle der Erstausrüsterqualität.Dieser Artikel passt bei vielen Modellen, unter anderem für: PGO Ligero 125, PGO G-Max, PGO G-Max 125, PGO Ligero RS 125, Dieser Hersteller ist seit vielen Jahren erfolgreich auf dem internationalen Markt. Er hat sich durch Zuverlässigkeit seiner Produkte einen Namen gemacht.Kostenloser Versand   Bei Ersatzteilen für jeden zusätzlichen Artikel mit den gleichen Versandkriterien, den Sie von uns kaufen.Unsere Ersatzteile für ihren Motorroller bzw. Scooter oder auch Roller können Sie bequem online in unserem Shop kaufen. Egal ob sie Ihren Roller im Kaufhaus oder im Baumarkt gekauft haben, für alle gängigen China-, Europa-, oder Taiwan-Roller finden Sie bei uns passende Bauteile, insbesondere für die Motoren 50 cc, 125 cc, 250 ccm, 2takt, 4takt und für größere Leistungen. Speziell für die Motorentypen 164FML ,150QMG ,1E40QMB, 1E40QMA ,139QMB, 139QMA, JSD139QMB , GY6 ,125-4T6M ,153FMI, 156FMI ,157QMJ, 158MJ ,139FMB ,152QMI, 157QMI in kurzen und langen Versionen in den Normen Euro1, Euro2, Euro3 sowie die neuen Euro 4 Einspritzer-Motoren finden Sie Ersatzteile von hoher Qualität. Gerne können Sie auch per Email nach Ersatzteilen anfragen. Bei Bestellwerten über 100 Euro können Sie auch unseren Ratenkauf- bzw. Finanzierungs-Service nutzen. Beim Kauf von Fahrzeugen können wir Ihnen auch ein Leasing-Angebot unterbreiten, das bietet sich insbesondere für Firmen an, die Betriebsfahrzeuge anschaffen, oder ihren Mitarbeitern ein Fahrzeug zur Verfügung stellen. Wir freuen uns auf Ihre Anfrage.

Verkaufspreis:
Verfügbar
20,90 € Regulärer Preis: 24,04 €
Rabatt
Adly ATV 320 Canyon Ölfilter Quad 320ccm 4Takt 15412-169-000 Motorroller.de Oilfilter Ölsieb Ölreiniger Ölfiltersieb Öl-Filter Öl-Reiniger Oil-Filter Premium Ölfilter
Adly ATV 320 Canyon Ölfilter Quad 320ccm 4Takt 15412-169-000 Motorroller.de Oilfilter Ölsieb Ölreiniger Ölfiltersieb Öl-Filter Öl-Reiniger Oil-Filter Premium Ölfilter

Ölfilterelement Technik-Info Ölfilter auch zu finden unter: Ölfilter, Ölfiltersieb, Oelfiltersieb, Oelfilter, Oilfilter, Oelsieb, Oilsieb, Ölreiniger, Oelreiniger, Ölfilter-Sieb, Oelfilter-Sieb, Öl-Filter, Oel-Filter, Oil-Filter, Oel-Sieb, Oil-Sieb, Öl-Reiniger, Oel-Reiniger, Ölsieb, Öl-Sieb Der Ölfilter schützt den Motor vor Dreck und wasser. Darum sollte er regelmäßig gewechselt werden. Unsere Filter haben die Original-Maße und sind daher ohne Probleme einbaubar. Dieser Artikel passt bei vielen Modellen, unter anderem für: Adly Her Chee ATV 50 RS XXL Supersonic Luxxon 300 S Luxxon 500 S Offroad Luxxon 500 S Onroad Geprüfte Erstausrüsterqualität beste Verarbeitung Best. Ware günstiger Preis Direktimport Kauf 100% ohne Risiko vom Topseller Unsere Ersatzteile für ihren Roller bzw. Motorroller oder auch Scooter können Sie bequem online in unserem Shop kaufen. Egal ob sie Ihren Roller im Baumarkt oder im Kaufhaus gekauft haben, für alle gängigen China-, Taiwan-, oder Europa-Roller finden Sie bei uns passende Bauteile, insbesondere für die Motoren 50 cc, 125 cc, 250 ccm, 2takt, 4takt und für größere Leistungen. Speziell für die Motorentypen 153FMI, 156FMI ,157QMJ, 158MJ ,1E40QMB, 1E40QMA ,152QMI, 157QMI ,150QMG ,125-4T6M ,164FML , GY6 ,139FMB ,139QMB, 139QMA, JSD139QMB in kurzen und langen Versionen in den Normen Euro1, Euro2, Euro3 sowie die neuen Euro 4 Einspritzer-Motoren finden Sie qualitativ erstklassige Ersatzteile. Gerne können Sie auch per Email nach Ersatzteilen anfragen. Bei Bestellwerten über 100 Euro können Sie auch unseren Ratenkauf- bzw. Finanzierungs-Service nutzen. Beim Kauf von Fahrzeugen können wir Ihnen auch ein Leasing-Angebot unterbreiten, das bietet sich insbesondere für Firmen an, die Betriebsfahrzeuge anschaffen, oder ihren Mitarbeitern ein Fahrzeug zur Verfügung stellen. Ihre Anfrage nehmen wir gerne entgegenPremium Ölfilter für saubere Schmierung und optimalen Motorschutz.Der Ölfilter ist ein hochwertiges Premium Ersatzteil und sorgt als Premium Ölfilter für sauberes Motoröl und verlängerte Lebensdauer des Motors.

Verkaufspreis:
Kurzfristig lieferbar
13,22 € Regulärer Preis: 15,20 €
Rabatt
AEON Zylinderkopfdichtung 12251-122-000
AEON Zylinderkopfdichtung 12251-122-000

zu Artikel: ZylinderkopfdichtungDichtung ZylinderkopfZylinderkopfdichtungTechnik-InfoZylinderkopfdichtungZylinderkopfdichtung, Zylinderdeckel Dichtung, Kopfdichtung, Abdichtung Zylinderkopf, Dichtung Zylinderkopf, Abdichtsatz, Abdichtset, Dichtkit, Dichtsatz, Dichtset, Dichtungen, Dichtungskit, Dichtungssatz, Dichtungsset, Dichtung-Zylinderkopf, Zylinder Abdicht, Zylinder Dicht-Set, Zylinder Dichtungs-Satz, Zylinder-Deckel-Dichtung, Zylinder-Kopf-Dichtung, Zylindekopfdichtung, Zylinder-Dichtung oben, Kopf-Dichtung, Zylinder-Dichtung-Oben, Zylinderkopf Dichtung Ob Einzeldichtung oder Dichtsatz, bei uns erhalten Sie stets die Qualitätsstufe wie beim Original-Hersteller.Langjährige Erfahrung und stets einwandfreie Qualität haben diesen Hersteller ausgezeichnet.Kostenloser Versand   Bei Ersatzteilen für jeden zusätzlichen Artikel mit den gleichen Versandkriterien, den Sie von uns kaufen.Unsere Ersatzteile für ihren Motorroller bzw. Scooter oder auch Roller können Sie bequem online in unserem Shop kaufen. Egal ob sie Ihren Roller im Kaufhaus oder im Baumarkt gekauft haben, für alle gängigen China-, Europa-, oder Taiwan-Roller finden Sie bei uns passende Bauteile, insbesondere für die Motoren 50 cc, 125 cc, 250 ccm, 2takt, 4takt und für größere Leistungen. Speziell für die Motorentypen 164FML ,150QMG ,1E40QMB, 1E40QMA ,139QMB, 139QMA, JSD139QMB , GY6 ,125-4T6M ,153FMI, 156FMI ,157QMJ, 158MJ ,139FMB ,152QMI, 157QMI in kurzen und langen Versionen in den Normen Euro1, Euro2, Euro3 sowie die neuen Euro 4 Einspritzer-Motoren finden Sie Ersatzteile von hoher Qualität. Gerne können Sie auch per Email nach Ersatzteilen anfragen. Bei Bestellwerten über 100 Euro können Sie auch unseren Ratenkauf- bzw. Finanzierungs-Service nutzen. Beim Kauf von Fahrzeugen können wir Ihnen auch ein Leasing-Angebot unterbreiten, das bietet sich insbesondere für Firmen an, die Betriebsfahrzeuge anschaffen, oder ihren Mitarbeitern ein Fahrzeug zur Verfügung stellen. Wir freuen uns auf Ihre Anfrage. Ein Teil ist kaputt - soll es gleich ausgetauscht oder repariert werden?Immer wieder stellen sich Fahrer von Rollern die Frage, ob sie ein defektes Bauteil am Fahrzeug austauschen oder besser instand setzen lassen sollen, gleichgültig, ob sich um einen Motorroller, Elektroroller respektive E-Roller oder 3-Rad Roller handelt. Was man gleichermaßen berücksichtigen sollte: Ein neues Teil ist nicht nur rasch ausgewechselt, sondern macht den Roller auch beträchtlich ausfallsicherer als eine Reparatur. Zumeist kann lediglich eine kompetente Werkstatt den Schaden auf Anhieb entdecken. Ordern Sie doch am besten sofort eines unserer einbaufertigen Komplett-Kits, welche wir in vielen unterschiedlichen Ausführungen in unserem Programm haben. .Wir liefern ausnahmslos QualitätserzeugnisseMit Recht sind wir darauf stolz, dass die Qualität unserer sämtlichen Produkte keinen Vergleich auf dem Weltmarkt zu scheuen braucht. Wieso sind wir trotz der hohen Qualität unserer Produkte so günstig? Wir kalkulieren nicht allein unsere Preise sehr moderat, sondern wir kaufen auch in wirtschaftlich sinnvollen Produktmengen ein. Alle lieferbaren Komponenten für Ihr motorisiertes Zweirad können Sie bei über unseren Onlineshop sowohl in guter Qualität als auch zu einem Preis bestellen, bei dem keine Wünsche offen bleiben.Sie suchen für einen Sundiro oder Eppella Roller ein Bauteil? Keine Panik, wir haben sie verfügbar.Sie bekommen bei uns selbstverständlich auch die Originalteile vom jeweiligen Rollerhersteller. Wenn Sie hingegen Geld sparen wollen [und wer möchte das nicht], sollten Sie auch unsere Nachbauten in Betracht ziehen, welche nebenbei bemerkt, einen qualitativen Vergleich zum Erstausrüster- Produkt nicht zu scheuen brauchen, obgleich sie grundsätzlich erheblich kostengünstiger sind. Unsere Bauteile versetzen Sie in die Lage, auf der einen Seite die Reparatur an Ihrem Motorroller selber ausführen oder andererseits auch in einer Fachwerkstätte machen zu lassen. In Erstausrüster-Qualität und zu solch bezahlbaren Kosten werden Sie wahrscheinlich Ihren Motorroller nicht auf andere Art wieder flott bekommen können.Produktbilder erleichtern die Bestellung der richtigen KomponentenDamit Sie auch garantiert das benötigte Produkt erhalten, finden Sie in unserem Online Shop eine Menge von anschaulichem Bildmaterial, durch das Sie Ihr altes Bauteil mit dem lieferbaren Ersatz vergleichen können. Relevant hierbei ist, dass Ihre Bestellung nicht nur augenscheinlich, sondern auch in den Spezifikationen und Abmessungen mit dem defekten Teil zusammenpasst.Auf welche Weise Sie davon profitieren:Sie bekommen von uns ausschließlich die Erstausrüsterqualität - auch bei günstigen NachbautenWir kaufen Ihr ZweiradUnsere sämtlichen Einbauelemente sind preiswert, gebrauchstauglich und ausfallsicherAbsolute Verkehrssicherheit des Zweirads, vor allem bei den BremsenUnser Lager umfasst Ersatzteile und Zubehör für rund 250 Marken und 8500 TypenKurzfristige Lieferzeiten"Geld zurück" - Garantie, folglich Kauf ohne RisikoSie zahlen nur einmal Versandkosten bei Bestellung mehrerer Einbauteile mit identischen VersandkriterienDIN-Norm gerechte und ISO-zertifizierte PräzisionsfertigungWir holen und bringen Ihr FahrzeugAm besten kaufen Sie Motorroller, Fun Fahrzeuge, Straßenbuggys und Quads in einem Fachbetrieb wie den unsrigen. Wieso sind wir der entsprechende Partner für Sie? Weil wir durch unsere Jahrzehnte lange praktischen Erfahrung das notwendige Know-how für dieses Geschäftsfeld besitzen, können wir Ihnen einen optimalen Service bieten. Für unseren familiär geführten Betrieb ist das Geschäft in Verbindung mit den Rollern der gesamte Lebensinhalt.Es ist wesentlich, sich das Fachgeschäft demnach zuerst genau anzugucken, ehe man sich zu einem Kauf entschließt. Alles ist bei uns uneingeschränkt transparent! Aus welchem Grund kommen Sie nicht mal bei uns vorbei, um sich selber zu informieren?Das was Sie dort feststellen, wird Sie definitiv überzeugen.Potentielle Käufer, denen der Weg zu uns zu weit ist, können sich gerne mittels der verschiedenen Ebay Bewertungen und des Trustedshops-Siegels über uns informieren. Unsere Webseite Motorroller.de wird zum Beispiel von Trustshops als "sehr gut" eingestuft. Das betrifft sowohl unseren Online-Shop als auch unsere Geschäftspraxis. Über diese Bewertung sind wir zu Recht sehr Stolz. Auch bei Ebay liegen wir mit dem Wert 99,9 % optimal im Rennen. Belegen diese Resultate nicht eindeutig, dass unsere Kunden bestens bei uns aufgehoben sind?Bedenken Sie aber: Wir sind auch nur Menschen, die unter Umständen Fehler machen. Aus dem Grund bitten wir Sie, falls mal etwas nicht zu Ihrer Zufriedenheit verlaufen ist, uns auf jeden Fall die Möglichkeit zur Verbesserung zu geben.Unser Expertenteam steht Ihnen täglich zwischen 8:00 und 18:00 Uhr sowie am Samstag von 8:00 bis 13:00 Uhr zur Verfügung.Wer wir sindBei uns ist der Kunde wirklich noch König. Mehr als 25 Jahre sind wir äußerst erfolgreich im Fahrzeughandel aktiv, wobei wir uns andererseits schon vor über 50 Jahren auf dem Gebiet des Maschinenbaus Erfolg versprechend etablieren konnten. Unser Schwerpunkt ist gegenwärtig auf den Verkauf von das "Must have" für Motortuning, Fahrzeugzubehör und Ersatzelementen für die häufigsten Motorroller ausgerichtet.Unsere Produktpalette beinhaltet etwa 500.000 TeileBei uns finden Sie unter Motorroller.de beinahe sämtliche Einbauteile und Motorroller aus Europa und Asien. In unserem Auslieferungslager befinden sich für zirka 250 Hersteller und 8500 Typen verschiedene Produkte als Zubehör, Artikel und Einbaukomponenten. Zu unseren Lieferanten gehören z.B. so namhafte Lieferanten wie Yamaha, Jonway, Kreidler oder Adly. In der Summe haben wir auf einer Fläche von über 1.000 Quadratmeter ungefähr 500.000 Produkte von verschiedenen Anbietern in unserem Hochregallager im Programm. Alles was Sie als Fahrer eines Rollers brauchen, finden Sie in unserer Zubehörabteilung.Das beginnt bei den Handschuhen, Regensets und Nierengürteln, und geht bis hin zum Top Case über die Windschilder und den Schutzhelmen.Auch für die Tuningfans, welche es gerne sportlich mögen, haben wir ausgewählte Artikel im Sortiment. Hierzu zählen beispielsweise Kolben, Zylinder, Auspuffanlagen und dergleichen Dinge.Direkt nach der ProduktionLaufende Qualitätskontrollen sind das Steckenpferd unseres Unternehmens. Mit anderen Worten heißt das, dass sämtliche Roller, die vom Hersteller bei uns ankommen, von unseren Spezialisten nochmals einer eingehenden Überprüfung auf etwaige Mängel beziehungsweise Transportschäden unterzogen werden. Erst dann übergeben wir sie an unsere Kunden. Nachdem die Roller bei uns angekommen sind, wird jedes einzelne Zweirad ausgepackt und erstmal einer Sichtprüfung respektive einem Probelauf auf unserem computergesteuerten Prüfstand unterzogen. Bevor der Kunde den Motorroller übernimmt, erfolgt noch ein letzter Funktionstest. Somit ist de facto gewährleistet, dass der neue Besitzer mit seiner Anschaffung hundertprozentig zufrieden ist.Umweltschutz wir bei uns groß geschriebenWir sind besonders um den Umweltschutz bemüht. Unsere Zweiräder haben zum einen in der Regel einen sparsamen Motor. Bei der Auslieferung unserer Roller bleibt immer das Verpackungsmaterial übrig. Dieses nehmen wir selbstverständlich wieder mit und führen es einer fachgerechten Müllentsorgung zu.Ihren alten Motorroller nehmen wir gerne in ZahlungSie haben einen neuen Motorroller bei uns bestellt und möchten Ihr ausgedientes Zweirad an den Mann bringen? Seien Sie deswegen unbesorgt! Lassen Sie das unser Problem sein, denn wir nehmen Ihren gebrauchten Roller in Zahlung.Wir konnten Ihre Bedenken trotz allem nicht ausräumen?Sofern wir von Ihnen die Gelegenheit dazu bekommen würden, könnten wir Ihnen unsere fachliche Kompetenz auch beweisen. Im Gegensatz zu den billigen Internetshops, welche bereits nach kurzer Zeit wieder weg sind, können wir auf eine langjährige Firmentradition zurück blicken. Allein anhand zeitgemäßer Innovationen und neuer Ideen lässt sich eine gut fundierte Geschäftsgrundlage schaffen. Dementsprechend steht in unserem stetig wachsenden Unternehmen ständiges Lernen und die Anpassung an modernen Technologien immer an erster Stelle. Besuchen Sie uns doch mal in unserem Betrieb in Lindenfels-Eulsbach und überzeugen Sie sich selber von unserem herausragenden Service.So sind wir zu findenLindenfels liegt ungefähr 60 km südlich von Frankfurt/Main und 40 km nordöstlich von Mannheim im Odenwald (Regierungsbezirk Darmstadt). Selbstverständlich kann man aufgrund der guten Verkehrsanbindung auch völlig bequem per Bahn anreisen.Unsere TopmarkenUnsere Topmarken

Verkaufspreis:
Kurzfristig lieferbar
8,18 € Regulärer Preis: 9,41 €