Zum Hauptinhalt springen Zur Suche springen Zur Hauptnavigation springen
Menü
efr
erf
rrrf
Schnell lieferbar
14 Tage Rückgaberecht
Schneller DPD Versand

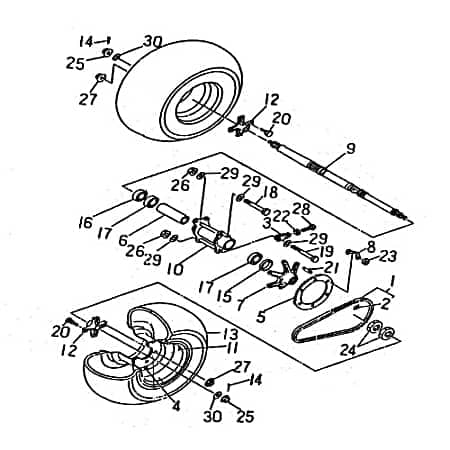
zu Artikel: Kettenradaufnahme 95527

Technik-Info

Kettenradaufnahme

Kettenradaufnahme, Spezial Kettenradaufnahme

Die Marke Rex ist eine der meistverkauften in Deutschland. Durch ständige Qualitätskontrollen vorort beim Hersteller ist ein hoher Standard gewährleistet.

Kostenloser Versand   Bei Ersatzteilen für jeden zusätzlichen Artikel mit den gleichen Versandkriterien, den Sie von uns kaufen.

Unsere Ersatzteile für ihren Motorroller bzw. Scooter oder auch Roller können Sie bequem online in unserem Shop kaufen. Egal ob sie Ihren Roller im Baumarkt oder im Kaufhaus gekauft haben, für alle gängigen China-, Europa-, oder Taiwan-Roller finden Sie bei uns passende Bauteile, insbesondere für die Motoren 50 cc, 125 cc, 250 ccm, 2takt, 4takt und für größere Leistungen. Speziell für die Motorentypen 164FML ,125-4T6M ,139QMB, 139QMA, JSD139QMB ,153FMI, 156FMI ,139FMB ,152QMI, 157QMI ,150QMG ,1E40QMB, 1E40QMA ,157QMJ, 158MJ , GY6 in kurzen und langen Versionen in den Normen Euro1, Euro2, Euro3 sowie die neuen Euro 4 Einspritzer-Motoren finden Sie Ersatzteile von erstklassiger Qualität. Gerne können Sie auch per Email nach Ersatzteilen anfragen. Bei Bestellwerten über 100 Euro können Sie auch unseren Ratenkauf- bzw. Finanzierungs-Service nutzen. Beim Kauf von Fahrzeugen können wir Ihnen auch ein Leasing-Angebot unterbreiten, das bietet sich insbesondere für Firmen an, die Betriebsfahrzeuge anschaffen, oder ihren Mitarbeitern ein Fahrzeug zur Verfügung stellen. Bitte fragen Sie an.

Baugruppe: Motor

Artikelposition in Explosionszeichnung: 7

Ersatzteil: Kette

Motorroller bequem online kaufen – von der Bestellung bis zur Lieferung


Mobiler Home Service – Bundesweit Inspektionen und Reparaturen


Motorroller.de – Über uns – Ihr Support vom Profi seit 1993

Ihr Finanzierungsplan**
Monate Rate mtl. Gesamt
6039,67 €2.380,49 €
12157,59 €1.891,14 €

Einfach im Bestellvorgang die Expokredit-Finanzierung als Zahlungsweise auswählen ...

  • Barossa Cheetah 250
  • Kreidler Mustang 170
  • Kreidler Mustang 200
  • Kreidler Mustang 250
  • Rex Quad 150
  • Rex Quad 250
  • SMC STM Quad 150
  • SMC STM Quad 170
  • SMC STM Quad 200
  • SMC STM Quad 250
Produktgalerie überspringen

Kunden haben sich ebenfalls angesehen

Rabatt
Kreidler Insignio 125 2.0 Federteller 125ccm 4Takt 750012 Motorroller.de oben Federauflage Federunterlage 125ccm-4Takt Scooter Qingqi Ersatzteil
Kreidler Insignio 125 2.0 Federteller 125ccm 4Takt 750012 Motorroller.de oben Federauflage Federunterlage 125ccm-4Takt Scooter Qingqi Ersatzteil

zu Artikel: Federteller oben 750012 Technik-Info Federteller Federauflage, Feder-Unterlegscheibe, Federteller, Feder-Unterlage, Feder-Auflage Da Federn ständig wechselnder Belastungen ausgesetzt sind, spielt die "Materialermüdung" hier eine wichtige Rolle. Wir beziehen diese entweder direkt von den Fahrzeugherstellern oder von erfahrenen bewährten Zulieferer. Die Marke Rex ist eine der meistverkauften in Deutschland. Durch ständige Qualitätskontrollen vorort beim Hersteller ist ein hoher Standard gewährleistet. Kostenloser Versand   Bei Ersatzteilen für jeden zusätzlichen Artikel mit den gleichen Versandkriterien, den Sie von uns kaufen. Unsere Ersatzteile für ihren Motorroller bzw. Scooter oder auch Roller können Sie bequem online in unserem Shop kaufen. Egal ob sie Ihren Roller im Kaufhaus oder im Baumarkt gekauft haben, für alle gängigen Europa-, China-, oder Taiwan-Roller finden Sie bei uns passende Bauteile, insbesondere für die Motoren 50 cc, 125 cc, 250 ccm, 4takt, 2takt und für größere Leistungen. Speziell für die Motorentypen 139QMB, 139QMA, JSD139QMB ,125-4T6M ,157QMJ, 158MJ , GY6 ,139FMB ,164FML ,153FMI, 156FMI ,1E40QMB, 1E40QMA ,152QMI, 157QMI ,150QMG in kurzen und langen Versionen in den Normen Euro1, Euro2, Euro3 sowie die neuen Euro 4 Einspritzer-Motoren finden Sie Ersatzteile von hoher Güte. Gerne können Sie auch per Email nach Ersatzteilen anfragen. Bei Bestellwerten über 100 Euro können Sie auch unseren Finanzierungs- bzw. Ratenkauf-Service nutzen. Beim Kauf von Fahrzeugen können wir Ihnen auch ein Leasing-Angebot unterbreiten, das bietet sich insbesondere für Firmen an, die Betriebsfahrzeuge anschaffen, oder ihren Mitarbeitern ein Fahrzeug zur Verfügung stellen. Bitte fragen Sie an.

Verkaufspreis:
Nicht verfügbar
2,62 € Regulärer Preis: 3,01 €
Rabatt
Simmerring 20x32x5mm Vorderrad Motorrad Rex 703849
Simmerring 20x32x5mm Vorderrad Motorrad Rex 703849

zu Artikel: Simmerring 20x32x5mm Der Simmerring Technik-Info Simmerring auch zu finden unter: Simmerring, Wellendichtring, Dichtring, Dichtringe, Simmerringe, Simmer-Ring, Dicht-Ring, Wellen-Dichtring, Simmering, Öldichtring Der Simmerring dichtet drehende Wellen zuverlässig ab. Da er aber ständiger Reibung ausgesetzt ist, ist er einem natürlichen Verschleiss unterworfen. Unsere Simmerringe entsprechen der Fahrzeughersteller-Qualität. So haben Sie wieder lange Fahrfreude. Dieser Artikel passt bei vielen Modellen, unter anderem für: Kreidler Florett 50 1.0 Elektro Kreidler Florett 50 RS DD Kreidler Florett RS 50 DD Kreidler Galactica 125 Kreidler Galactica 2.0 50 DD Kreidler Galactica 2.0 50 DD City Kreidler Galactica 2.0 Electro Kreidler Galactica 2.0 RC 50 Kreidler Galactica 2.0 RS 50 DD Kreidler Galactica 50 Kreidler Galactica 50 DD Kreidler Hiker 125 Kreidler Hiker 125 DD Kreidler Hiker 2.0 125 DD Kreidler Hiker 2.0 50 DD Kreidler Hiker 2.0 Electro Kreidler Hiker 50 Kreidler Hiker 50 DD Kreidler Hiker 50 DD Sport Kreidler Hiker 50 Elektro Kreidler Martinique 125 Kreidler Martinique DD 125 Kreidler RMC-E 50 Hiker Kreidler RMC-E 50 Hiker Amaze Elektroroller Kreidler RMC-E Hiker 50 DD Kreidler RMC-E Hiker 50 DD SPORT Kreidler RMC-H 50 Galactica DD Kreidler RMC-H Galactica 125 DD Rex Drive Sport 50 Rex E-Rex Rex Hiker 50 City DD Rex Imola 125 Rex Imola 125 Race/Urban Rex Imola 50 Rex Imola 50 Race/Urban Rex Milano 125 Rex Milano 50 Rex RMC-E HIKER 125 DD SPORT Rex RS 1000 Rex RS 750 Rex Stratos Chicago Geprüfte Erstausrüsterqualität beste Verarbeitung Best. Ware günstiger Preis Direktimport Kauf 100% ohne Risiko vom Topseller Unsere Ersatzteile für ihren Motorroller bzw. Roller oder auch Scooter können Sie bequem online in unserem Shop kaufen. Egal ob sie Ihren Roller im Kaufhaus oder im Baumarkt gekauft haben, für alle gängigen Europa-, Taiwan-, oder China-Roller finden Sie bei uns passende Bauteile, insbesondere für die Motoren 50 cc, 125 cc, 250 ccm, 4takt, 2takt und für grössere Leistungen. Speziell für die Motorentypen 164FML ,153FMI, 156FMI ,157QMJ, 158MJ ,1E40QMB, 1E40QMA ,152QMI, 157QMI ,150QMG ,125-4T6M ,139QMB, 139QMA, JSD139QMB , GY6 ,139FMB in kurzen und langen Versionen in den Normen Euro1, Euro2, Euro3 sowie die neuen Euro 4 Einspritzer-Motoren finden Sie Ersatzteile von bewährter Qualität. Gerne können Sie auch per Email nach Ersatzteilen anfragen. Bei Bestellwerten über 100 Euro können Sie auch unseren Ratenkauf- bzw. Finanzierungs-Service nutzen. Beim Kauf von Fahrzeugen können wir Ihnen auch ein Leasing-Angebot unterbreiten, das bietet sich insbesondere für Firmen an, die Betriebsfahrzeuge anschaffen, oder ihren Mitarbeitern ein Fahrzeug zur Verfügung stellen. Wir freuen uns auf Ihre Anfrage. Das schadhafte Element reparieren lassen oder austauschen? Gleichgültig, ob jemand einen Motorroller, Elektroroller beziehungsweise E-Roller oder 3-Rad Roller fährt, er stellt sich mit Sicherheit oftmals die Frage, ob sie ein schadhaftes Bauteil ersetzen oder reparieren lassen sollen. Woran man gleichermassen denken sollte: Ein Ersatzteil ist nicht nur schnell ersetzt, sondern macht das Zweirad auch deutlich ausfallsicherer als eine Instandsetzung. Oft kann man einen nicht sofort selbst finden und ein qualifizierter Fachmann muss herausfinden, warum der Roller Probleme macht. In dem Fall wäre es sinnvoller, bei uns eines der fertigen Komplett-Kits zu bestellen, die wir in vielen unterschiedlichen Ausführungen anbieten. . Ersatzteile von bester Qualität Grossen Wert legen wir auf preiswerte Produkte von hoher Qualität. Weshalb können wir so günstig sein? Die Antwort lautet: Weil wir auf wirtschaftlich sinnvolle Einkaufsmengen der Bauteile achten. Sämtliche lieferbaren Bauelemente für Ihr motorisiertes Zweirad kriegen Sie bei uns sowohl in guter Qualität als auch zu einem Preis, der mit Sicherheit Ihre Laune verbessert. Einige Rollermarken wie Eppella und Sundiro werden schon seit langem nicht mehr produziert. Dennoch führen wir dafür noch die Einbauteile. Wer es wünscht, bekommt bei uns klarerweise auch das Originalteil für sein Zweirad. Die meisten Kunden greifen aber wegen der guten Preise und der Erstausrüster-Qualität auf unsere Nachbauten zurück. Unsere Ersatzteile versetzen Sie in die Lage, auf der einen Seite die Reparatur an Ihrem Motorroller selber durchführen oder zum anderen auch in einer Fachwerkstätte machen zu lassen. Es gibt zweifelsohne keine bessere Alternative, durch die Sie zu attraktiven Preisen und in guter Qualität Ihren Motorroller instand setzen können. Eine gute Hilfe bei der Bestellung der benötigten Bauteile sind die einzelnen Produktbilder Damit Sie auch garantiert den gewünschten Artikel erhalten, gibt es auf unserer Seite eine Menge von entsprechendem Bildmaterial, durch das Sie Ihr altes Teil mit dem erhältlichen Ersatz vergleichen können. Achten Sie bitte vor allem auf die Übereinstimmung des defekten Elements mit dem abgebildeten Artikel; speziell was die aufgeführten technischen Spezifikationen und Abmessungen betrifft.   Was Sie davon haben:   hundertprozentige Fahrsicherheit des Zweirads, besonders bei Bremsanlagen Sie zahlen nur einmal Versandkosten bei Bestellung mehrerer Ersatzteile mit identischen Lieferbedingungen Komponenten und Artikel für circa 250 Marken und 8500 Modelle auf Lager Alle unsere Teile sind gebrauchstauglich, ausfallsicher sowie preiswert Unsere Lieferungen erfolgen fast immer kurzfristig DIN-Norm gerechte und ISO-zertifizierte Präzisionsfertigung Wir kaufen Ihren Roller Auch bei kostengünstigen Nachbauten erhalten Sie von uns stets die Erstausrüster-Qualität Hol- und Bringservice Mit unserer "Geld zurück" - Garantie kaufen Sie ohne Risiko   Am besten kaufen Sie Roller, Quads, Fun-Fahrzeuge und Strassenbuggys in einem Fachgeschäft wie das unsrige. Welchen Vorteil haben Sie von unserem Service? Weil wir für diesen Geschäftsbereich die Meister-Qualifikation und das Know-how besitzen, was dazu definitiv nötig ist. Wir als Familienbetrieb leben das Geschäft in Verbindung mit Rollern richtiggehend. Weil Kaufen auch Vertrauenssache ist, sollte man sich deswegen das bevorzugte Fachgeschäft vorher genau angucken, bei dem man vorhat ein motorisiertes Zweirad zu erwerben. in unserem Betrieb ist alles für den Kunden uneingeschränkt nachvollziehbar! Warum besuchen Sie uns nicht mal in unserem Ladengeschäft, um sich selber zu informieren?Die Vertrauensbestätigung erhalten Sie dann vor Ort quasi schwarz auf weiss. Ist Ihnen die Anfahrtsstrecke zu uns zu weit? Dann informieren Sie sich doch mittels der zahlreichen Ebay Bewertungen und des Trustedshops-Siegels. Beispielsweise wird sowohl unser Shop als auch unsere Geschäftspraxis mit dem Trustedshops Gütesiegel "sehr gut" eingestuft, was uns zu Recht sehr stolz macht. Was unsere Kundenbewertungen ebenso auf einem Niveau, das sich durchaus sehen lassen kann. Zeigen diese Resultate nicht klar und deutlich, dass unsere Kunden bestens bei uns aufgehoben sind? Bedenken Sie aber, dass dort wo gearbeitet wird, auch mal Fehler passieren. Wir möchten Sie daher bitten, uns definitiv eine Gelegenheit zur Verbesserung zu geben, wenn mal etwas nicht ganz geklappt hat. Wann wir Ihnen zu Diensten stehen? Täglich von 8:00 bis 18:00 Uhr und am Samstag von 8:00 bis 13:00 Uhr. Die Fakten unseres Unternehmens Bei uns ist der Kunde wirklich noch König. Unsere Geschäftstätigkeit fing schon vor über 5 Jahrzehnten mit dem Bau von Maschinen an. Den Fahrzeughandel mit Zweirädern dagegen, betreiben wir gegenwärtig auch bereits seit mehr als 25 Jahren mit Erfolg. Zwischenzeitlich haben wir uns ausser der Vermarktung von Motorrollern, auf Fahrzeugzubehör, Einbauteile und das "Must have" zum Tunen fokussiert. Wir können zeitnah ca. 500.000 Einbauteile liefern Bei Motorroller.de finden Sie beinahe alle Komponenten und Fahrzeuge aus Europa und Fernost. In unserem Auslieferungslager warten passende Produkte als Zubehör, Artikel und Teile für ca. 250 Marken und 8500 Ausführungen auf Ihre Bestellung. Darunter befinden sich zum Beispiel so namhafte Anbieter wie Jonway, Yamaha, Kreidler oder Adly. Wir haben insgesamt mehr als 500.000 Produkte von diversen Herstellern im Sortiment, welche auf einer Lagerfläche von über 1.000 mò in unseren Regalen gelagert sind. Sie finden im Zubehörsegment alles, was Sie für Ihr motorisiertes Zweirad brauchen. Das beginnt bei den Regensets, Nierengürteln und Handschuhen, und geht bis hin zum Top Case über die Schutzhelme und den Windschildern.In unserem Tuningbereich halten wir für alle, die es gerne sportlich mögen ebenfalls einige ausgesuchte Artikel bereit. Hierzu gehören etwa Auspuffanlagen, Zylinder, Kolben und andere Dinge. Was geschieht nach der Produktion? Fortlaufende Qualitätsprüfungen sind die Passion unseres Unternehmens. Das heisst, ehe ein Roller ausgeliefert beziehungsweise vom Kunden abgeholt wird, testen wir ihn letztlich nochmals umfassend auf etwaige Fehler respektive Transportschäden. Wir packen zuerst jeden Motorroller nach der Ankunft in unserem Haus aus und unterziehen es auf unserem computergesteuerten Zweirad-Prüfstand einem Testlauf. Unmittelbar nach der Lieferung zum Kunden wird dann das Fahrzeug zum Schluss noch einmal auf einwandfreie Funktion überprüft, sodass de facto gesichert ist, dass der Käufer ein zu 100 Prozent einwandfreies Gefährt erhält. Umweltschutz Der Umweltschutz liegt uns sehr am Herzen. Zur Bewahrung der Luftreinheit besitzen unsere motorisierten Zweiräder prinzipiell Verbrennungsmotoren, die enorm wirtschaftlich laufen. Bei der Auslieferung unserer Motorroller fällt stets Verpackungsmaterial an. Dieses nehmen wir ohne Frage wieder zu einer professionellen Müll-Entsorgung wieder mit. Roller-Ankauf Sie möchten sich bei uns einen neuen Motorroller kaufen und sich gleichzeitig von Ihrem alten fahrbaren Untersatz trennen? Zerbrechen Sie sich hierüber nicht den Kopf! Lassen Sie uns das übernehmen, indem wir Ihren ausgedienten Motorroller ankaufen. Haben Sie immer noch Zweifel? Sofern wir von Ihnen die Chance dazu bekommen, können wir unsere fachlichen Qualitäten auch unter Beweis stellen. Wir zählen nicht zu den billigen Internet-Shops, die heute kommen und nach kurzer Zeit wieder unauffindbar sind. Es ist uns bekannt, dass sich nur aufgrund neuer Ideen und zeitgemässer Innovationen die Basis für eine Erfolg versprechende Geschäftstätigkeit legen lässt. Sie können sich selbst von unserem vorzüglichen Service überzeugen, wenn Sie uns an unserem Unternehmensstandort in Lindenfels-Eulsbach besuchen. Wie kommen Sie auf einfache Weise zu uns nach Lindenfels? Lindenfels befindet sich im Regierungsbezirk Darmstadt, und zwar 40 km nordöstlich von Mannheim beziehungsweise zirka 60 km südlich von Frankfurt/Main. Sie fahren am besten von Norden her über die A6, während Sie aus südlicher Richtung die A8 nehmen. Alternativ ist es ohne Frage auch möglich, mit der Bahn zu fahren. Unsere Topmarken Unsere Topmarken

Verkaufspreis:
Verfügbar
2,89 € Regulärer Preis: 3,32 €
Rabatt
Adly ATV 150 Sport Kolben Piston 150ccm 4Takt 13100-197-000 Motorroller.de Motorkolben 150ccm-4Takt Quad UTV Ersatzteil Service Inpektion Direktimport
Adly ATV 150 Sport Kolben Piston 150ccm 4Takt 13100-197-000 Motorroller.de Motorkolben 150ccm-4Takt Quad UTV Ersatzteil Service Inpektion Direktimport

Kolben Technik-Info Kolben Kolben, Kolbenbolzen, Kit, Set, Satz, Clip, Kolbenring, Piston, Kolbeneinheit, Motorkolben, Kolbenset, Kolbenkit, Kolbensatz Kolben für Hubkolbenmotoren werden heute überwiegend aus Aluminiumgusslegierungen gefertigt. Durch die hohe Beanspruchung an Druck und Temperatur ist es wichtig, dass der Kolben aus einer hochwertigen Legierung hergestellt wird, dies ist bei uns der Fall. Unsere Kolben sind in Erstausrüster-Qualität. Dieser Artikel passt bei vielen Modellen, unter anderem für: bundesweiter Home-Service, motorroller.de ihr Roller-Experte, Bitte vergleichen Sie mit ihren Fahrzeugpapieren, Adly ATV 150 Sport Quer über den Globus hat dieser Hersteller einen guten Namen bezüglich Qualität. Kostenloser Versand   Bei Ersatzteilen für jeden zusätzlichen Artikel mit den gleichen Versandkriterien, den Sie von uns kaufen. Unsere Ersatzteile für ihren Roller bzw. Motorroller oder auch Scooter können Sie bequem online in unserem Shop kaufen. Egal ob sie Ihren Roller im Kaufhaus oder im Baumarkt gekauft haben, für alle gängigen Taiwan-, China-, oder Europa-Roller finden Sie bei uns passende Bauteile, insbesondere für die Motoren 50 cc, 125 cc, 250 ccm, 4takt, 2takt und für größere Leistungen. Speziell für die Motorentypen 164FML ,139FMB ,152QMI, 157QMI ,150QMG ,1E40QMB, 1E40QMA ,139QMB, 139QMA, JSD139QMB , GY6 ,125-4T6M ,153FMI, 156FMI ,157QMJ, 158MJ in kurzen und langen Versionen in den Normen Euro1, Euro2, Euro3 sowie die neuen Euro 4 Einspritzer-Motoren finden Sie qualitativ hochwertige Ersatzteile. Gerne können Sie auch per Email nach Ersatzteilen anfragen. Bei Bestellwerten über 100 Euro können Sie auch unseren Ratenkauf- bzw. Finanzierungs-Service nutzen. Beim Kauf von Fahrzeugen können wir Ihnen auch ein Leasing-Angebot unterbreiten, das bietet sich insbesondere für Firmen an, die Betriebsfahrzeuge anschaffen, oder ihren Mitarbeitern ein Fahrzeug zur Verfügung stellen. Bitte fragen Sie an. Hinweise zu: Ersatzkolbenset

Verkaufspreis:
Verfügbar
49,90 € Regulärer Preis: 57,39 €
Rabatt
PGO Federbein hinten schwarz TR3 50 Mofa Stoßdämpfer P2481001600 Motorroller.de Feder-Bein Gabel-Bein Stoß-Dämpfer Dreiradroller PMX 110 Ersatzteil
PGO Federbein hinten schwarz TR3 50 Mofa Stoßdämpfer P2481001600 Motorroller.de Feder-Bein Gabel-Bein Stoß-Dämpfer Dreiradroller PMX 110 Ersatzteil

zu Artikel: Federbein hinten schwarz (60) P2481001600 Federbein hinten schwarz (60)Technik-InfoFederbeinStossdämpfer, Feder-Bein, Gabel-Bein, Stoß-Dämpfer, Stoss-Daempfer, Stoss-Dämpfer, Stossdaempfer, Daempfer, Dämpfer, Federbein, StoßdämpferDieser Artikel passt bei vielen Modellen, unter anderem für: PGO T-Rex 50, PGO PMS 50, PGO PMX 110, PGO PMX 50, PGO TR3 50 25 km/h, PGO TR3 50 45 km/h, PGO TR3 50 Mofa, PGO T-Rex 110, PGO PMX 90, PGO TR3 50 ab Bj.2007, PGO TR3 50 Modell 2005Geprüfte Erstausrüsterqualität sehr gute Verarbeitung Lagerware günstiger Preis Direktimport sofort versandbereitUnsere Ersatzteile für ihren Roller bzw. Motorroller oder auch Scooter können Sie bequem online in unserem Shop kaufen. Egal ob sie Ihren Roller im Kaufhaus oder im Baumarkt gekauft haben, für alle gängigen Europa-, China-, oder Taiwan-Roller finden Sie bei uns passende Bauteile, insbesondere für die Motoren 50 cc, 125 cc, 250 ccm, 2takt, 4takt und für größere Leistungen. Speziell für die Motorentypen 139QMB, 139QMA, 1E40QMB, 152QMI, 157QMI, GY6, 125-4T6M, 139FMB, 153FMI, 156FMI, 157QMJ, 158MJ, 164FML, 1E40QMA, JSD139QMB, 150QMG in kurzen und langen Versionen in den Normen Euro1, Euro2, Euro3 sowie die neuen Euro 4 Einspritzer-Motoren finden Sie qualitativ hochwertige Ersatzteile. Gerne können Sie auch per Email nach Ersatzteilen anfragen. Bei Bestellwerten über 100 Euro können Sie auch unseren Finanzierungs- bzw. Ratenkauf-Service nutzen. Beim Kauf von Fahrzeugen können wir Ihnen auch ein Leasing-Angebot unterbreiten, das bietet sich insbesondere für Firmen an, die Betriebsfahrzeuge anschaffen, oder ihren Mitarbeitern ein Fahrzeug zur Verfügung stellen. Bitte fragen Sie an.

Verkaufspreis:
Verfügbar
88,56 € Regulärer Preis: 101,84 €
Rabatt
Kreidler Martinique 125 Riemenscheibe 125ccm 4Takt 704884 Motorroller.de Flügelrad Keilriemenscheibe Luftrad Lüfterrad Lauf-Rad Keilriemen-Scheibe
Kreidler Martinique 125 Riemenscheibe 125ccm 4Takt 704884 Motorroller.de Flügelrad Keilriemenscheibe Luftrad Lüfterrad Lauf-Rad Keilriemen-Scheibe

zu Artikel: FlügelradRiemenscheibe Technik-Info Flügelrad Flügelrad, Feste Antriebsscheibe, Fluegelrad, Riemenscheibe, Lüfterrad, Luefterrad, Gebläserad, Geblaeserad, Laufrad, Riemen-Scheibe, Flügel-Rad, Fluegel-Rad, Lüfter-Rad, Luefter-Rad, Gebläse-Rad, Geblaese-Rad, Lauf-Rad, Antriebs-Scheibe, Getriebescheibe, Getriebe-Scheibe, Keilriemenscheibe, Keilriemen-Scheibe, Variogetriebescheibe, Vario-Getriebescheibe, Varioscheibe, Vario-Scheibe, Ventilatorrad, Ventilator-Rad, Variatorscheibe, Antriebsscheibe, CVT-Scheibe, Automatik-Scheibe, CVT-Getriebe-Scheibe, Vario-Riemenscheibe, Variomatik-Riemenscheibe, CVT-Riemenscheibe, Antriebsriemenscheibe, Antriebsscheibe fest, Luftrad Das Kunststofflüfterrad oder auch Ventilatorrad, Gebläserad, Flügelrad, Lüfterrad genannt, passt für die Variomatik von Roller-Motoren und ist ein wesentliches Bauteil. Keilriemenschäden entstehen durch zu große Hitze im Antriebsbereich. Aus diesem Grund muss das Variomatiklüfterrad bereits bei kleinsten Beschädigungen getauscht werden, sonst gibt es große Schäden. Die Marke Rex ist eine der meistverkauften in Deutschland. Durch ständige Qualitätskontrollen vorort beim Hersteller ist ein hoher Standard gewährleistet. Kostenloser Versand   Bei Ersatzteilen für jeden zusätzlichen Artikel mit den gleichen Versandkriterien, den Sie von uns kaufen. Unsere Ersatzteile für ihren Motorroller bzw. Scooter oder auch Roller können Sie bequem online in unserem Shop kaufen. Egal ob sie Ihren Roller im Kaufhaus oder im Baumarkt gekauft haben, für alle gängigen Taiwan-, Europa-, oder China-Roller finden Sie bei uns passende Bauteile, insbesondere für die Motoren 50 cc, 125 cc, 250 ccm, 4-Takt, 2-Takt und für größere Leistungen. Speziell für die Motorentypen 152QMI, 157QMI , GY6 ,1E40QMB, 1E40QMA ,153FMI, 156FMI ,157QMJ, 158MJ ,125-4T6M ,164FML ,150QMG ,139FMB ,139QMB, 139QMA, JSD139QMB in kurzen und langen Versionen in den Normen Euro1, Euro2, Euro3 sowie die neuen Euro 4 Einspritzer-Motoren finden Sie qualitativ erstklassige Ersatzteile. Gerne können Sie auch per Email nach Ersatzteilen anfragen. Bei Bestellwerten über 100 Euro können Sie auch unseren Ratenkauf- bzw. Finanzierungs-Service nutzen. Beim Kauf von Fahrzeugen können wir Ihnen auch ein Leasing-Angebot unterbreiten, das bietet sich insbesondere für Firmen an, die Betriebsfahrzeuge anschaffen, oder ihren Mitarbeitern ein Fahrzeug zur Verfügung stellen. Bitte fragen Sie an. Auswechseln oder reparieren?Wird mal irgendetwas am Roller schadhaft, dann hat man im Prinzip die Wahl zwischen Austauschen oder Reparieren. Ein neues Element, das vergleichsweise schnell getauscht werden kann, ist nicht bloß günstiger, sondern bietet außerdem eine bedeutend höhere Ausfallsicherheit als bei einer Instandsetzung des Motorrollers. Zumeist kann bloß eine kompetente Werkstatt den Defekt auf Anhieb orten. Bestellen Sie doch am besten sofort eines unserer einbaufertigen Komplett-Kits, die wir in zahlreichen unterschiedlichen Ausführungen in unserem Produktangebot haben. .Für Ihr Zweirad - erstklassige QualitätsbauteileDie Qualität unserer Teile braucht auf dem Weltmarkt keine Konkurrenz zu scheuen. Unsere Produkte sind deshalb so attraktiv, weil wir schon beim Einkauf auf wirtschaftlich sinnvolle Produktmengen wert legen. Sofern Ihr Zweirad einmal ein neues Bauteil braucht, wenden Sie sich voll Vertrauen an uns. Sie erhalten bei uns ausnahmslos beste Qualität zu einem günstigen Preis. Einige Rollermarken wie Sundiro und Eppella werden schon seit langem nicht mehr gefertigt. Dennoch führen wir dafür noch die Einbauteile.Wir haben natürlich auch die Originalteile einer Menge Rollerproduzenten im Angebot, obwohl unsere Nachbauten mit den Originalen qualitativ ohne weiteres mithalten können und trotzdem vom Preis her im Allgemeinen um einiges preisgünstiger sind. Mit unseren Komponenten können Sie die Instandsetzung Ihres Rollers selbst durchführen beziehungsweise auch von einem Fachmann ausführen lassen. Sie werden vermutlich keine bessere Alternative finden, um zu erschwinglichen Kosten Ihren Roller instand setzen zu können.Es ist denkbar leicht, mit Hilfe der Abbildungen das passende Austauschteil aufzufindenNeben den Erläuterungen finden Sie auf unserer Seite auch entsprechendes Bildmaterial. Dadurch können Sie gleich Ihre alte Komponente mit dem lieferbaren Ersatz vergleichen und gehen somit sicher, dass Sie später auch wirklich das richtige Produkt erhalten. Relevant hierbei ist, dass Ihre Bestellung nicht nur visuell, sondern auch in den Spezifikationen und Dimensionen mit dem alten Bauteil zusammenpasst. Was Sie davon haben:Wir holen und bringen Ihr FahrzeugDIN-Norm gerechte und ISO-zertifizierte Präzisionsfertigung"Geld zurück" - Garantie, deshalb Kauf ohne RisikoAuch bei preisgünstigen Nachbauten erhalten Sie von uns stets die Erstausrüster-QualitätAbsolute Verkehrssicherheit des Motorrollers, speziell bei den BremsenUnser Lager umfasst Einbauelemente und Artikel für ungefähr 250 Marken und 8500 TypenKurzfristige LieferzeitenUnsere sämtlichen Produkte sind preiswert, betriebssicher sowie zuverlässigSie zahlen nur einmal den Versand beim Ordern mehrerer Komponenten mit identischen LieferbedingungenWir kaufen Ihr ZweiradMotorroller, Fun-Fahrzeuge, Buggys und Quads kauft man vorzugsweise bei uns als Fachhändler. Wozu sind wir der richtige Partner für Sie? Weil wir für dieses Geschäftsfeld die Meister-Qualifikation und das entsprechende Know-how besitzen, was hierfür unter allen Umständen benötigt wird. Wir betreiben nicht ausschließlich unser Geschäft rund um die Roller, wir leben es richtiggehend. Weil Kaufen Vertrauenssache ist, sollte man sich darum das bevorzugte Fachgeschäft zuerst genau angucken, bei dem man vorhat ein motorisiertes Zweirad zu kaufen. Unsere Geschäftspraktiken sind für den Kunden hundertprozentig nachvollziehbar! Warum kommen Sie nicht mal bei uns vorbei, um sich selber zu informieren?Das was Sie dort beobachten, wird Sie ohne Frage überzeugen.Wenn Ihnen der Weg zu uns zu weit ist, können Sie sich auch mittels des Trustedshops-Siegels und die zahlreichen Ebay Bewertungen kundig machen. Sowohl unsere Geschäftspraxis als auch unser Onlineshop werden z.B. mit dem Trustedshops Gütesiegel "sehr gut" eingestuft. Der Wert von circa 99,9 Prozent bei Ebay in den Kundenrezensionen kann sich gleichfalls sehen lassen. Diese Resultate zeigen eines ganz offensichtlich: Wir geben in allen Belangen immer unser Bestes! Denken Sie aber bitte daran, dass wir keine Maschinen sondern auch nur Menschen sind, denen ein Fehler unterlaufen kann. Wir möchten Sie demzufolge bitten, uns unbedingt eine Möglichkeit zur Verbesserung zu geben, wenn mal etwas nicht ganz geklappt hat.Wann wir Ihnen zu Diensten stehen? Täglich von 8:00 bis 18:00 Uhr und am Samstag von 8:00 bis 13:00 Uhr.Unser Unternehmen stellt sich vorBei uns ist der Kunde noch König. Mehr als 25 Jahre ist unser Unternehmen ausgesprochen Erfolg versprechend im Geschäft mit motorisierten Zweirädern im Einsatz, wobei wir uns andererseits schon vor über 50 Jahren auf dem Gebiet des Maschinenbaus erfolgreich etabliert haben. Wir haben uns zwischenzeitlich schwerpunktmäßig auf Ersatzkomponenten, das "Nice-to-have" zur Erhöhung der Motorleistung und Zubehör für die meisten Motorroller festgelegt.Wir haben über 500.000 Einbauteile im SortimentIn unserem Shop finden Sie unter Motorroller.de nahezu alle Komponenten und motorisierte Zweiräder aus Europa und Asien. In unserem Versandlager warten Teile, Artikel und passendes Zubehör für ungefähr 250 Fabrikate und 8500 Typen auf Ihre Bestellung. Zu unseren Lieferanten gehören z.B. so namhafte Anbieter wie Jonway, Yamaha, Kreidler oder Adly. Auf einer Fläche von über 1.000 m² haben wir in unserem Hochregallager mehr als 500.000 Produkte diverser Produzenten lieferbar. Unser Zubehörbereich bietet demnach alles, was Sie als Rollerfahrer für Ihr Zweirad benötigen. Das beginnt bei den Schutzhelmen über die Windschilder und dem Top Case, und geht bis hin zu Handschuhen, Regensets und Nierengürteln.In unserer Tuningabteilung halten wir für alle, die es lieber sportlich mögen ebenfalls einige ausgesuchte Artikel bereit. Dazu zählen etwa Zylinder, Auspuffanlagen, Kolben und weitere Dinge.Unmittelbar nach der ProduktionKeine Lieferung verlässt unser Haus, bevor sie nicht auf makellose Qualität geprüft worden ist. Dies bedeutet, sämtliche Roller, die die Produktion verlassen haben und bei uns angeliefert werden, begutachten wir nochmals ausführlich auf eventuelle Fehler oder Transportschäden, bevor wir sie in die Hände unserer Kunden übergeben. Sobald die Motorroller bei uns ankommen, wird jedes einzelne Zweirad ausgepackt und zunächst einer Sichtprüfung respektive einem Testlauf auf unserem Prüfstand unterzogen. Bei dem gelieferten Fahrzeug wird dann nach der Lieferung zum Käufer letztendlich nochmals ein Funktionstest ausgeführt. Hierdurch ist ein einwandfreier Betrieb des Gefährts wirklich gewährleistet.Schutz unserer UmweltWir tragen zum Schutz unserer Umwelt bei. Zur Bewahrung der Luftreinheit besitzen unsere Zweiräder im Prinzip Motoren, welche äußerst effizient sind. Die Transportverpackung nehmen wir klarerweise wieder mit, um sie einer professionellen Müllentsorgung zuzuführen - auch das gehört für uns zu einer sauberen Umwelt.Roller-AnkaufNach dem Kauf eines neuen Motorrollers aus unserem Fahrzeugangebot wollen Sie sich von Ihrem alten Zweirad trennen? Seien Sie deswegen unbesorgt! Wir nehmen Ihren gebrauchten Roller gerne in Zahlung.Sie sind nach wie vor nicht begeistert?Dann würden wir uns sehr freuen, wenn wir von Ihnen die Möglichkeit bekämen, unsere Leistungen unter Beweis zu stellen. Wir gehören nicht zu den billigen Verkaufsshops, die heute kommen und morgen gehen. Die gut fundierte Basis für einen erfolgreichen Betrieb besteht darin, dass lediglich zufolge zeitgemäßer Innovationen und neuer Ideen ein nachhaltiges Wachstum gesichert werden kann. Daher stehen Fleiß und ständiges Lernen in unserem stetig expandierenden Unternehmen fortwährend in der Rangordnung ganz oben. Besuchen Sie uns doch einmal in unserem Unternehmen in Lindenfels-Eulsbach und überzeugen Sie sich persönlich von unserem ausgezeichneten Service.Wie kommen Sie auf einfache Weise zu uns nach Lindenfels?Rund 60 km südlich von Frankfurt am Main findet man Lindenfels im Regierungsbezirk Darmstadt. Falls Sie mit dem eigenen Fahrzeug anreisen, erreichen Sie den Ort per Autobahn entweder von Norden über Frankfurt/Main (A6) oder von Süden über Stuttgart, Karlsruhe und Mannheim (A8). Die Anfahrt per Bahn ist selbstverständlich gleichfalls möglich.Unsere TopmarkenUnsere Topmarken

Verkaufspreis:
Nicht verfügbar
36,71 € Regulärer Preis: 42,22 €
Rabatt
Baotian BT49QT-9 4T Bundschraube 50ccm 4Takt GB-T5787-1986-M8X35 Motorroller.de M8x35mm Maschinenschraube Flanschschraube Flansch-Schraube Scooter
Baotian BT49QT-9 4T Bundschraube 50ccm 4Takt GB-T5787-1986-M8X35 Motorroller.de M8x35mm Maschinenschraube Flanschschraube Flansch-Schraube Scooter

zu Artikel: Flanschschraube M 8 x 35mm GB/T5787-1986-M8X35 Flanschschraube M 8 x 35mmTechnik-InfoFlanschschraubeFlansch-Schraube, Flanschschraube, Bund-Schraube, Bundschraube, Maschinenschraube, Schraube, Maschinen-SchraubeHier handelt es sich um ein Standard-Ersatzteil in erstklassiger Qualität. Die Teile werden einer ständigen Qualitätssicherung unterzogen, zu Ihrer und unserer Zufriedenheit.Dieser Artikel passt bei vielen Modellen, unter anderem für: bundesweiter Home-Service, AGM GMX-550 (50QT7), motorroller.de ihr Roller-Experte, AGM GMX-450 (50QT-7), gerne können Sie uns eine Email-Anfrage senden, Bitte vergleichen Sie mit ihren FahrzeugpapierenKostenloser Versand   Bei Ersatzteilen für jeden zusätzlichen Artikel mit den gleichen Versandkriterien, den Sie von uns kaufen.Unsere Ersatzteile für ihren Roller bzw. Motorroller oder auch Scooter können Sie bequem online in unserem Shop kaufen. Egal ob sie Ihren Roller im Kaufhaus oder im Baumarkt gekauft haben, für alle gängigen China-, Europa-, oder Taiwan-Roller finden Sie bei uns passende Bauteile, insbesondere für die Motoren 50 cc, 125 cc, 250 ccm, 2takt, 4takt und für größere Leistungen. Speziell für die Motorentypen 164FML ,157QMJ, 158MJ , GY6 ,139FMB ,150QMG ,153FMI, 156FMI ,1E40QMB, 1E40QMA ,139QMB, 139QMA, JSD139QMB ,152QMI, 157QMI ,125-4T6M in kurzen und langen Versionen in den Normen Euro1, Euro2, Euro3 sowie die neuen Euro 4 Einspritzer-Motoren finden Sie qualitativ erstklassige Ersatzteile. Gerne können Sie auch per Email nach Ersatzteilen anfragen. Bei Bestellwerten über 100 Euro können Sie auch unseren Finanzierungs- bzw. Ratenkauf-Service nutzen. Beim Kauf von Fahrzeugen können wir Ihnen auch ein Leasing-Angebot unterbreiten, das bietet sich insbesondere für Firmen an, die Betriebsfahrzeuge anschaffen, oder ihren Mitarbeitern ein Fahrzeug zur Verfügung stellen. Bitte fragen Sie an.

Verkaufspreis:
Nicht verfügbar
2,99 € Regulärer Preis: 3,44 €