Zum Hauptinhalt springen Zur Suche springen Zur Hauptnavigation springen
Menü
efr
erf
rrrf
Schnell lieferbar
14 Tage Rückgaberecht
Schneller DPD Versand

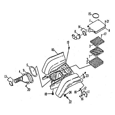
zu Artikel: Halter f. Reflektor 99558

Halter f. Reflektor

Technik-Info

Halter

Halter, Haltebügel, Halteblech, Halterung, Haltebuegel, Befestigung, Halte-Blech, Halte-Bügel, Halte-Buegel

Ob Halter für Kabel und Schläuche, für Ständer, Auspuff auch Befestigungsbrücken für Gepäckträger sind bei uns Standard-Ersatzteile in erstklassiger Qualität. Die Teile werden einer ständigen Qualitätssicherung unterzogen, zu Ihrer und unserer Zufriedenheit.

Dieser Artikel passt bei vielen Modellen, unter anderem für:

Kreidler Mustang 250, Bitte vergleichen Sie mit ihren Fahrzeugpapieren, Rex Quad 150, Kreidler Mustang 170

Die Marke Rex ist eine der meistverkauften in Deutschland. Durch ständige Qualitätskontrollen vorort beim Hersteller ist ein hoher Standard gewährleistet.

Kostenloser Versand   Bei Ersatzteilen für jeden zusätzlichen Artikel mit den gleichen Versandkriterien, den Sie von uns kaufen.

Unsere Ersatzteile für ihren Motorroller bzw. Scooter oder auch Roller können Sie bequem online in unserem Shop kaufen. Egal ob sie Ihren Roller im Baumarkt oder im Kaufhaus gekauft haben, für alle gängigen China-, Europa-, oder Taiwan-Roller finden Sie bei uns passende Bauteile, insbesondere für die Motoren 50 cc, 125 cc, 250 ccm, 4takt, 2takt und für größere Leistungen. Speziell für die Motorentypen 157QMJ, 158MJ ,152QMI, 157QMI ,125-4T6M ,139QMB, 139QMA, JSD139QMB , GY6 ,139FMB ,150QMG ,153FMI, 156FMI ,1E40QMB, 1E40QMA ,164FML in kurzen und langen Versionen in den Normen Euro1, Euro2, Euro3 sowie die neuen Euro 4 Einspritzer-Motoren finden Sie qualitativ hochwertige Ersatzteile. Gerne können Sie auch per Email nach Ersatzteilen anfragen. Bei Bestellwerten über 100 Euro können Sie auch unseren Finanzierungs- bzw. Ratenkauf-Service nutzen. Beim Kauf von Fahrzeugen können wir Ihnen auch ein Leasing-Angebot unterbreiten, das bietet sich insbesondere für Firmen an, die Betriebsfahrzeuge anschaffen, oder ihren Mitarbeitern ein Fahrzeug zur Verfügung stellen. Wir freuen uns auf Ihre Anfrage.

Baugruppe: Rahmen

Ersatzteil: Rahmenteile

Artikelposition in Explosionszeichnung: 12

Motorroller bequem online kaufen – von der Bestellung bis zur Lieferung


Mobiler Home Service – Bundesweit Inspektionen und Reparaturen


Motorroller.de – Über uns – Ihr Support vom Profi seit 1993

Ihr Finanzierungsplan**
Monate Rate mtl. Gesamt
6039,67 €2.380,49 €
12157,59 €1.891,14 €

Einfach im Bestellvorgang die Expokredit-Finanzierung als Zahlungsweise auswählen ...

  • Barossa Cheetah 250
  • Kreidler Mustang 170
  • Kreidler Mustang 250
  • Rex Quad 150
  • Rex Quad 150ccm (1-Zyl.)
  • Rex Quad 250
  • Rex Quad 250ccm (2-Zyl.)
  • SMC STM Quad 150
  • SMC STM Quad 170
  • STM SMC Quad 250
Produktgalerie überspringen

Kunden haben sich ebenfalls angesehen

Rabatt
PGO Vergaserdüse Big Max 50 Vergaser-Düse Roller 50ccm 2Takt Motorroller.de Hauptdüse Nadeldüse Dosierdüse Einstelldüse Haupt-Düse Nadel-Düse Scooter
PGO Vergaserdüse Big Max 50 Vergaser-Düse Roller 50ccm 2Takt Motorroller.de Hauptdüse Nadeldüse Dosierdüse Einstelldüse Haupt-Düse Nadel-Düse Scooter

zu Artikel: Hauptdüse D1927-TB1-0100 HauptdüseTechnik-InfoHauptdüseauch zu finden unter: Hauptdüse, Hauptduese, Vergaserdüse, Vergaserduese, Nadeldüse, Nadelduese, Vergaser-Düse, Vergaser-Duese, Haupt-Düse, Haupt-Duese, Nadel-Düse, Nadel-DueseDas Benzing wird durch die Hauptdüse in den Luft-Trichter geführt, wo es zu einem Gemisch zerstäubt wird. Die Abmessungen des Lufttrichters und der Hauptdüse müssen au die optimale Leistung des Motors ausgelegt sein. Es ist Wichtig, dass die vom Hersteller vorgeschriebene Hauptdüse verwendet wird. Wir Liefern in Erstausrüster-Qualität.Dieser Artikel passt bei vielen Modellen, unter anderem für:PGO Big Max 50 PGO Big Max Sport PGO PS 50 Dieser Hersteller ist seit vielen Jahren erfolgreich auf dem internationalen Markt. Er hat sich durch Zuverlässigkeit seiner Produkte einen Namen gemacht.Geprüfte Erstausrüsterqualität 1a Verarbeitung Lagerware günstiger Preis Direktimport sofort versandbereit Kauf vom GroßvertreiberUnsere Ersatzteile für ihren Roller bzw. Motorroller oder auch Scooter können Sie bequem online in unserem Shop kaufen. Egal ob sie Ihren Roller im Kaufhaus oder im Baumarkt gekauft haben, für alle gängigen China-, Europa-, oder Taiwan-Roller finden Sie bei uns passende Bauteile, insbesondere für die Motoren 50 cc, 125 cc, 250 ccm, 4-Takt, 2-Takt und für größere Leistungen. Speziell für die Motorentypen 164FML ,157QMJ, 158MJ , GY6 ,125-4T6M ,150QMG ,153FMI, 156FMI ,139FMB ,139QMB, 139QMA, JSD139QMB ,152QMI, 157QMI ,1E40QMB, 1E40QMA in kurzen und langen Versionen in den Normen Euro1, Euro2, Euro3 sowie die neuen Euro 4 Einspritzer-Motoren finden Sie Ersatzteile von bewährter Qualität. Gerne können Sie auch per Email nach Ersatzteilen anfragen. Bei Bestellwerten über 100 Euro können Sie auch unseren Finanzierungs- bzw. Ratenkauf-Service nutzen. Beim Kauf von Fahrzeugen können wir Ihnen auch ein Leasing-Angebot unterbreiten, das bietet sich insbesondere für Firmen an, die Betriebsfahrzeuge anschaffen, oder ihren Mitarbeitern ein Fahrzeug zur Verfügung stellen. Ihre Anfrage nehmen wir gerne entgegen

Verkaufspreis:
Kurzfristig lieferbar
8,08 € Regulärer Preis: 9,29 €
Rabatt
Rex Rexy 125 Lagerbockschraube M10x148mm 125ccm 4Takt 79014 Motorroller.de Scooter Ersatzteil Service Inpektion Direktimport
Rex Rexy 125 Lagerbockschraube M10x148mm 125ccm 4Takt 79014 Motorroller.de Scooter Ersatzteil Service Inpektion Direktimport

zu Artikel: Lagerbockschraube M 10 x 148 Lagerbockschraube 79014 Lagerbockschraube M 10 x 148Technik-InfoLagerbockschraubeLagerbockschraube, Lagerbockschraube M 10 x 148, LagerschraubeDieser Artikel passt bei vielen Modellen, unter anderem für: Bitte vergleichen Sie mit ihren Fahrzeugpapieren, gerne können Sie uns eine Email-Anfrage senden, Rex Rexy 125, motorroller.de ihr Roller-Experte, Die Marke Rex ist eine der meistverkauften in Deutschland. Durch ständige Qualitätskontrollen vorort beim Hersteller ist ein hoher Standard gewährleistet.Kostenloser Versand   Bei Ersatzteilen für jeden zusätzlichen Artikel mit den gleichen Versandkriterien, den Sie von uns kaufen.Unsere Ersatzteile für ihren Roller bzw. Motorroller oder auch Scooter können Sie bequem online in unserem Shop kaufen. Egal ob sie Ihren Roller im Baumarkt oder im Kaufhaus gekauft haben, für alle gängigen Taiwan-, Europa-, oder China-Roller finden Sie bei uns passende Bauteile, insbesondere für die Motoren 50 cc, 125 cc, 250 ccm, 4-Takt, 2-Takt und für größere Leistungen. Speziell für die Motorentypen 1E40QMB, 1E40QMA ,125-4T6M ,150QMG ,153FMI, 156FMI ,139FMB , GY6 ,152QMI, 157QMI ,164FML ,139QMB, 139QMA, JSD139QMB ,157QMJ, 158MJ in kurzen und langen Versionen in den Normen Euro1, Euro2, Euro3 sowie die neuen Euro 4 Einspritzer-Motoren finden Sie Ersatzteile von hoher Güte. Gerne können Sie auch per Email nach Ersatzteilen anfragen. Bei Bestellwerten über 100 Euro können Sie auch unseren Ratenkauf- bzw. Finanzierungs-Service nutzen. Beim Kauf von Fahrzeugen können wir Ihnen auch ein Leasing-Angebot unterbreiten, das bietet sich insbesondere für Firmen an, die Betriebsfahrzeuge anschaffen, oder ihren Mitarbeitern ein Fahrzeug zur Verfügung stellen. Ihre Anfrage nehmen wir gerne entgegen

Verkaufspreis:
Verfügbar
5,51 € Regulärer Preis: 6,34 €
Rabatt
PGO Werkzeugset X-RIDER 50 Werkzeugsatz Werkzeugkit Quad ATV X0706540000 Motorroller.de PGO 50ccm-2Takt X-RIDER 110 UTV Ersatzteil Service Inpektion
PGO Werkzeugset X-RIDER 50 Werkzeugsatz Werkzeugkit Quad ATV X0706540000 Motorroller.de PGO 50ccm-2Takt X-RIDER 110 UTV Ersatzteil Service Inpektion

zu Artikel: Werkzeugset xr50/xr90/xr110 X0706540000 Werkzeugset xr50/xr90/xr110Technik-InfoWerkzeugsetWerkzeugset xr50/xr90/xr110, WerkzeugsetDieser Artikel passt bei vielen Modellen, unter anderem für: PGO X-Rider 90, PGO X-RIDER 50, PGO X-RIDER 110, Bitte vergleichen Sie mit ihren FahrzeugpapierenDieser Hersteller ist seit vielen Jahren erfolgreich auf dem internationalen Markt. Er hat sich durch Zuverlässigkeit seiner Produkte einen Namen gemacht.Kostenloser Versand   Bei Ersatzteilen für jeden zusätzlichen Artikel mit den gleichen Versandkriterien, den Sie von uns kaufen.Unsere Ersatzteile für ihren Motorroller bzw. Roller oder auch Scooter können Sie bequem online in unserem Shop kaufen. Egal ob sie Ihren Roller im Baumarkt oder im Kaufhaus gekauft haben, für alle gängigen Taiwan-, China-, oder Europa-Roller finden Sie bei uns passende Bauteile, insbesondere für die Motoren 50 cc, 125 cc, 250 ccm, 2takt, 4takt und für größere Leistungen. Speziell für die Motorentypen 157QMJ, 158MJ , GY6 ,125-4T6M ,139QMB, 139QMA, JSD139QMB ,153FMI, 156FMI ,139FMB ,152QMI, 157QMI ,150QMG ,1E40QMB, 1E40QMA ,164FML in kurzen und langen Versionen in den Normen Euro1, Euro2, Euro3 sowie die neuen Euro 4 Einspritzer-Motoren finden Sie qualitativ erstklassige Ersatzteile. Gerne können Sie auch per Email nach Ersatzteilen anfragen. Bei Bestellwerten über 100 Euro können Sie auch unseren Ratenkauf- bzw. Finanzierungs-Service nutzen. Beim Kauf von Fahrzeugen können wir Ihnen auch ein Leasing-Angebot unterbreiten, das bietet sich insbesondere für Firmen an, die Betriebsfahrzeuge anschaffen, oder ihren Mitarbeitern ein Fahrzeug zur Verfügung stellen. Ihre Anfrage nehmen wir gerne entgegen

Verkaufspreis:
Verfügbar
40,95 € Regulärer Preis: 49,90 €
Rabatt
Spritzschutz unten schwarz Schutzblech 75520
Spritzschutz unten schwarz Schutzblech 75520

zu Artikel: Spritzschutz unten schwarz Schutzblech 75520 Spritzschutz unten schwarzTechnik-InfoSpritzschutzSchmutzfaenger, Schmutzabweiser, Radabdeckung, Innen-Kotflügel, Rad-Abdeckung, Radlauf, Rad-Lauf, Radlaufschutz, Radlauf-Schutz, Schutzblech, Schutz-Blech, Spritz-Schutz, Schmutz-Fänger, Schmutz-Faenger, Spritz-Lappen, Spritzschutzgummi, Spritzgummi, Schmutzfänger, Spritzlappen, SpritzschutzDieser Artikel passt bei vielen Modellen, unter anderem für: Rex 25 Scooter, Rex 25, Rex 25-50 2-T, Rex 50, Geprüfte Erstausrüsterqualität beste Verarbeitung Best. Ware günstiger Preis da Direktimport Kauf 100% ohne Risiko vom Topseller Sie können unsere Ersatzteile für ihren Roller bzw. Motorroller oder auch Scooter bequem online in unserem Shop kaufen. Egal ob Kaufhaus-Roller oder im Baumarkt-Roller, für alle gängigen Europa-, China-, oder Taiwan-Roller finden Sie bei uns passende Bauteile. Speziell für die Motoren 50 cc, 125 cc, 250 ccm, 2takt, 4takt und für größere Leistungen. Speziell für die Motorentypen 139QMB, 139QMA, 1E40QMB, 152QMI, 157QMI, GY6, 125-4T6M, 139FMB, 153FMI, 156FMI, 157QMJ, 158MJ, 164FML, 1E40QMA, JSD139QMB, 150QMG in kurzen und langen Versionen in den Normen Euro1, Euro2, Euro3 sowie die neuen Euro 4 Einspritzer-Motoren finden Sie qualitativ hochwertige Ersatzteile. Gerne können Sie auch per Email nach Ersatzteilen anfragen. Ab Bestellwerten über 100 Euro bieten wir Ihnen unseren Finanzierungs- bzw. Ratenkauf-Service an. Beim Kauf von Fahrzeugen besteht die Möglichkeit der Finanzierung oder des Leasings. Speziell für Firmen, die Betriebsfahrzeuge anschaffen, oder ihren Mitarbeitern ein Fahrzeug zur Verfügung stellen, ist die eine interessante Alternative.

Verkaufspreis:
Verfügbar
69,90 € Regulärer Preis: 80,39 €
Rabatt
PGO Gewindebolzen M8x195mm X-RIDER 150 Schraube 150ccm 4Takt Motorroller.de Gewindestange Gewinde-Stange Stehbolzen Stiftschraube Gewindestab Quad ATV
PGO Gewindebolzen M8x195mm X-RIDER 150 Schraube 150ccm 4Takt Motorroller.de Gewindestange Gewinde-Stange Stehbolzen Stiftschraube Gewindestab Quad ATV

zu Artikel: STEHBOLZEN M8X195 90170819500 STEHBOLZEN M8X195Technik-InfoStehbolzenSteh-Bolzen, Gewinde-Bolzen, Gewinde-Stange, Schraub-Stange, Gewinde-Stab, Stiftschraube, Stift-Schraube, Stehbolzen Zylinderauslass, Zylinderstehbolzen, Steh-Stift, Schraubstehbolzen, Lagerbolzen, Bolzen, Schraube, Schraubbolzen, Schraubstange, Gewindebolzen, Gewindestange, Stehbolzen, GewindestabBolzen sind Standard-Bauteile, an denen oder mit denen andere Fahrzeug- oder Maschinenbauteile befestigt werden. Auch hier ist darauf zu achten, dass die Dimension und die Stahl-Beschaffenheit für die jeweilige Aufgabe / Funktion entsprechend ausgelegt ist. Wir liefern immer die passenden Bolzen in Erstausrüster-Qualität.Dieser Artikel passt bei vielen Modellen, unter anderem für: PGO G-Max 150, PGO G-Max, PGO G-Max 125, PGO Burgrider 150Dieser Hersteller ist seit vielen Jahren erfolgreich auf dem internationalen Markt. Er hat sich durch Zuverlässigkeit seiner Produkte einen Namen gemacht.Kostenloser Versand   Bei Ersatzteilen für jeden zusätzlichen Artikel mit den gleichen Versandkriterien, den Sie von uns kaufen.Unsere Ersatzteile für ihren Motorroller bzw. Scooter oder auch Roller können Sie bequem online in unserem Shop kaufen. Egal ob sie Ihren Roller im Kaufhaus oder im Baumarkt gekauft haben, für alle gängigen Taiwan-, China-, oder Europa-Roller finden Sie bei uns passende Bauteile, insbesondere für die Motoren 50 cc, 125 cc, 250 ccm, 2-Takt, 4-Takt und für größere Leistungen. Speziell für die Motorentypen 152QMI, 157QMI ,125-4T6M , GY6 ,164FML ,139FMB ,139QMB, 139QMA, JSD139QMB ,157QMJ, 158MJ ,1E40QMB, 1E40QMA ,150QMG ,153FMI, 156FMI in kurzen und langen Versionen in den Normen Euro1, Euro2, Euro3 sowie die neuen Euro 4 Einspritzer-Motoren finden Sie qualitativ erstklassige Ersatzteile. Gerne können Sie auch per Email nach Ersatzteilen anfragen. Bei Bestellwerten über 100 Euro können Sie auch unseren Ratenkauf- bzw. Finanzierungs-Service nutzen. Beim Kauf von Fahrzeugen können wir Ihnen auch ein Leasing-Angebot unterbreiten, das bietet sich insbesondere für Firmen an, die Betriebsfahrzeuge anschaffen, oder ihren Mitarbeitern ein Fahrzeug zur Verfügung stellen. Bitte fragen Sie an.

Verkaufspreis:
Verfügbar
5,80 € Regulärer Preis: 6,67 €
Rabatt
PGO Halter Auspuff X-RIDER 50 Befestigung Halterung Quad ATV X0421650000 Motorroller.de Haltebügel Halteblech Halte-Blech Halte-Bügel PGO 50ccm-2Takt
PGO Halter Auspuff X-RIDER 50 Befestigung Halterung Quad ATV X0421650000 Motorroller.de Haltebügel Halteblech Halte-Blech Halte-Bügel PGO 50ccm-2Takt

zu Artikel: Halter Auspuff X0421650000 Halter AuspuffTechnik-InfoHalterHaltebügel, Halter, Haltebuegel, Halterung, Halteblech, Befestigung, Halte-Blech, Halte-Bügel, Halte-BuegelOb Halter für Kabel und Schläuche, für Ständer, Auspuff auch Befestigungsbrücken für Gepäckträger sind bei uns Standard-Ersatzteile in erstklassiger Qualität. Die Teile werden einer ständigen Qualitätssicherung unterzogen, zu Ihrer und unserer Zufriedenheit.Dieser Artikel passt bei vielen Modellen, unter anderem für: Bitte vergleichen Sie mit ihren Fahrzeugpapieren, PGO X-Rider 90, motorroller.de ihr Roller-Experte, gerne können Sie uns eine Email-Anfrage senden, PGO X-RIDER 110, bundesweiter Home-ServiceDieser Hersteller ist seit vielen Jahren erfolgreich auf dem internationalen Markt. Er hat sich durch Zuverlässigkeit seiner Produkte einen Namen gemacht.Kostenloser Versand   Bei Ersatzteilen für jeden zusätzlichen Artikel mit den gleichen Versandkriterien, den Sie von uns kaufen. Sie können unsere Ersatzteile für ihren Roller bzw. Motorroller oder auch Scooter bequem online in unserem Shop kaufen. Egal ob Kaufhaus-Roller oder im Baumarkt-Roller, für alle gängigen Europa-, China-, oder Taiwan-Roller finden Sie bei uns passende Bauteile. Speziell für die Motoren 50 cc, 125 cc, 250 ccm, 2takt, 4takt und für größere Leistungen. Speziell für die Motorentypen 139QMB, 139QMA, 1E40QMB, 152QMI, 157QMI, GY6, 125-4T6M, 139FMB, 153FMI, 156FMI, 157QMJ, 158MJ, 164FML, 1E40QMA, JSD139QMB, 150QMG in kurzen und langen Versionen in den Normen Euro1, Euro2, Euro3 sowie die neuen Euro 4 Einspritzer-Motoren finden Sie qualitativ hochwertige Ersatzteile. Gerne können Sie auch per Email nach Ersatzteilen anfragen. Ab Bestellwerten über 100 Euro bieten wir Ihnen unseren Finanzierungs- bzw. Ratenkauf-Service an. Beim Kauf von Fahrzeugen besteht die Möglichkeit der Finanzierung oder des Leasings. Speziell für Firmen, die Betriebsfahrzeuge anschaffen, oder ihren Mitarbeitern ein Fahrzeug zur Verfügung stellen, ist die eine interessante Alternative.

Verkaufspreis:
Verfügbar
19,90 € Regulärer Preis: 22,89 €