Zum Hauptinhalt springen Zur Suche springen Zur Hauptnavigation springen
Menü
efr
erf
rrrf
Schnell lieferbar
14 Tage Rückgaberecht
Schneller DPD Versand

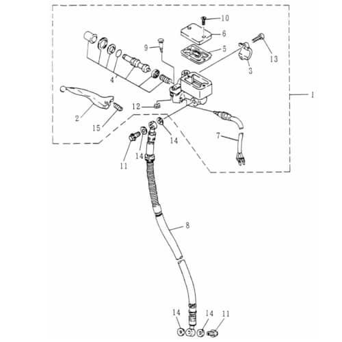
zu Artikel: Bremslichtschalter rechts mit Kabel

Bremslichtschalter

Zünd-Kabel komplett 4T

Technik-Info

Zünd-Kabel

auch zu finden unter: Zündung, Zuendung, Zündmodul, Zuendmodul, Zündkabel, Zuendkabel, Zündspule, Zünd-Kabel, Zuend-Kabel, Kerzenstecker, Zuendspule, Kerzen-Stecker, Zuend-Modul, Zünd-Modul, Zünd-Spule, Zuend-Spule

Ersatzzündspule in Erstausrüster-Qualität zum Superpreis, die bei den meisten Rollern verwendet wird und sehr leicht ausgetauscht werden kann. Einfach gegen die Originalspule austauschen, fertig ist die Sache.

Dieser Artikel wurde speziell hergestellt für:

Rex RS 900 QM50T 10A-A 50ccm 4Takt

Geprüfte Erstausrüsterqualität beste Verarbeitung Best. Ware günstiger Preis Direktimport Kauf 100% ohne Risiko vom Topseller

Unsere Ersatzteile für ihren Scooter bzw. Motorroller oder auch Roller können Sie bequem online in unserem Shop kaufen. Egal ob sie Ihren Roller im Kaufhaus oder im Baumarkt gekauft haben, für alle gängigen China-, Taiwan-, oder Europa-Roller finden Sie bei uns passende Bauteile, insbesondere für die Motoren 50 cc, 125 cc, 250 ccm, 4takt, 2takt und für größere Leistungen. Speziell für die Motorentypen 125-4T6M ,164FML ,139QMB, 139QMA, JSD139QMB ,157QMJ, 158MJ ,139FMB ,150QMG ,153FMI, 156FMI ,1E40QMB, 1E40QMA ,GY6 ,152QMI, 157QMI in kurzen und langen Versionen in den Normen Euro1, Euro2, Euro3 sowie die neuen Euro 4 Einspritzer-Motoren finden Sie hochqualitative Ersatzteile. Gerne können Sie auch per Email nach Ersatzteilen anfragen. Bei Bestellwerten über 100 Euro können Sie auch unseren Finanzierungs- bzw. Ratenkauf-Service nutzen. Beim Kauf von Fahrzeugen können wir Ihnen auch ein Leasing-Angebot unterbreiten, das bietet sich insbesondere für Firmen an, die Betriebsfahrzeuge anschaffen, oder ihren Mitarbeitern ein Fahrzeug zur Verfügung stellen. Wir freuen uns auf Ihre Anfrage.

Tauschen oder instand setzen?

Gleichgültig, ob jemand einen Elektroroller beziehungsweise E-Roller, Dreirad-Roller oder Motorroller fährt, er stellt sich höchstwahrscheinlich häufig die Frage, ob sie ein schadhaftes Element ersetzen oder reparieren lassen sollen. Woran man auch denken sollte: Ein neues Teil ist nicht nur rasch ausgetauscht, sondern macht das Zweirad auch deutlich ausfallsicherer als eine Instandsetzung. Die Ursache einer Funktionsstörung lässt sich oft nur von einem Fachmann mittels Spezialwerkszeugen feststellen. In dem Fall wäre es vorteilhafter, über unseren Shop eines der einbaufertigen Komplett-Kits zu bestellen, die wir in vielen diversen Ausführungen im Angebot haben. .

Hochklassige Komponenten für Ihren fahrbaren Untersatz

Mit Recht sind wir stolz darauf, dass die Qualität unserer sämtlichen Teile auf dem Weltmarktniveau konkurrenzfähig ist. Aus welchem Grund können wir so günstig sein? Die Antwort: Weil wir schon im Einkauf auf wirtschaftlich vernünftige Produktmengen achten. Diese beiden Punkte, nämlich zum einen die gute Qualität und andererseits der erschwingliche Preis heben uns in erster Linie von unseren Mitbewerbern ab.

Auch für Motorroller, Buggys und Quads, die nicht mehr gefertigt werden, haben wir im Regelfall die Komponenten lieferbar. So zum Beispiel für die Marken Sundiro und Eppella.

Sie bekommen bei uns natürlich auch die Originalteile vom jeweiligen Rollerhersteller. Wenn Sie jedoch Geld sparen wollen [und wer will das nicht], sollten Sie auf unsere Nachbauten zurückgreifen, welche nebenbei bemerkt, einen qualitativen Vergleich mit dem Erstausrüster- Produkt nicht scheuen müssen, obgleich sie im Prinzip deutlich billiger sind. Sie können mit unseren Komponenten die Reparatur von Ihrem motorisierten Zweirad entweder selbst ausführen oder von einem Fachmann machen lassen. Zu solch bezahlbaren Preisen und in Erstausrüster-Qualität werden Sie mit Sicherheit Ihr motorisiertes Zweirad nicht auf andere Weise reparieren können.

Es ist denkbar simpel, mittels der Produktbilder das richtige Austauschteil zu ordern

Bei den Beschreibungen finden Sie auf unserer Internet-Seite auch entsprechendes Bildmaterial. So können Sie auf schnellstem Weg Ihre defekte Komponente mit dem verfügbaren Ersatz vergleichen und gehen somit sicher, dass Sie nachher auch tatsächlich den dringend benötigten Artikel erhalten. Entscheidend hierbei ist, dass Ihre Bestellung sowohl visuell als auch in den technischen Spezifikationen und Abmessungen mit dem schadhaften Bauteil zusammenpasst.

Ihre Vorteile:

ISO-zertifizierte Präzisionsfertigung nach DIN-NormKurze LieferzeitenAlle unsere Produkte sind zuverlässig, kostengünstig und betriebssicherSie bezahlen bei Bestellung mehrerer Komponenten mit denselben Versandbedingungen nur einmal den VersandWir holen und bringen Ihr Fahrzeughundertprozentige Fahrsicherheit des Zweirads, besonders bei den BremsenEinbauelemente und Artikel für circa 250 Marken und 8500 Modelle auf LagerRoller-Ankauf zu fairen PreisenAuch bei günstigen Nachbauten bekommen Sie von uns ohne Ausnahme die Erstausrüster-QualitätKauf ohne Risiko dank "Geld zurück" - Garantie

Am besten kaufen Sie Motorroller, Quads, Straßenbuggys und Fun-Fahrzeuge in einem Fachgeschäft wie das unsrige. Was für einen Nutzen haben Sie von unserem Kundenservice? Weil wir für dieses Geschäftsfeld die Meister-Qualifikation und das Know-how besitzen, was hierzu unter allen Umständen gebraucht wird. Für unser familiär geführtes Unternehmen ist das Geschäft rund um die Motorroller der gesamte Lebensinhalt.

Es ist nötig, sich das Fachgeschäft in Folge dessen zuerst genau anzugucken, ehe man sich für einen Kauf entscheidet. Bei uns ist alles zu 100 Prozent transparent! Sie dürfen gerne zu jeder Zeit bei uns vorbeikommen und sich persönlich ein Bild machen.die Bestätigung unserer Qualität sehen Sie dann direkt vor Ort.

Potentielle Kunden, denen die Strecke zu uns zu weit ist, können sich von zu Hause aus mittels der diversen Ebay Bewertungen und des Trustedshops-Siegels über uns schlau machen. Die Benotungen von Trustedshops sind grundsätzlich nicht nur sehr aussagekräftig, sondern auch vollkommen wertneutral. Sowohl der Shop auf unserer Firmenwebseite Motorroller.de als auch unsere Geschäftspraktiken wurden von dieser Institution bis dato durchgehend mit "sehr gut" eingestuft. Unsere Käuferbewertungen bei Ebay liegen mit einem Faktor von ca. 99,9 % gleichfalls in einem sehr guten Bereich. Was demonstrieren all diese Ergebnisse ganz klar? Dass wir uns in allen Belangen immer mächtig ins Zeug legen!

Bitte denken Sie daran, dass dort wo gearbeitet wird, auch mal Fehler passieren. Deshalb bitten wir Sie, wenn mal etwas nicht zu Ihrer Zufriedenheit verlaufen ist, uns auf jeden Fall die Gelegenheit zur Verbesserung zu geben.

Zu welchen Zeiten wir Ihnen zu Diensten stehen? Täglich von 8:00 bis 18:00 Uhr und samstags von 8:00 bis 13:00 Uhr.

Über uns

Bei uns ist der Kunde noch König. Das Fahrzeuggeschäft betreiben wir bereits über 25 Jahre äußerst Erfolg versprechend, möchten hierbei allerdings erwähnen, dass wir schon mehr als fünfzig Jahre auf eine Erfolgsgeschichte im Bereich Maschinenbau zurückblicken können. Mittlerweile haben wir uns neben der Vermarktung von Motorrollern, auf Fahrzeugzubehör, das "Must have" für Tuning und Ersatzbauteile fokussiert.

Unsere Artikelpalette schließt rund 500.000 Ersatzteile ein

Wenn Sie zu Ihrem motorisierten Zweirad ein Zubehörteil suchen, werden Sie auf unserer Seite unter Motorroller.de ohne Zweifel das geeignete Element finden. In unserem Versandlager warten Einbauteile, Artikel und passendes Zubehör für etwa 250 Fabrikate und 8500 Typen auf Ihre Bestellung. Darunter befinden sich zum Beispiel Lieferanten wie Yamaha, Jonway, Kreidler oder Adly. Auf einer Lagerfläche von über 1.000 m² haben wir in unseren Hochregalen mehr als 500.000 Produkte zahlreicher Produzenten lieferbar. Hier finden Sie stets das gewünschte Zubehör für Ihr Zweirad von A bis Z.

Das beginnt beim Top Case über die Schutzhelme und den Windschildern, und geht bis hin zu Nierengürteln, Regensets und Handschuhen.Selbst Tuningfans kommen bei uns auf ihre Kosten. Zum Tunen ihres Zweirads finden sie in unserer Tuningabteilung alles was das Herz begehrt, wie etwa Zylinder, Kolben, Auspuffanlagen und dergleichen Dinge.

Was passiert nach erfolgter Produktion?

Laufende Qualitätsprüfungen sind das Hobby unseres Hauses. Dies bedeutet, bevor wir einen Motorroller in die Hände des Kunden übergeben, wird er von uns nochmals auf einwandfreie Funktion und Fehlerfreiheit überprüft. Vor der Übergabe wird erstmal jedes Fahrzeug ausgepackt und auf unserem Zweirad-Prüfstand einem Testlauf unterzogen. Bei dem gelieferten Roller wird dann nach der Lieferung zum Käufer schließlich erneut ein Funktionstest ausgeführt. So ist eine problemlose Nutzung des Gefährts de facto garantiert.

Umweltschutz

Uns liegt sehr viel an einem effektiven Umweltschutz. Das sagen wir nicht nur, weil unsere motorisierten Zweiräder allesamt mit Verbrennungsmotoren versehen sind, die verhältnismäßig wenig Sprit verbrauchen. Selbstverständlich nehmen wir im Sinne des Umweltschutzes die Transportverpackung wieder mit, die bei der Auslieferung unserer Fahrzeuge anfällt und führen sie einer fachgemäßen Müllentsorgung zu.

Ihren ausgedienten Motorroller nehmen wir gerne in Zahlung

Nach dem Erwerb eines neuen Motorrollers aus unserem Fahrzeugangebot wollen Sie sich von Ihrem alten Modell trennen? Machen Sie sich hierüber keinen Kopf! Wir kaufen Ihren ausgedienten Roller an.

Haben Sie immer noch Zweifel?

Geben Sie uns doch die Möglichkeit, unsere Leistungen zu beweisen. Man darf uns nicht mit den zahlreichen billigen Onlineshops, die heute ihre Produkte anbieten und morgen bereits wieder weg sind, auf eine Stufe stellen. Nur auf Grund neuer Ideen und zeitgemäßer Innovationen lässt sich eine stabile geschäftliche Ausgangsbasis schaffen. So gesehen steht in unserem stetig wachsenden Unternehmen Fleiß und ständiges Lernen stets an erster Stelle. Besuchen Sie uns doch einmal in unserem Betrieb in Lindenfels-Eulsbach und überzeugen Sie sich selber von unserem hervorragenden Service.

Wie kommen Sie am besten zu uns nach Lindenfels?

Für den Fall, dass Sie über die Autobahn mit dem eigenen PKW kommen, führt die Strecke nach Lindenfels entweder über Mannheim (A8) oder über Frankfurt am Main (A6). Der Ort befindet sich im Regierungsbezirk Darmstadt. Es besteht auch eine gute Verkehrsanbindung per Bahn.

Baugruppe: Elektrik

Artikelposition in Explosionszeichnung: 7

Position: rechts

Ersatzteil: Bremslichtschalter

Motorroller bequem online kaufen – von der Bestellung bis zur Lieferung


Mobiler Home Service – Bundesweit Inspektionen und Reparaturen


Motorroller.de – Über uns – Ihr Support vom Profi seit 1993

Ihr Finanzierungsplan**
Monate Rate mtl. Gesamt
6039,67 €2.380,49 €
12157,59 €1.891,14 €

Einfach im Bestellvorgang die Expokredit-Finanzierung als Zahlungsweise auswählen ...

  • CPI Aragon 50
  • CPI Bingo Tennesse 50 Euro 1 10 mm KolbenBolzen
  • CPI Formula R 50
  • CPI Hussar 50 Euro 1 10 mm KolbenBolzen
  • CPI Hussar 50 Euro 2 12 mm KolbenBolzen
  • CPI Hussar 50 FL Euro 1 10 mm KolbenBolzen
  • CPI Hussar 50 SL Euro 1 10 mm KolbenBolzen
  • CPI Oliver 125
  • CPI Oliver 50 City
  • CPI OLIVER 50 CITY Euro 2 12 mm KolbenBolzen
  • CPI Oliver 50 Euro 2 12 mm KolbenBolzen
  • CPI Oliver 50 Sport Euro 2 12 mm KolbenBolzen
  • CPI Oliver City
  • CPI Popcorn 50 Euro 1 10 mm KolbenBolzen
  • CPI Popcorn 50 Euro 2 12 mm KolbenBolzen
  • CPI Popcorn 50 FL Euro 1 10 mm KolbenBolzen
  • CPI Popcorn 50 SL Euro 1 10 mm KolbenBolzen
  • Jonway Imola 125 Race/Urban
  • Jonway Imola 50 Race/Urban
  • Jonway Milano 125
  • Jonway Milano 50
  • Jonway Rex E-Novation 3000
  • Jonway Rex RS 460
  • Jonway Rex RS 500
  • Jonway Rex RS Classic
  • Jonway RS 1000
  • Jonway RS 400
  • Jonway RS 750
  • Jonway RS Classic
  • Jonway Stratos Chicago
  • Kreidler Flory
  • Kreidler Flory RC50 C-D
  • Kreidler RS 500
  • Qingqi Capriolo 50
  • Qingqi Rex RS 450 OFF-LIMIT/TRIBAL-Scooter/CAPRIOLO 50 QM50QT-6A
  • Qingqi REX RS 600 QM50QT-2
  • Qingqi REX RS 700 QM50QT-10A
  • Qingqi REX RS 900 QM50T 10A(A)
  • Qingqi RS 450
  • Qingqi RS 700
  • Qingqi RS 900
  • Qingqi RS 900 QM50T 10A
  • Rex 25
  • Rex 25 Escape
  • Rex 25 Scooter
  • Rex 25 Silverstreet
  • Rex 25 Trophy
  • Rex 25-50 2-T
  • Rex 50
  • Rex 50 Escape
  • Rex 50 Scooter
  • Rex 50 Scooter/MK 50/CAPRIOLO 50 (2-Takt)
  • Rex 50 Silverstreet
  • Rex 50 Trophy
  • Rex Capriolo 50 4T
  • Rex Flash 50
  • Rex Imola 125
  • Rex Imola 125 Race/Urban
  • Rex Imola 50
  • Rex Imola 50 Race/Urban
  • Rex Milano 125
  • Rex Milano 50
  • Rex Quad 150
  • Rex REXY 25-50
  • Rex Rexy 50
  • Rex Rexy 50 25 km/h
  • Rex Rexy 50 50 km/h
  • Rex RS 1000
  • Rex RS 250 QM50T 10A-B
  • Rex RS 400
  • Rex RS 450
  • Rex RS 450 OFF-LIMIT/TRIBAL-Scooter/CAPRIOLO 50 QM50QT-6A
  • Rex RS 450 QM50QT-6A CAPRIOLO 50
  • Rex RS 460
  • Rex RS 460 BOSTON 8
  • Rex RS 460 Mofaroller 4-T
  • Rex RS 500
  • Rex RS 500 QM50QT 6A-AQINGQI
  • Rex RS 600 QM50QT-2
  • Rex RS 700 QM50QT-10A
  • Rex RS 750
  • Rex RS 900 QM50T 10A-A
  • Rex RS Classic 50
  • Rex SPEEDY FLASH
  • Rex Stratos Chicago
  • SMC Flash SPEEDY
  • SMC Rexy 50
  • SMC RS 450
  • SMC Scooter
Produktgalerie überspringen

Kunden haben sich ebenfalls angesehen

Huatian HT50QT 16 Getriebe 50ccm 4Takt Automatik Motorroller.de Variomatik 50cc 4T Automatikgetriebe Variator CVT-Getriebe
Huatian HT50QT 16 Getriebe 50ccm 4Takt Automatik Motorroller.de Variomatik 50cc 4T Automatikgetriebe Variator CVT-Getriebe

zu Artikel: Variomatik Set komplett 87.5mm offen 139QMA 139QMB GY6 4Takt 50ccm Variomatik Set komplett 87.5mm offen 139QMA 139QMB GY6 4Takt 50ccm Technik-Info Variomatik Set auch zu finden unter: Automatik, Wandlergetriebe, Wandlereinheit, Variomatikkupplung, Automatikkupplung, Variomatik, CVT-Getriebe Die Variomatik ist das sufenlose Standard-Getriebe des Motorrollers. Sie bildet meist eine bauliche Einheit mit der Fliehkraftkupplung. Die Kraftübertragung erfolgt durch einen Antriebsriemen, der einem natürlichen Verscheiß unterworfen ist und daher regelmäßig gewechselt werden muss. Da die Lohnkosten hierbei der größere Kostenfaktor sind empfehlen wir die Antriebsriemen der Marken Bado oder Gates. Diese haben die höchste Laufleistung. Dieser Artikel wurde hergestellt für Fahrzeuge der Marke:Jonway und AGM Kostenloser Versand Bei Ersatzteilen für jeden zusätzlichen Artikel mit den gleichen Versandkriterien, den Sie von uns kaufen. Unsere Ersatzteile für ihren Roller bzw. Motorroller oder auch Scooter können Sie bequem online in unserem Shop kaufen. Egal ob sie Ihren Roller im Kaufhaus oder im Baumarkt gekauft haben, für alle gängigen Taiwan-, China-, oder Europa-Roller finden Sie bei uns passende Bauteile, insbesondere für die Motoren 50 cc, 125 cc, 250 ccm, 4takt, 2takt und für größere Leistungen. Speziell für die Motorentypen 150QMG ,GY6 ,139FMB ,153FMI, 156FMI ,157QMJ, 158MJ ,1E40QMB, 1E40QMA ,152QMI, 157QMI ,164FML ,125-4T6M ,139QMB, 139QMA, JSD139QMB in kurzen und langen Versionen in den Normen Euro1, Euro2, Euro3 sowie die neuen Euro 4 Einspritzer-Motoren finden Sie Ersatzteile von hoher Güte. Gerne können Sie auch per Email nach Ersatzteilen anfragen. Bei Bestellwerten über 100 Euro können Sie auch unseren Finanzierungs- bzw. Ratenkauf-Service nutzen. Beim Kauf von Fahrzeugen können wir Ihnen auch ein Leasing-Angebot unterbreiten, das bietet sich insbesondere für Firmen an, die Betriebsfahrzeuge anschaffen, oder ihren Mitarbeitern ein Fahrzeug zur Verfügung stellen. Wir freuen uns auf Ihre Anfrage.

Regulärer Preis:
Verfügbar
39,90 €
Rex Monza 50 Zündplatte 50ccm 4Takt Lichtmaschine Motorroller.de Stator 139QMB JSD50QT-13 50cc 4T 139QMA Ankerplatte Anker-Platte
Rex Monza 50 Zündplatte 50ccm 4Takt Lichtmaschine Motorroller.de Stator 139QMB JSD50QT-13 50cc 4T 139QMA Ankerplatte Anker-Platte

zu Artikel: Lichtmaschine mit außenliegendem pick up komplett mit Polrad (4 Kabel 1x2,2x1-Pol.) 8 Spulen 88mm und 2 Isolierten Spulen AC6 Regler 4 polig 139QMA 139QMB 4Takt 50ccmScheinwerfer Zündplatte mit außenliegendem pick up komplett mit Polrad (4 Kabel 1x2,2x1-Pol.)8 Spulen 88mm und 2 Isolierten Spulen AC6 Regler 4 polig 139QMA/ JSD139QMB Lichtmaschine komplett,einzeln Version 1 50ccm GY-6 China 4Takt  Lichtmaschine Komplett mit Kabelanschluss/Stecker und Pickup Sensor. Die Lichtmaschinen gibt es in 2 verschiedenen Versionen. Merkmale sind die isolierten Spulen. Die Version 1 verfügt über zwei isolierte Spulen und die Version 2 über eine isolierte Spule in der Wicklung. . Die Belegung des Hauptsteckers kann mit zwei oder Drei Pins erfolgt sein. Hier sehen Sie die abgebildet Version 1. Lichtmaschine einzeln Version 1 50ccm GY-6 China 4Takt. Technik-Info Zündplatte auch zu finden unter: Stromgenerator, Anker-Platte, Lichtmaschine, Licht-Maschine, Zuendplatte, Lichtmaschineneinheit, Zündplatte, Zuend-Platte, Ankerplatte, Zünd-Platte, Generator, Stator, Strom-Generator Lichtmaschine - Ersatzteil für RollerKaufen Sie bei uns eine komplette Lichtmaschine für Ihren Roller. Die Lieferung besteht aus Stator, einem außen liegenden Pick Up, sodass ein Drehzahlbegrenzer angeschlossen werden kann und einem Kabelsatz. Nutzen Sie diesen hochwertigen Komplettsatz Lichtmaschine für die günstige Reparatur Ihres Motorrollers, ohne auf teure original Ersatzteile zurückgreifen zu müssen, die meist keine bessere Qualität bieten! Lichtmaschine reparieren billig und in Erstausrüster Qualität. Kostengünstige Reparatur der LichtmaschineWenn Sie einen Defekt an der Lichtmaschine feststellen, kann dies auf viele Ursachen zurückzuführen sein. Wer kein teures Spezialwerkzeug zur Hand hat, kann nicht sicher sein, ob es sich um einen defekten Regler, eine durchgebrannte CDI-Zündeinheit, zu wenig Batterieladung oder einfach Zündungsprobleme handelt. Da viele dieser Schäden nicht repariert werden können, empfehlen wir Ihnen den Austausch der kompletten Roller Lichtmaschine. Dieser Artikel wurde hergestellt für Fahrzeuge der Marke:Jonway und AGM Kostenloser Versand Bei Ersatzteilen für jeden zusätzlichen Artikel mit den gleichen Versandkriterien, den Sie von uns kaufen. Unsere Ersatzteile für ihren Roller bzw. Motorroller oder auch Scooter können Sie bequem online in unserem Shop kaufen. Egal ob sie Ihren Roller im Kaufhaus oder im Baumarkt gekauft haben, für alle gängigen Taiwan-, Europa-, oder China-Roller finden Sie bei uns passende Bauteile, insbesondere für die Motoren 50 cc, 125 cc, 250 ccm, 4takt, 2takt und für größere Leistungen. Speziell für die Motorentypen 153FMI, 156FMI ,139FMB ,139QMB, 139QMA, JSD139QMB ,150QMG ,1E40QMB, 1E40QMA ,GY6 ,152QMI, 157QMI ,125-4T6M ,164FML ,157QMJ, 158MJ in kurzen und langen Versionen in den Normen Euro1, Euro2, Euro3 sowie die neuen Euro 4 Einspritzer-Motoren finden Sie Ersatzteile von hoher Güte. Gerne können Sie auch per Email nach Ersatzteilen anfragen. Bei Bestellwerten über 100 Euro können Sie auch unseren Ratenkauf- bzw. Finanzierungs-Service nutzen. Beim Kauf von Fahrzeugen können wir Ihnen auch ein Leasing-Angebot unterbreiten, das bietet sich insbesondere für Firmen an, die Betriebsfahrzeuge anschaffen, oder ihren Mitarbeitern ein Fahrzeug zur Verfügung stellen. Wir freuen uns auf Ihre Anfrage. Ein Element ist schadhaft - soll es repariert oder besser gleich ausgetauscht werden?Wird mal irgendetwas am Roller fehlerhaft, dann hat man allgemein zwei Möglichkeiten: Reparieren oder Austauschen. Da ist es unerheblich, ob es sich dabei um einen ganz egal, ob sich um einen Elektroroller bzw. E-Roller, Dreirad-Roller oder Motorroller handelt. Ein neues Bauteil, das relativ rasch gewechselt werden kann, ist nicht nur preisgünstiger, sondern bietet obendrein eine erheblich höhere Ausfallsicherheit als nach einer Instandsetzung des Motorrollers. Bisweilen kann man einen nicht sogleich selber finden und eine kompetente Werkstatt muss feststellen, weswegen der Roller Probleme macht. Eine gute Alternative wäre es dann, eines unserer einbaufertigen Ersatzteil-Kits, welche wir in vielen diversen Ausführungen anbieten, zu ordern. .Bauteile von bester QualitätDie Qualität all unserer Komponenten hat Weltmarktniveau. Wie kommt es, dass wir so günstig sein können? Die Antwort heißt: Weil wir auf wirtschaftlich sinnvolle Einkaufsmengen der Bauteile achten. Bei uns kriegen Sie deshalb alle lieferbaren Komponenten für Ihren Roller nicht lediglich in guter Qualität, sondern auch für einen attraktiven Preis. Auch für Roller, Quads und Buggys, die nicht mehr gefertigt werden, haben wir generell die Ersatzteile auf Lager. So zum Beispiel für die Marken Sundiro und Eppella.Klarerweise liefern wir auch Originalteile vom Fahrzeughersteller, obschon unsere Nachbauten einen qualitativen Vergleich mit dem Erstausrüster-Produkt nicht scheuen müssen, aber prinzipiell erheblich kostengünstiger sind. Mit unseren Ersatzteilen können Sie die Instandsetzung Ihres motorisierten Zweirads selber bewerkstelligen beziehungsweise auch von einem Fachmann machen lassen. Ohne Zweifel finden Sie keine andere Alternative, in Verbindung mit der Reparatur Ihres Zweirads, um einiges an Geld zu sparen.Eine große Hilfe bei der Bestellung der richtigen Bauteile sind die einzelnen ProduktbilderBei den Beschreibungen finden Sie auf unserer Website auch entsprechendes Bildmaterial. Dadurch können Sie sofort Ihr defektes Teil mit dem lieferbaren Ersatz vergleichen und gehen somit sicher, dass Sie nachher auch wirklich den benötigten Artikel erhalten. Es ist dabei von Bedeutung, dass das Element, das Sie tauschen möchten, nicht lediglich visuell, sondern auch in den Spezifikationen und Maßen mit Ihrer Bestellung zusammenpasst. Auf welche Weise Sie davon profitieren:Absolute Fahrsicherheit des Zweirads, vor allem bei BremsanlagenSie bekommen von uns immer die Erstausrüster-Qualität - auch bei preiswerten NachbautenKurzfristige LieferzeitenDank unserer "Geld zurück" - Garantie kaufen Sie ohne RisikoWir kaufen Ihr FahrzeugUnser Lager umfasst Einbauelemente und Artikel für circa 250 Marken und 8500 ModelleUnsere sämtlichen Einbauteile sind betriebssicher, gebrauchstauglich sowie kostengünstigSie bezahlen bei Bestellung mehrerer Komponenten mit identischen Versandbedingungen nur einmal VersandkostenHol- und BringservicePräzisionsfertigung nach DIN-NormWir sind der erste Ansprechpartner, wenn es um den Kauf von einem Roller, Quad, Fun-Fahrzeug oder Straßenbuggy geht. Wozu sollten Sie sich an uns wenden? Weil wir uns in diesem Geschäftsbereich bereits seit Jahrzehnten etabliert haben und Sie folglich von unserer gewonnenen Erfahrung profitieren können. Wir betreiben nicht ausschließlich unser Geschäft rund um die Roller, wir leben es regelrecht. Kaufen ist Vertrauenssache, deswegen ist es erforderlich, sich seinen Lieferanten zuerst genau anzusehen. Unsere Geschäftspraktiken sind für die Kundschaft hundertprozentig transparent! Sie dürfen gerne jederzeit bei uns vorbeikommen und sich persönlich ein Bild machen.Den Vertrauensbeweis erhalten Sie dann vor Ort auf gewisse Weise schwarz auf weiß.Interessenten, denen der Weg zu uns zu weit ist, können sich von zu Hause aus mittels der unterschiedlichen Ebay Bewertungen und des Trustedshops-Siegels über uns kundig machen. Unsere Homepage Motorroller.de wird zum Beispiel von Trustshops als "sehr gut" beurteilt. Das betrifft sowohl unseren Internetshop als auch unsere Geschäftspraxis. Über diese Einstufung sind wir zu Recht sehr Stolz. Der Bewertungsfaktor von zirka 99,9 Prozent bei Ebay in den Käuferbewertungen kann sich gleichfalls sehen lassen. All diese Resultate lassen zweifelsohne nur einen einzigen Schluss zu: Unsere Kunden sind mit uns durchweg zufrieden! Bitte denken Sie daran, dass dort wo gearbeitet wird, auch Fehler passieren. Seien Sie demzufolge nicht gleich ärgerlich, falls mal etwas schief läuft, sondern geben Sie uns die Möglichkeit, unseren Fehler wieder gut zu machen.Unser Fachgeschäft hat für Sie geöffnet: jeden Tag von 8:00 - 18:00 Uhr, samstags von 9:00 - 13:00 Uhr.Die Fakten unseres UnternehmensBei uns ist der Kunde noch König. Vor über fünf Jahrzehnten starteten wir mit dem Maschinenbau, während sich das Geschäft mit Zweirädern heute auch schon seit mehr als 25 Jahren Erfolg versprechend etablieren konnte. Wir haben uns mittlerweile vorrangig auf Zubehör, Einbauteile und das "Nice-to-have" zur Leistungssteigerung für die meist gefahrenen Roller spezialisiert.Wir können zeitnah über 500.000 Zubehörteile liefernWer auf der Suche nach einem preisgünstigen Fahrzeug oder Einbauteil für seinen fahrbaren Untersatz ist, der findet bei uns unter Motorroller.de bestimmt das geeignete Element. In unserem Lager befinden sich für ca. 8500 Typen und 250 Marken diverse Artikel, Einbaukomponenten und passendes Zubehör. Zu unseren Lieferanten gehören beispielsweise Anbieter wie Yamaha, Jonway, Kreidler oder Adly. Alles in allem haben wir auf einer Lagerfläche von über 1.000 m² etwa 500.000 Produkte von unterschiedlichen Herstellern in unserem Hochregallager sofort lieferbar. Im Zubehörbereich finden Sie alles, was man als Rollerfahrer braucht. Das beginnt beim Top Case über die Sturzhelme und den Windschildern, und geht bis hin zu Handschuhen, Regensets und Nierengürteln.In unserem Tuningbereich halten wir für alle, die es lieber sportlich mögen gleichfalls einige ausgesuchte Artikel bereit. Dazu zählen zum Beispiel Kolben, Zylinder, Auspuffanlagen und dergleichen Dinge.Unmittelbar nach der ProduktionAbsolute Prüfung der Qualität ist unsere Leidenschaft. Mit anderen Worten, bevor wir einen Motorroller in die Hände des Kunden übergeben, wird er von uns nochmals auf einwandfreie Funktion und Fehlerfreiheit untersucht. Nachdem die Fahrzeuge bei uns im Haus angekommen sind, wird jedes einzelne Zweirad ausgepackt und zunächst einer visuellen Prüfung beziehungsweise einem Probelauf auf unserem computergesteuerten Prüfstand unterzogen. Gleich nach der Lieferung zum Käufer wird dann der Roller am Ende noch einmal auf tadellose Funktion gecheckt, sodass de facto gewährleistet ist, dass der Kunde ein 100-prozentig einwandfreies Gefährt bekommt.Wir legen Wert auf eine saubere UmweltWir tragen zum Schutz unserer Umwelt bei. Unsere Motorroller haben einerseits im Allgemeinen einen wirtschaftlichen Motor. Bei der Auslieferung unserer Fahrzeuge fällt ohne Ausnahme Verpackungsmaterial an. Diese nehmen wir klarerweise wieder mit und führen sie einer professionellen Müll-Entsorgung zu.Roller-AnkaufNach dem Kauf eines neuen Motorrollers aus unserem Zweiradprogramm möchten Sie sich von Ihrem ausgedienten Gefährt trennen? Kein Problem! Wir kaufen Ihren gebrauchten Roller an.Sie sind immer noch skeptisch?Geben Sie uns doch die Möglichkeit, unsere fachliche Kompetenz zu beweisen. Wir gehören nicht zu den billigen Verkaufsshops, welche heute ihre Produkte anbieten und morgen schon wieder verschwunden sind. Lediglich zufolge fortschrittlicher Innovationen und neuer Ideen lässt sich eine stabile geschäftliche Basis schaffen. Folglich steht in unserem stetig expandierenden Betrieb Anpassung an neue Technologien und fortwährendes Lernen immer an erster Stelle. Falls für Sie mal die Möglichkeit besteht, einen Abstecher nach Lindenfels-Eulsbach machen zu können, können Sie die Gelegenheit nutzen, sich selbst in unserem Unternehmen von unserem ausgezeichneten Service zu überzeugen.Wo unser Unternehmen zu Hause istSofern Sie über die Autobahn mit dem eigenen Fahrzeug anreisen, führt die Strecke nach Lindenfels entweder über Stuttgart, Karlsruhe und Mannheim (A8) oder über Frankfurt/Main (A6). Der Ort liegt im Regierungsbezirk Darmstadt. Logischerweise kann man anhand der guten Verkehrsanbindung auch völlig bequem per Bahn hinfahren.Unsere TopmarkenUnsere Topmarken

Regulärer Preis:
Verfügbar
109,90 €
Rex Stratos Chicago FussAbdichtung Fußdichtung 50ccm Motorroller.de ZylinderFußdichtung Zylinder-Dichtung Zylinderdichtung 2Takt 1E40QMB
Rex Stratos Chicago FussAbdichtung Fußdichtung 50ccm Motorroller.de ZylinderFußdichtung Zylinder-Dichtung Zylinderdichtung 2Takt 1E40QMB

zu Artikel: Dichtung Zylinderfuß 2Takt 50ccm liegender Minarelli Motor AC 1E40QMB 31131604 Rex-278832 Dichtung Zylinderfuss 2Takt 50 ccm liegender Minarelli Motor AC 1E40QMB Motortyp: 1E40QMB Technik-Info FussAbdichtung auch zu finden unter: Dichtung Zylinderfuß, Dichtung Zylinderfuss, Zylinderfussdichtung, Dichtung Zylinder unten, Zylinderfuß-Dichtung, Zylinderfuss-Dichtung, Zylinderdichtung, Zylinder-Dichtung, Fußdichtung, Fussdichtung, Fuß-Dichtung, Fuss-Dichtung, Abdichtung Zylinderfuß, Abdichtung Zylinderfuss, ZylinderfussAbdichtung, Abdichtung Zylinder unten, Zylinderfuß-Abdichtung, Zylinderfuss-Abdichtung, ZylinderAbdichtung, Zylinder-Abdichtung, FußAbdichtung, FussAbdichtung, Fuß-Abdichtung, Fuss-Abdichtung Ob Einzeldichtung oder Dichtsatz, bei uns erhalten Sie stets die Qualitätsstufe wie beim Original-Hersteller. Wenn Sie etwas an der Variomatik arbeiten oder auch nur wenn der Deckel geöffnet wird, sollte die Dichtung immer getauscht werden Dieser Artikel wurde speziell hergestellt für:Rex Stratos Chicago 50ccm 2Takt Erstausrüsterqualität sehr gute Verarbeitung sofort lieferbar Unsere Ersatzteile für ihren Scooter bzw. Motorroller oder auch Roller können Sie bequem online in unserem Shop kaufen. Egal ob sie Ihren Roller im Baumarkt oder im Kaufhaus gekauft haben, für alle gängigen Europa-, China-, oder Taiwan-Roller finden Sie bei uns passende Bauteile, insbesondere für die Motoren 50 cc, 125 cc, 250 ccm, 2takt, 4takt und für größere Leistungen. Speziell für die Motorentypen 150QMG ,1E40QMB, 1E40QMA ,164FML ,157QMJ, 158MJ ,125-4T6M ,139QMB, 139QMA, JSD139QMB ,153FMI, 156FMI ,139FMB ,GY6 ,152QMI, 157QMI in kurzen und langen Versionen in den Normen Euro1, Euro2, Euro3 sowie die neuen Euro 4 Einspritzer-Motoren finden Sie qualitativ erstklassige Ersatzteile. Gerne können Sie auch per Email nach Ersatzteilen anfragen. Bei Bestellwerten über 100 Euro können Sie auch unseren Finanzierungs- bzw. Ratenkauf-Service nutzen. Beim Kauf von Fahrzeugen können wir Ihnen auch ein Leasing-Angebot unterbreiten, das bietet sich insbesondere für Firmen an, die Betriebsfahrzeuge anschaffen, oder ihren Mitarbeitern ein Fahrzeug zur Verfügung stellen. Bitte fragen Sie an.

Regulärer Preis:
Verfügbar
4,90 €
Roller Daelim VS 125 125ccm 4Takt Vorort Service Home Mobil Motorroller.de Kundendienst Werkstatt Reparatur Wartung Bus Wagen Inspektion Ersatzteil
Roller Daelim VS 125 125ccm 4Takt Vorort Service Home Mobil Motorroller.de Kundendienst Werkstatt Reparatur Wartung Bus Wagen Inspektion Ersatzteil

zu Artikel: Roller Mobil Service Inspektion und Reparatur Unser Vorort Service bietet Ihnen eine Menge Vorteile und Sie können Ihre Inspektion oder Reparatur ganz bequem über unseren Shop bestellen. Wir kommen mit einer vollfunktions tüchtigen Werkstatt zu Ihnen nach Hause oder zu Ihrer Arbeitsstelle. Es führen ausschließlich Fachkräfte die Inspektionen und Reparaturen an Ihrem Motorroller durch. Inspektion Folgende Leistungen sind im angebotenen Preis enthalten: 1/2 Stunde Arbeitszeit Anfahrt zu Ihnen deutschlandweit (ohne Inseln) Die Inspektionen können wir an den meisten taiwanesischen und chinesischen Hersteller-Modellen durchführen, vorzugsweise: Adly, AEON, AGM, ATU, Baumarktroller, Baotian, Benzhou, Chinaroller, Eppella, Generic, Jack Fox, Jonway, Kreidler, Nova Motors, PGO, Quinqi, Rex, SI Zweirad, SMC, STM, Znen oder an Folgende Motorentypen 1E40QMB 2 Takter 50ccm, 139 QMA, 139 QMB 4 Takter 50ccm, 152 QMI 4 Takter 125ccm, 157 QMI 4 Takter 150ccm, andere Modelle auf Anfrage. Bei anderen Herstellern bitten wir Sie die Ersatz- oder Zubehörteile nach dem beantragen der Inspektion in unserem Onlineshop zu bestellen, damit diese bei Ihnen Vorort zum Einbauen bereit sind. Reparatur: Folgende Leistungen sind im angebotenen Preis enthalten: 1/2 Stunde Arbeitszeit Anfahrt zu Ihnen deutschlandweit Mehraufwand und zusätzliche Ersatzteile werden extra berechnet und müssen direkt beim Monteur bar bezahlt werden. Wenn durch einen Unfallschaden Ersatz- oder Zubehörteile benötigt und verbaut werden sollen, bestellen Sie diese bitte vor dem beantragen der Reparatur in unserem Onlineshop, damit diese durch unseren Moteur Vorort eingebaut werden können. Nie mehr zur Werkstatt, denn wir kommen zu Ihnen nach Hause oder zu Ihrer Arbeitsstelle. Nutzen Sie unseren deutschlandweiten Heimservice. Ablauf:Nach Bestellung erhalten Sie eine Bestellbestätigung per E-Mail, bitte antworten Sie darauf und senden Sie uns Bilder des Fahrzeugs, sowie der Fahrzeugpapiere/COC-Papiere (Vorder- und Rückseite) zu. Schreiben Sie bitte dazu was am Fahrzeug gemacht werden soll (Inspektion oder Reparatur), geben Sie den aktuellen Kilometerstand an und beschreiben Sie Fehler, die auftreten und was Sie ggf. bereits dagegen unternommen haben. Nach Eingang der Fahrzeuginformationen und dem Zahlungseingang, bekommen Sie schnellstmöglich einen Termin für Ihren Service/Ihre Reparatur von uns per E-Mail mitgeteilt. Diesen stimmen wir dann mit Ihnen ab und wenn der Termin feststeht, planen wir Sie sofort in die nächste Tour ein. Die Vorlaufzeit für diesen Service beträgt nach Zahlungseingang ca. 14 Tage.

Regulärer Preis:
Kurzfristig lieferbar
134,40 €